Г
В
Б
Структура БЗ при прямом поиске в глубину
Структура БЗ при прямом поиске в ширину:
Структура БЗ при обратном поиске в глубину:
![]() |
Структура БЗ при обратном Структура БЗ при начальном
поиске в ширину: заполнении БЗ:
![]() |
Структура БЗ при конце редактирования БЗ:

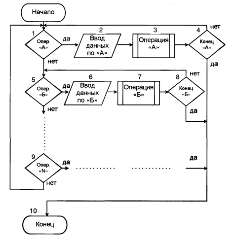
Дерево состояний, представленное на Рис.1,а, можно представить в виде системы правил (1,6) при прямом поиске в глубину; или при прямом поиске в ширину (1,в).
При обратном поиске в глубину - (1,г) или обратном поиске в ширину-(1,д).
При таком подходе к заполнению БЗ на практике оно не осуществляется. Это связано с тем, что такой подход требует детального знания и анализа предметной области.
Практически, дерево состояний из-за сложности предметной области и большого числа состояний не известно, и задача инженера по знаниям состоит в том, чтобы получить от эксперта информацию в виде правил, которым соответствовало бы некоторое выбираемое (виртуальное) дерево состояний. В этом случае на начальном этапе заполнения Б.З. система правил, которая получена от эксперта выглядит так, как представлено на рисунке 1,е.
|
|
|
Анализируя представленные фрагменты отражения правил, можно отметить следующее:
1. имеется оборванная незаконченная цепочка правил, не хватает правила (если В то D)
2. имеется ошибочное правило (если В то F)
В этом случае задача инженера по знаниям заключается в выявлении всех оборванных цепочек, их дополнении, если это возможно, такими правилами, которые ведут к цели. А если этого нет, правило исключить, если есть ошибки.
Рассмотренные функции инженера по знаниям - довольно сложная задача, поэтому в настоящее время ведутся работы по созданию таких систем, которые автоматически генерируют «правильные» деревья состояний по информации, получаемой от эксперта. Такие системы анализируют полученную от экспертов информацию в виде правил «если
то», устанавливают в ней логически связи типа «или», «и» и систематизируют правила и их связи в виде «бездефектного» дерева. Причём, порядок следования правил соответствует порядку просмотра вершин дерева (сначала
вглубь). Таким образом, задача наполнения БЗ определёнными правилами фактически сводится к эмпирическому построению бездефектного дерева состояний, внешние формы представления которого в БЗ являются системой правил продукции.
Стадия применения пользователем
Рассмотрим функционирование ЭС на стадии её применения пользователем. В частном случае рассмотрим ситуацию БЗ в виде рисунка (1,ж).
В этом случае в машине вывода (см. рисунок Архитектура ЭС) реализуется стратегия прямого поиска в глубину. Состояния А,В,С в правилах тождественны с некоторыми типами инструментов по обработке деталей (различные типы резцов), а целевые вершины D.E.F дерева соответствуют именам технологических операций, для выполнения которых необходимы соответствующие резцы (инструменты). Так, для выполнения операции F или Е нужны инструменты А и С, которые связаны правилом (если есть инструмент А, то для его работы нужен инструмент С)
|
|
|
ЭС решает задачу определения имени операции, которую можно выполнить, имея известный набор инструментов. Для функционирования ЭС пользователь должен сначала ввести в рабочую память имена имеющихся у него инструментов (А и С). В этом случае машина вывода составит имя А с условиями «если... то» всех правил и выделит то правило, в котором это условие совпадает с именем А. В ЭС эта операция называется «поиск по образцу» или «составление образцов».
В рассмотренном случае (рис 1,а) будет выделено и активизировано правило «если А, то В или С». В соответствии с алгоритмом поиска в глубину, сначала нужно до конца исследовать ветвь дерева, проходящую через вершину В, при неудаче - по вершине С.
Активизация правила «если А, то В или С» приведёт к тому, что в левых частях всех правил вместо имени А будет записано правило В (у нас такого нет).
На следующем шаге работы ЭС будут сопоставляться образцы А и С со стороны рабочей памяти, и образец со стороны БЗ. В нашем примере совпадения не будет, т.е. в вершине В поиск потерпит неудачу. Это означает, что в соответствии с алгоритмом поиска в глубину произойдёт возврат назад к вершине А и будет активизировано правило «если А то С». Сопоставление факторов А и С и нового образца С вызовет активизацию правила «если А, то Е или F». В нашем примере новым образам нет сопоставимых факторов и поиск закончился выдачей имён операций Е и F.
Рассмотренный пример - простейший. В реальных ЭС число правил составляет сотни и тысячи. В нашем простейшем примере активизация правил определяется только наличием сопоставимого образца внешнему фактору, который вводится пользователем. В ряде случаев какого-то k-того правила может быть вызвана также по умолчанию на основе того, что в результате предыдущего шага работы ЭС активизируется j-е правило, правая часть которого совпала с левой частью правила k.
Пример:
Если k-тое правило имело вид «если А>В и В>С то А>С», а f-тое правило имело вид «если А>С то A>D» то в этом случае активизация k-того правила выделит в качестве образца для сравнения высказывание «А>С», что в свою очередь на следующем шаге активизирует j-тое правило и приведёт к новому образцу A>D.
В рассмотренном случае активизация правил на каждом шаге вызывается не внешними факторами, а внутренними, которые появляются в процессе логического вывода.
Из рассмотренного примера видно, что вместо двух приведённых выше правил можно записать одно - «если а>b и b>с то A>D»
Однако, на практике такие сложные правила далеко не всегда очевидны. В этом случае эксперту, в принципе, проще структурировать свои знания в виде более простых правил, а логическая связь между ними устанавливается внутри ЭС. Из рассмотренного примера следует, что в результате работы ЭС правила БЗ модифицируются автоматически путём соответственной замены левых и правых частей, то есть содержание БЗ в процессе работы ЭС динамически изменяется.
Многообразие предметных областей, в которых применяются ЭС не позволяет нам описать все особенности их работы в этих областях. Необходимо отметить только следующие: каждая предметная область накладывает свои существенные отпечатки на построение ЭС, выбор способа представления знаний и тип машины вывода. Необходимо отметить основные трудности при разработке ЭС и ограничения на области их применения.
|
|
|
Существующие ЭС хорошо приспособлены для работы с такими знаниями, которые построены по принципу «причина – следствие», и плохо приспособлены для работы со знаниями, которые характеризуются временем и пространством. ЭС также плохо работает при решении задач не специальных, а общих знаний, основанных на «здравом смысле». Это связано с тем, что модели таких знаний очень сложны. Плохо распознают ЭС ограничения своих возможностей, не могут ответить на вопрос, чего они не знают. При большом числе правил часто возникают случаи конкурирующих и конфликтных правил, нарушающие нормальную работу ЭС. (при создании ЭС как можно больше правил не связанных и простых).
Большинство разработанных в короткое время ЭС (до 1 года) носят только демонстрационный характер.
Создание коммерческих или промышленных ЭС весьма трудоёмкий процесс (занимает 10-20 человеко-лет).
Несмотря на отмеченные недостатки разработки, ЭС развиваются быстрыми темпами. Созданные ЭС, способные к открытиям, быстродействующие, работают в реальном масштабе времени.
Информационное обеспечение АСУ
Для принятия решений необходимо иметь, как отмечено ранее, концептуальную и информационную модели ОУ.
В АСУ информационная модель получила название «Информационное обеспечение» (ИО). В понятие ИО входит следующее:
1. Организация и модель потоков информации при решении конкретной функциональной задачи.
2. Датчики информации, то есть носители конкретной информации для конкретной функциональной задачи.
3. Классификация информации - это способ систематизации большого объёма информации по различным классам и группам
4. Организация информации на машинных носителях. Под этим понимают построение структур БД.
Организация и модель потоков информации
Для решения конкретной функциональной задачи всегда определяется источник информации, носитель информации, направление перемещения информации, объём информации, перемещение по конкретному каналу, периодическое поступление информации.
Рассмотрим конкретный пример модели информационных потоков.
|
|
|

Как было рассмотрено ранее, в основе управления лежит организационная структура. Так например, согласно рисунку, бухгалтерия решает задачи, связанные с балансом деятельности предприятия в денежном выражении, поэтому основным выходом бухгалтерии является баланс плана производства и трудовых ресурсов в денежном выражении. Такой баланс осуществляется ежемесячно в виде 10-15 форм документов, заполнение которых -75%. Для решения задач (4) источники информации:
· П.О.
· Производственное обеспечение
· O.K. (направляет соответствующие данные по своим каналам (1). (2), (3)
Каждый из отмеченных каналов имеет также время (периодичность) передачи информации, объём в виде форм документов, а также заполнение этих форм. Естественно, что для бухгалтерии источником информации являются каналы 1, 2, 3. Между тем, в системе для каждого из отмеченных отделов также нужна информация, которая поступает от других источников. В каналах 1, 2, 3 выделяют условно постоянную информацию и переменную информацию.
Условно постоянная информация
Для решения конкретных задач (например, бухгалтерского учёта) часть информации не изменятся, то есть концептуальная модель (структура паказателей, алгоритмы решения и т.д.) не изменяется длительное время. Однако, из года в год, (со временем) алгоритмы могут изменяться (концептуальная модель изменяется), поэтому, такие данные называют условно постоянными
Переменная информация
Если при выполнении разовых расчётов (ежемесячно), информация меняется, то она называется переменной информацией. В нашем конкретном случае переменной информацией могут являться числовые данные, ежемесячно поступающие по каналам 1, 2, 3.
Датчики информации
Следует различать несложные и сложные датчики информации. К несложным относятся те, которые оценивают результат в виде скаляра или вектора (t, p,
). В технических системах обычно используются несложные датчики информации. В сложных системах типа АСУ датчиками информации являются многопараметрические матрицы - сложные датчики информации.
Сложные датчики информации. Основными датчиками информации в АСУ является документ, то есть юридическая бумага. Документ является многопараметрической матрицей, которая оценивается следующими реквизитами:
1. Данные, которые обрабатываются аналитически (+, -, х,: и т.д.)
2. Данные, которые сопоставляются качественно (=, <, >, хорошо, плохо и т.д.)
3. Данные, которые сопоставляются либо с другой матрицей, либо оцениваются ЛПР, исходя из собственного опыта.
4. Реквизит, характеризующий всю матрицу, в частности с позиции социально-экономического генотипа ЛПР. Это выражается в виде должности ЛПР и его конкретной персоны (ФИО).
5. Показатель, отражающий время, когда было принято решение. Обычно, документ, как сложный датчик информации, оформляется следующим образом:

При создании сложного Датчика Информации (ДИ) в виде документа, особая роль принадлежит достоверности представления информации. Существуют способы контроля достоверности информации в документе. Эти способы делятся на две принципиальные группы:
1. формализованный контроль
2. субъективный контроль
Формализованный контроль.
Суть состоит в том, что некоторые математические операции над данными должны совпадать в различном направлении тела документа.

Субъективный контроль
В ряде случаев не удаётся построить документ с необходимой степенью формализованного контроля. Тогда используется субъективный контроль, который заключается в следующих операциях:
1. Ввод данных в ЭВМ осуществляется двумя или более людьми независимо друг от друга. В ЭВМ осуществляется сравнение результатов ввода: если данные совпадают - хорошо, нет - искать ошибку.
2. Информацию вводит специалист, владеющий содержательными знаниями о вводимых цифрах. В этом случае ввод информации отображается на экран.
Унифицированные системы документов (УСД)
При составлении документов возникает противоречие между ЛПР и возможностями техники. Суть противоречий лежит между желанием ЛПР иметь в документе как можно больше информации и возможностями технических средств в части отображения этой информации. Так, например, дисплей имеет ограниченный размер (матрицу точек по вертикали и горизонтали), принтер имеет ограниченную площадь печатной поверхности. Это противоречие решается либо путём установки ряда дисплеев у одного ЛПР, либо «листанием" документов на экране дисплея.
Ежегодно на средних предприятиях (хлебозавод) обращается различная информация - несколько десятков миллиардов единиц. Большая часть из них хранится в памяти ЭВМ и в различных документах. Несмотря на большую скорость обработки информации компьютером, необходимо предварительно всю информацию определённым образом систематизировать. В АСУ такая систематизация получила название Классификация и Кодирование Информации.
Любой классификатор состоит из двух частей:
| (1) | (2) |
1- реквизит-признак 2 - реквизит-основание
(1) - характеризует основную характеристику информации с позиции принадлежности информации какому-нибудь классу. Например, классификатор (класс) - территориальное деление государства, классификатор услуг, организация предприятия.
(2) - есть числовая характеристика классификатора, который иногда называется кодом конкретной информации. Например, код г. Москва - 095 (в территориальном делении РФ)
Имеется ряд способов классификации и кодирования информации. В организационно-экономических системах эти классификаторы получили название классификаторов технико-экономической информации (КТЭИ).
В практике используются следующие методы классификации ТЭИ:
1. Иерархический способ
2. Фасетный способ
Иерархический способ классификации ТЭИ
В этом способе всё множество разбивается на ряд взаимоподчинённых подмножеств. В этом случае, когда надо дать код какому-то конкретному объекту, необходимо указать место этого объекта во всех подмножествах. Характерным примером иерархического способа является классификатор предприятия (организации) какой-либо отрасли.
Рассмотрим классификацию хлебозаводов г. Москва. В Москве есть более тысячи хлебозаводов. Чтобы организовать производственно-эксплуатационную деятельность этого вида отрасли и связь её с другими областями, необходимо чётко классифицировать эти объекты.
(01- 99) (01 - 99)

Iур х х Iур х х порядковый номер хлебозавода
порядковый номер округа Г. Москвы

Фасетный способ классификации ТЭИ
Иерархический способ применяется тогда, когда единиц классификации множества много: тысячи, десятки тысяч и т.д. В том случае, когда единиц классификации немного (порядка 10) достаточно различные единицы пронумеровать в любом порядке - фасетный или порядковый способ. Характерным примером является классификация каких-либо операций. Например, причины аварийной ситуации на объекте:
1. Отсутствие электроэнергии
2. Пожар
3. Прорыв водопровода
Различают КТЭИ также по области их применения.
Области применения КТЭИ.
В зависимости от величины набора функциональных задач, где приходится классифицировать информацию, различают следующие уровни классификаторов:
1. Международные классификаторы ТЭИ
2. Общегосударственные классификаторы ТЭИ
3. Отраслевые КТЭИ
4. Общесистемные КТЭИ
5. Локальные КТЭИ
1. Если приходится решать задачи, охватывающие взаимодействия различных систем, как внутри государства, так и между государствами, разрабатывать и использовать международные КТЭИ (например, классификаторы государств и их территориальных делении. Индекс)
2. В каждом государстве строятся свои классификаторы. Например, классификатор продукции.
3. Для решения задач внутри отрасли, разрабатываются свои классификаторы (пример хлебозаводов)
4. Если для решения задач в конкретной системе АСУ используется единый классификатор, то он называется общесистемным КТЭИ.
5. Если для решения задачи (конкретной) используется свой классификатор, то он называется локальным.
Чем выше уровень классификатора (то есть меньше порядковый номер), тем более громоздок и большей размерности реквизит основания классификатора. Это связано с тем, что при помощи такого КТЭИ решается большее число задач.
Методы организации БП.
Для решения функциональных задач при помощи ЭВМ необходимо информацию разместить на машинных носителях. В настоящее время наибольшее распространение получила организация информации БД на ЭВМ. Существуют следующие способы:
1. Иерархический
2. Реляционный
3. Сетевой
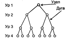
Иерархический способ организации БД. Представляет собой перевёрнутое дерево.
При таком способе организации БД, информация распространяется по узлам, а поиск конкретных данных идёт строго по соответствующим дугам.
Преимущества: поиск данных осуществляется детерминировано (не случайно) и требует малого времени.
Недостатки: при необходимости введения либо новых уровней, либо числа узлов на уровне, требуется «переделка" всей структуры БД.
Реляционный способ организации БД. В основе данного способа организации информации лежит принцип отношения, которое заранее задаётся между отдельными множествами. Этот способ можно представить в виде матрицы доменов и кортежей. Он был предложен одной из американских фирм организации БД в ПК. Разработчики называют!!!!!! строки.
В каждом сегменте а или b размещаются конкретные данные, либо алгоритм (формулы) операций между данными конкретных сегментов.
Преимущества: в данной структуре нет необходимости при её развитии менять предыдущие правила.
Недостатки: размещение данных в каком-либо сегменте осуществляется случайным образом. В этом случае, для поиска конкретных данных в этом сегменте требуется осуществить полный перебор данных в конкретном сегменте.
В современных системах машинной организации БД, используется реляционный способ, несмотря на отмеченные его недостатки. Это связано с тем, что сдерживающим фактором развития компьютерной техники является дефицит объёма помещения данных в компьютере.
Сетевой способ организации БД
Сетевой способ представляет собой синтез иерархических и реляционных баз данных.
При обработке больших массивов данных в сетях ЭВМ, используются распределённые БД.

В каждом узле такой базы организация данных осуществляется реляционным способом, но заранее известно, какое множество данных находится в каждом узле. Это определяется дугами между узлами. В атом случае, если из узла А требуется найти какое-либо конкретное данное других узлов, например узла Б, нет необходимости делать полный перебор всех узлов, маршрут известен.
В этой системе используются преимущества как иерархической, так и реляционной БД.
Алгоритмизация функциональных задач АСУ
В классической схеме описания функциональных задач для решения их на ЭВМ можно выделить следующие процедуры:
1. Содержательное описание
2. Формализованное описание (математическое моделирование)
3. Информационное описание
4. Алгоритмическое описание
5. Программирование
Отмеченные первые три метода (кроме уже рассмотренных ранее) ещё не пригодны для ввода их в ЭВМ средствами лингвистического обеспечения компьютера.
Лингвистическое обеспечение компьютера – формализованные языки, которые описывают логические операции, проводимые компьютером.
Для сопряжения первых трёх способов описания формализованных задач с лингвистическими языками компьютера, необходимо выполнить операцию алгоритмизации задачи.
Алгоритмизация разбивается на 2 этапа:
1. Рекуррентное отображение математической модели.
2. Построение блок-схемы рекуррентных отношений Рекуррентное отображение любой математической зависимости - есть функционал
. Где
- конкретное число на n-ной итерации предыдущего значения
по правилу f.
Для того, чтобы разговаривать на языке схем, необходимо договориться об элементах этого языка. С этой целью в мировой системе разработки АСУ применяются ГОСТы. Выделим основные элементы стандартизированного языка построения блок-схем рекуррентных отношений.
В каждом значке словами вписывается рекуррентная процедура. При описании взаимодействия отдельных процедур блок-схемы рекуррентных отношений, кроме словесных описаний, даётся математическая рекуррентная запись.
![]() |
Элементарная процедура рекуррентного вычисления
Сложное рекуррентное вычисление
Процедура ввода исходной информации
Процедура сравнения
Процедура начала или конца блок-схемы
Блок схема алгоритма (диалоговый режим):

ПО АСУ можно представить в виде следующей схемы:

ОС - это комплекс программ, взаимоувязанных в систему, которые организуют работу как компьютера, так и всех прикладных программ для решения конкретных функциональных задач.
Машинное ПО - драйверы - это специальные программные средства, выполненные на машинных языках программирования с целью управления отдельными элементами вычислительного комплекса. (Например драйверы принтера, сканера и т.д.)
Типовые пакеты прикладных программ - ТППП - для решения функциональных классов задач на ЭВМ опыт позволил систематизировать и рекомендовать пакеты программ, которые не зависят от конкретных функциональных задач. Например, при решении задач линейного программирования (оптимизация задач) имеется ряд пакетов решения таких задач в зависимости от размера матрицы показателя этих задач, а также операционной среды.
Функциональные программы - ФП - В каждой конкретной функциональной задаче помимо отнесения её к какому-то классу, для которого можно использовать ТППП, имеются свои специфические требования, например, анализ и прогноз ситуации, решение продукционной модели со своими правилами и т.д. В этом случае необходимо разработать специфические оригинальные функциональные программы. Анализируя рекуррентные свойства функциональной задачи, необходимо обоснованно выбрать универсальный язык программирования, на котором и ведётся разработка ФП.

1 - устройство сопряжения; 2 - абонентский пункт; 3 - рабочая ЭВМ; 4 - концентратор; = - магистральный КС; — - абонентский КС. Рис. Физическая структура СОИ
Комплекс технических средств
Несмотря на многочисленные возможности АС обработки информации самого различного направления, все они имеют в принципе сходную структуру. В простейшем случае система связывает 2 оконечные установки (ОУ).
В более сложном случае это сеть, которая связывает множество ОУ. Каждый из видов соединений может существовать постоянно или временно. Поток информации через эти соединения направлен в одну сторону, попеременно, или является двусторонним. При этом ОУ ведёт обмен сообщениями в так называемом симплексном, полудуплексном или дуплексном режиме соответственно.
Соединение территориально разобщённых ОУ, соединённых между собой каналами передачи, вместе с алгоритмами и программами обмена информации, образуют сеть обмена информации - СОИ.
В общем случае физическую структуру СОИ можно представить как совокупность ОУ, концентраторов (КЦ), центров коммуникации (ЦК), а также соединяющих их каналов связи (КС).
Выделяют две структурные части СОИ:
· базовая сеть передачи данных (магистральную и коммуникационную), которая охватывает центры коммуникации и соединяющие их магистральные КС.
· абонентская (терминальная) сеть, которая обеспечивает подключение ОУ абонентов через КЦ или непосредственно к ресурсам базовой сети. (см. рис.)
В качестве ОУ в СОИ выступают и абонентские пункты, устанавливаемые у пользователей, как отдельные, так и объединённые в терминальные комплексы, и рабочие ЭВМ, и целые вычислительные системы (ВС). Рабочие ЭВМ и ВС для освобождения их от связанных функций часто снабжаются устройствами сопряжения с КС. С точки зрения связи, все объекты, подключённые к базовой сети передачи данных (ПД), являются терминалами.
Используя термин, применяемый в системе связи, такие объекты называют абонентами. Рабочие ЭВМ, подсоединённые к базовой сети, иногда называют главными ЭВМ (ГЭВМ), или «хост-машины». (Термин заимствован из международной структуры ЭВМ - ARPA и часто встречается в англоязычной литературе).
Устройство сопряжения может быть реализовано и может обеспечивать функции мультиплексора, чтобы позволить ГЭВМ выполнить одновременно несколько диалогов. Терминалы, которые просто передают и принимают потоки единиц информации и не имеют стандартного интерфейса с базовой сетью ПД, подключаются к базовой системе сети через терминальный концентратор. Такой терминальный концентратор обеспечивает взаимодействие с базовой сетью ПД.
Кроме перечисленного, основным назначением как концентратора, так и мультиплексора, является повышение эффективности использования соединительных линий как между ОУ и ЦК, так и между отдельными ЦК. (см. рис.)
При организации связи через базовую сеть различают два вида соединений:
1. оперативные соединения - это коммутация каналов, сообщений и пакетов.
2. долговременные соединения - это кроссовые соединения каналов и линий.
По некоммутируемым и коммутируемым сетям может передаваться информация, не допускающая задержки в процессе её передачи, например, при телефонной связи, а также допускающая задержки - передача телеграфа.
При некоммутируемом способе передачи информации между абонентами сети должен быть предоставлен скроссированный или скоммутированный прямой (сквозной) канал. Так происходит передача информации на автоматические телефонные станции. Такие сети называют сетями с коммутацией каналов, а узлы сети - центрами коммутации каналов (ЦКК).
В коммутируемых сетях такой канал может не составляться. В атом случае подлежащее передаче сообщение с предписанным ему адресом передаётся в запоминающее устройство (ЗУ) узла. После анализа адреса сообщения и выбора направления передачи этого сообщения оно передается в ЗУ соседнего узла и т.д., до тех пор, пока сообщение не поступит в ЗУ узла, к которому подключен адресат.
Сети с таким способом передачи информации называются сетями с коммутацией сообщений, а узлы такой сети - центром коммутации сообщений (ЦКС).
Коммутирование сообщений обеспечивает более эффективное использование линий, но стоимость коммуникационного оборудования значительно выше, чем в сетях с коммутацией каналов. В сетях с коммутацией сообщений стремятся к большой загрузке линий. В таких условиях, поскольку длина сообщения не ограничивается, время ожидания передачи в ЦКС может быть весьма значительным, на практике в настоящее время оно достигает 10 секунд.
В диалоговых системах это воспринимается как нежелательное и мешающее нормальной работе явление. Поэтому в сетях с коммутацией сообщений применяется специальный режим - режим пакетной коммутации, при котором время ожидания короче.
Сети с пакетной коммутацией сообщения.
В таких сетях сообщения распределяются на части, которые называются пакетами. Каждый пакет содержит собственный заголовок с управляющим и адресным полями. А также собственную проверочную последовательность знаков.
Разложение сообщений на пакеты и восстановление сообщения после передачи осуществляется специальным оборудованием с помощью специальных пакетирующих аппаратных и программных средств.
В свою очередь, в сети пакеты в соответствии с правилом пакетной коммутации передаются от одного ЦКП к другому.
Необходимо отметить, что для ЦКП нагрузку от каждого пакета можно примерно приравнять нагрузке от одного вызова сети с коммутацией каналов.
Положительной особенностью коммутации пакетов является то, что они могут вводиться и выводиться из сети, отвечающим требованиям терминалом. Таким образом, сеть действует, как преобразователь скоростей.
Петагоаммный. виртуальный вызовы или постоянный виртуальный канал.
Передача информации по сети с коммутацией пакетов возможна в режимах детаграммы, виртуального вызова или постоянного виртуального канала.
Виртуальный вызов:
В этом случае различают три фазы сеанса очереди:
1. Установка соединения
2. Передача данных
3. Разьединение
В фазе установки соединения на основе посланного вызывающим абонентом адресного пакета («пакет набора») между вызывающим и вызываемым абонентами организуется виртуальное соединение.
Коммутационные узлы, к которым непосредственно подключены линии вызывающего и вызываемого абонентов, резервируют ячейки памяти для числа пакетов, указанного в адресном пакете.
Фаза передачи данных. В этой фазе пакеты, поступающие от оконечного оборудования данных (ООД) или устройства пакетирования, заносятся в отдельную ячейку памяти. Для передачи отдельных пакетов информации по сети могут выбираться различные пути. Это обеспечивает более гибкое и оперативное приспособление к состояниям занятости тех или иных КС и ЦК, так же могут быть фиксированы маршруты информации.
В том случае, если пакеты из разных путей прохождения в сети поступили на ЦК пункта назначения в неправильной последовательности, перед выдачей их на принимающее ООД или, соответственно, устройство депакетирования они сортируются в надлежащем порядке.
Фаза разьединения. В этой фазе происходит резервирование ячеек памяти, произведённое в ЦК.
Режим постоянного виртуального канала.
В атом режиме между партнёрами по связи организуется постоянный «канал» (долговременное виртуально соединение). Характеристики передачи по каналу совпадают с характеристиками фазы передачи данных при виртуальном вызове.
В этом случае фазы установления и разьединения отсутствуют.
В современных системах задача передачи данных объединяется с устройством запоминания и защиты от ошибок. Эта задача решается в тесной связи с управлением передачей данных и возлагается на ООД.
Детагоаммный режим.
При этом режиме, который возможен при передаче информации только между пакетными ООД, фаза установки и разьединения отсутствует.
В сети с КП каждый из поступающих от ООД пакетов направляется на принимающее ООД непосредственно на основе адреса, который содержится в заголовке пакета. В этом случае по сети передаются только одиночные пакеты, даже тогда, когда выдаваемое ООД сообщение превышает максимальную длину пакета.
После прохождения по сети разными путями, с различной задержкой по времени, пакеты сортируются на приёмнике перед их обработкой в ООД.
Таким образом точки стыка ЦКП с ОУ и КЦ образуют точки входов в базовую сеть передачи данных. В этих точках принимаются или выдаются пакеты без разборки или сборки, которые передаются через всю сеть.
Вся сеть передачи данных должна быть «прозрачной», то есть передавать пакеты, данные в которых могут быть закодированы любым способом. При характерной для пакетов малой длине коротким становится время ожидания на ЦК. Поэтому число битов, которые накапливаются перед линией связи невелико, и в ЦКП запоминающее устройство может иметь меньшую емкость.
Поскольку ЦК может передать каждый пакет далее сразу же после его получения, не дожидаясь приема всего сообщения целиком, то время прохождения сообщения в сети с коммутацией пакетов сказывается меньше, чем в сети с коммутацией сообщений.
В современных системах обработки информации все большее распространение получают методы коммутации пакетов. На их основе создаются цифровые сети интегрального обслуживания. Эти сети обеспечивают переход от раздельных сетей передачи речи и данных в режиме коммутации каналов и пакетов к совмещению этих режимов в единую сеть. Характерным примером такой сети является сеть Internet.


