Применение уравнения Бернулли для решения задач гидродинамики
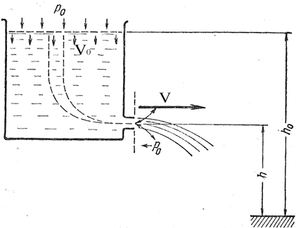
Вычислим скорость истечения жидкости через отверстие в сосуде (рис. 11.7). Выделим в толще жидкости трубку тока. При этом не важна конфигурация этой трубки, важно, что одно её сечение расположено на поверхности жидкости в сосуде, другое — на срезе отверстия. Обе эти поверхности находятся под одним и тем же статическим атмосферным давлением — Р 0. Гидростатические давления в сечениях будут определяться высотами h 0 и h. Задав скорости жидкости в сечениях V 0 и V, запишем на основании уравнения Бернулли следующее равенство:
,
или
.
Отсюда — искомая скорость истечения:
.

Рис. 11.7
Для отыскания скорости V 0 на свободной поверхности жидкости, воспользуемся уравнением неразрывности:
V 0 S 0 = VS.
Если S << S 0, то V 0 =
— ничтожно по сравнению с V. Поэтому, если сечение отверстия S много меньше площади открытой поверхности жидкости в сосуде S 0, то последнее уравнение можно упростить:
. (11.9)
Это известная формула Торричелли. Согласно этой формуле, скорость истечения идеальной жидкости из отверстия в точности равна скорости, которую приобретает тело, свободно падая с высоты (h 0 – h). Причём эта скорость не зависит от угла к горизонту, под которым вытекает жидкость.
|
|
|
Записав формулу Торричелли по-другому:
,
приходим к выводу, что если вытекающую струю направить вертикально, то жидкость в идеале поднимется на высоту D h = h 0 – h, то есть достигнет первоначального уровня h 0.






