Диаметр и число зубьев фрез
| Инструментальный материал | Вид фрезы | Диаметр фрезы, мм | Число зубьев, шт. | |
| Характер обработки | ||||
| Предварит. | Окончат. | |||
| Твердый сплав | Торцовые | D = (1,2 … 1,6)·B | z = (0,09 … 0,12)·D0,95 | |
| Быстрорежущая сталь | Цилиндри-ческие Угловые Фасонные | D = 1,46·B0,76 t0,32 | z = 0,12·D | z = 0,12·D+6 |
| Дисковые | D = 17,5·B0,7 | z = 2,0·D0,5 |
4.16. Передний угол γ цилиндрических и торцовых фрез, град.
| Обрабатываемый материал | Инструментальный материал | ||
| Быстрорежущая сталь | Твердый сплав | ||
| Сталь | σв ≥ 0,6 ГПа | ||
| 0,6 < σв ≤ 1,0 ГПа | |||
| σв > 1,0 ГПа | -5 | ||
| Чугун | HB ≤ 150 | ||
| HB > 150 |
| Главный задний угол α | Вспомогательный угол в плане α1 | |
| Предварительная | Окончательная | |
Физическими основами процесса резания материаловявляется процесс глубокогопластического деформирования и разрушения, сопровождаемый трением стружки о переднюю поверхность режущего клина и трением задней поверхности, инструмента поверхность резания, происходящих в условиях, высоких давлений и скоростей скольжения. Затрачиваемая при этом механическая энергия превращается в теплоту, которая, в свою очередь, вызывает большое влияние на закономерности деформирования срезаемого слоя, силы резания, износ и стойкость инструмента.
|
|
|
Образующаяся при резании стружка, являясь отходом производства, несет основную информацию о закономерностях физических явлений, происходящих при резании, и их связи с условиями процесса резания, характеризуемыми свойствами обрабатываемого
материала, геометрией инструмента, режимами резания идругими параметрами. Одно из первых исследований процесса стружкообразования выполнено русским ученым И.А. Тиме (1870 г.). Им, в частности, предложена классификация стружек, которая оказалась настолько удачной, что сохранилась в основном и до настоящего времени. Согласно этой классификации по внешнему виду и внутреннемустроению при резании конструкционных сталей стружка бывает следующих основных типов: сливная и элементная (скалывания).
Сливная стружка (рис. 4.16, а) представляет собой непрерывнуюленту, которая в зависимости от условий схода по передней поверхности инструмента может быть прямой, спиральной или в виде хаотических завитков. Сторона стружки 1, прилегающая к передней поверхности инструмента, гладкая, блестящая, а внешняя сторона 2 - в виде мелких, постоянно чередующихся зубчиков. Цвет стружки в зависимости от температуры резания изменяется от белого и желтого до матово-серого и синего. Форма и размеры поперечного сечения стружки по всей длине постоянны, что свидетельствует о стабильности деформации, происходящей при образовании такой стружки, Сливная стружка встречается при резании пластичных металлов в основном на больших скоростях, малых и средних подачах, а также при положительных передних углах инструмента.
|
|
|
Элементная стружка (рис. 4.16, б) (иногда ее называют стружкой скалывания) состоит из отдельных элементов (кусочков) металла 1 не связанных или слабо связанных между собой прирезцовымслоем. Каждый элемент стружки при его формировании претерпевает значительную деформацию и. становится в 2...3 раза тверже по сравнению с исходной твердостью обрабатываемого материала. Вследствие этого срезаемыйслой, проходя, через так. называемую поверхностьскалывания тп, теряет свою пластичность и разрушается с определеннойпериодичностью.

Рис. 4.16. Типы стружек, образующихся при резании металлов:
а) сливная; б) элементная (скалывания).
Элементная стружка образуется при резании хрупких металлов (чугун, бронза идр.), а также при резании на невысоких скоростях пластичных металлов.
Шлифование — это обработка инструментом, имеющим много режущих элементов (зерен), геометрическая неопределенность которых образуется большим числом абразивных зерен из природных или синтетических шлифовальных материалов, случайным образом расположенных и сориентированных в абразивном инструменте (шлифовальном круге).
Процесс шлифования характеризуется весьма малыми значениями толщины слоя, срезаемого каждым зерном, поэтому он не считается стружкой. Однако благодаря одновременному участию в процессе шлифования большого числа абразивных зерен может быть достигнута относительно высокая производительность резания и небольшая шероховатость обработанной поверхности.
Шлифованием изготавливают детали с высокими требованиями к точности и шероховатости, прошедшие термическую обработку и имеющие высокую твердость. Например, при шлифовании можно обеспечить допуски до 0,5 мкм по некруглости, до 4 мкм — по точности сопряжения. При обычном шлифовании достигается шероховатость поверхности Ra 0,63... 1,25 мкм, при тонком шлифовании — Ra 0,16...0,32 мкм, а при отделочных операциях (притирке, доводке, хонинговании, полировании, суперфинишировании) — Ra 0,04... 0,08 мкм.
Способы шлифования достаточно разнообразны. К ним относятся:
а) плоское шлифование периферией и торцом круга (рис. 4.17); б) наружное круглое шлифование с продольной и поперечной подачей (рис. 4.18); в) цилиндрическое внутреннее шлифование (рис. 4.19).

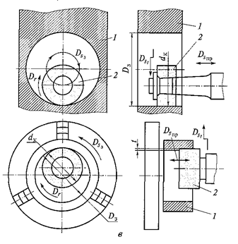
Рис. 4.17. Плоское шлифование периферией и торцом круга: 1 - заготовка; 2 - шлифовальный круг; 3 - стол для закрепления заготовки; Dst и Dsпр - движение поперечной
и продольной подачи шлифовального круга; Dr – рабочее (вращательное)движение
шлифовального круга.

Рис. 4.18. Наружное круглое шлифование с продольной и поперечной подачей:
1 - заготовка; 2 - шлифовальный круг; dк и dз - диаметры круга и заготовки;
Dst и Dsпр - движение поперечной и продольной подачи шлифовального круга;
Dr и Dsкр – рабочее (вращательное)движение шлифовального круга и
круговое(вращательное)движение шлифуемой заготовки.

Рис. 4.19. Цилиндрическое внутреннее шлифование: 1 - заготовка; 2 - шлифовальный круг; dк и Dз - диаметры круга и заготовки; Dst и Dsпр - движение поперечной и
продольной подачи шлифовального круга; Dr и Dsз – рабочее (вращательное) движение шлифовального круга и круговое(вращательное) движение шлифуемой заготовки.
Абразивные инструменты включают диспергированные частицы природных и синтетических материалов, обладающие большой твердостью, малой прочностью и большой теплостойкостью:
а) корунд – кристаллический оксид алюминия Al2O3, содержащий обычные и специальные примеси, следующих сортов:
|
|
|
- электрокорунд нормальный марок 12А, 13А, 14А, 15А и 16А с размерами частиц до 2000 мкм;
- электрокорунд белый марок 22А, 23А, 24А и 25А с наименьшим содержанием примесей и размерами частиц до 800 мкм;
- электрокорунд хромистый марок 32А, 33А и 34А, легированный окисью хрома Cr2O3 , с размерами частиц до 2000 мкм;
- электрокорунд титанистый марки 37А, легированный окисью титана TiO2 , с размерами частиц до 2000 мкм;
- электрокорунд циркониевый марки 38А, легированный окисью циркония ZrO2 , с размерами частиц до 2000 мкм;
- монокорунд марок 43А, 44А и 55А с размерами частиц до 800 мкм;
б) карборунд – кристаллический карбид кремния a - SiС, содержащий обычные и специальные примеси, сортов:
- карбид кремния черный марок 53С, 54С и 55С с большим содержанием примесей и с размерами частиц до 1600 мкм;
- карбид кремния зеленый марок 63С и 64С с малым содержанием примесей и с размерами частиц до 800 мкм;
в) алмаз – кристаллический кубический карбид углерода a - СС сортов:
- алмаз синтетический обычной прочности марки АС2 с размерами частиц до 160 мкм;
- алмаз синтетический повышенной прочности марки АС4 с размерами частиц до 250 мкм;
- алмаз синтетический высокой прочности марки АС6 с размерами частиц до 400 мкм;
г) эльбор – кристаллический кубический нитрид бора a - BN сортов:
- эльбор обычной прочности марки ЛО с размерами частиц до 160 мкм;
- эльбор повышенной прочности марки ЛП с размерами частиц до 250 мкм.






