В суммирующем двоичном n-разрядном счетчике, состоящем из n триггеров, реализуется счетная последовательность чисел. Эта последовательность начинается с 0. Очередное число в этой последовательности получается прибавлением единицы к предыдущему числу. После того как последовательность доходит до максимального числа 2n-1, она снова проходит через 0 и повторяется. В счетчике с т триггерами число возможных состояний равно 2n, модуль счета Kc также равен 2n. Каждому состоянию счетчика соответствует число в счетной последовательности от 0 до 2n-1. Рассмотрим устройство двоичного 3-разрядного суммирующего счетчика. В таком счетчике можно реализовать счетную последовательность от 0 до 23—1=7. Последовательность чисел может быть задана совокупностью 3-разрядных двоичных чисел: 000, 001, 010, 011, 100, 101, 110, 111.
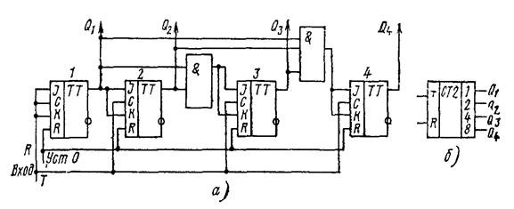
Счетчик может быть реализован с использованием двухступенчатых триггеров Т со счетным входом. Схема двоичного 3-разрядного суммирующего счетчика представлена на рис. 51, а. В этой схеме исходное состояние счетчика устанавливается подачей сигнала по шине «Уст. 0». Триггеры Т изменяют свое состояние с окончанием входного сигнала, т. е. после перехода от уровня 1 к 0. Входной сигнал по шине Со подается на счетный вход триггера 1. Работа счетчика может быть описана с помощью временной диаграммы (рис. 51, б).
|
|
|

Рис. 51.
До начала прихода первого сигнала счетчик находился в нулевом состоянии. Это соответствует наличию уровня 0 на выходах Q1, Q2, Q3. С поступлением по шине Со входных сигналов на счетный вход первого триггера начинается работа счетчика. С приходом первого сигнала триггер 1 переходит в состояние 1 и на его выходе устанавливается уровень Q=1. Поскольку на счетных входах триггеров 2 и 3 не происходит изменения уровня с 1 на 0, эти триггеры сохраняют состояния Q2=0, Q3=0. С приходом второго сигнала триггер 1 переходит в состояние 0. В момент изменения уровня на его выходе с Q1=1 на уровень Q2=0 триггер 2 переходит в состояние 1 и на его выходе устанавливается уровень Q2=1. Состояние триггера 3 остается неизменным. Триггер 3 перейдет в состояние 1 лишь при поступлении на счетный вход триггера 1 четвертого по счету сигнала. При этом триггер 1перейдет из состояния1 в состояние 0. Переход от состояния 1 к состоянию 0 вызовет изменение уровней от 1 к 0 на счетном входе 2. В результате триггер 2 также перейдет из состояния 1 в состояние 0. Такой переход повлечет за собой изменение уровня от 1 к 0 на счетном входе 3. В результате на выходе Q3 триггера 3 установится, уровень 1. При этом на выходах Q1 и Q2 триггеров 1 и 2 будут уровни 0. Следовательно, в счетчике будет зафиксировано число 4 в двоичном представлении. Это соответствует фиксации момента поступления четвертого сигнала.
|
|
|
К моменту прихода восьмого по счету сигнала на выходах триггеров Q1, Q2, Q3 будет установлен уровень 1. Поступление восьмого сигнала на счетный вход триггера 1 вызовет изменение его состояния с 1 на 0. В свою очередь, изменение состояния триггера 1 вызовет изменение состояния триггера 2, а изменение состояния триггера 2 приведет к изменению состояния триггера 3. В результате все триггеры счетчика перейдут в состояние 0. Счетчик будет подготовлен к cчету новой последовательности из восьми сигналов.
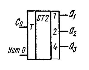
Условное изображение счетчика приведено на рис. 52.

Рис. 52.
Работу счетчика можно также представить как процесс суммирования предыдущего значения счетчика с единицей. Такое суммирование выполняется по обычным правилам выполнения операции сложения чисел в двоичной системе. При этом можно отметить следующие особенности:
1) если в младшем разряде предыдущего значения счетчика имеется 0, то суммирование изменяет лишь цифру младшего разряда на 1;
2) если в m младших разрядах содержится 1, а в (m+1)-м разряде — 0, то цифры m младших разрядов изменяются на значение 0, а в (m+1)-м разряде—на значение 1.
Рассмотренный счетчик построен на последовательно соединенных T-триггерах. Каждый последующий разряд счетчика переключается сигналом переноса, формируемым на выходе предыдущего разряда. Сигналы для счета подаются на вход триггера самого младшего разряда. Счетчик, построенный таким образом, называется счетчиком с последовательным переносом. Из временных диаграмм (рис. 51, б) видно, что в наихудшем случае новое состояние n-разрядного счетчика устанавливается с задержкой n * tП, где tП — время переключения триггера.
Счетчик может быть установлен в нулевое состояние посылкой сигнала по цепи «Уст. 0». С каждым входным сигналом числовое значение в счетчике увеличивается на единицу. С приходом 23 сигнала в счетчике устанавливается исходное (нулевое) состояние. В рассматриваемой схеме счетчика процесс переносов также является последовательным. Время задержки переносов растет с ростом числа разрядов в счетчике. Это время задержки ограничивает максимальную частоту подачи сигналов на вход, тем самым ограничивается быстродействие счетчика. Для уменьшения времени задержки распространения переносов могут использоваться счетчики с параллельным переносом (рис. 53, а).

Рис. 53.
Здесь задержка определяется только одной схемой И и не зависит от числа разрядов в счетчике. Необходимо отметить, что такой подход приводит к усложнению счетчика, поскольку используются элементы И с большим числом входов. Кроме того, необходимость включения в схему счетчика элементов И с нарастающим от разряда к разряду числом входов нарушает регулярность его структуры. Поэтому при построении многоразрядных счетчиков используются схемы с параллельно-последовательным переносом.
Схема счетчика с параллельно-последовательным переносом состоит из группы триггеров, внутри каждой из которой организуется параллельный перенос, а между группами — последовательный. Счетчик, схема которого приведена на рис. 54, состоит из 4-разрядных счетчиков с параллельным переносом. На входе каждого такого счетчика включен элемент И с пятью входами. В нем формируется сигнал переноса в следующую группу при заполнении предыдущей группы триггеров единицами. Задержка в многоразрядном счетчике будет пропорциональна числу групп в счетчике.

Рис. 54.
ВЫЧИТАЮЩИЕ И РЕВЕРСИВНЫЕ ДВОИЧНЫЕ СЧЕТЧИКИ
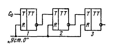
В вычитающих счетчиках с приходом очередного счетного сигнала предыдущий результат уменьшается на единицу. В вычитающем двоичном n-разрядном счетчике реализуется счетная последовательность чисел, начиная с 2n—1 и кончая 0. Очередное число в этой последовательности получается вычитанием единицы из предыдущего числа. После получения значения 0 последовательность повторяется. Еще одно отличие вычитающего счетчика от суммирующего: триггер каждого последующего разряда переходит в другое состояние при сигнале займа, обратном сигналу переноса в суммирующем счетчике.
|
|
|
Поэтому вычитающий счетчик в отличие от суммирующего строится так, что со входом каждого последующего триггера соединяется инверсный выход предыдущего триггера. Схема вычитающего счетчика с последовательной передачей переносов приведена на рис. 55

Рис. 55.
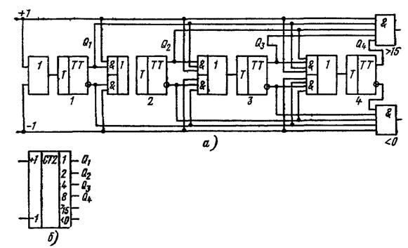
В реверсивном счетчике объединяются схемы суммирующего и вычитающего счетчиков. Кроме того, существует возможность управления направлением счетчика, для чего предусматривается дополнительное КЦУ.
В реверсивном счетчике на Т-триггерах (рис. 56, а) счетные сигналы поступают на вход T-триггера через логические элементы в случае, если они открыты единичными сигналами с выходов предыдущих разрядов. Для счетных сигналов предусмотрены два входа. Если счетчик работает как суммирующий, сигналы счета следует подавать на вход +1. Для вычитающего счетчика сигналы счета подаются на вход —1. На выходе счетчика, обозначенном >15, сигнал появляется при переходе счетчика в состояние с номером 15, в котором все триггеры установлены в состояние 1. На этом выходе формируется сигнал переноса в следующий счетчик. На выходе <0 сигнал появляется при заполнении счетчика нулями. Это сигнал займа в следующий счетчик в схеме вычитающего счетчика. Условное обозначение реверсивного счетчика с двумя входами приведено на рис. 56,6.

Рис. 56.
Если требуется построить реверсивный счетчик с одним источником сигналов для счета, то необходимо предусмотреть специальное ПЦУ для переключения на суммирующий +1 или вычитающий —1 входы (рис. 57).
При подаче сигнала на вход Сс RS-триггер установится в единичное состояние. Сигналы счета Со будут поступать на вход +1 реверсивного счетчика, который будет работать как суммирующий. При подаче сигнала на вход Св RS-триггер установится в нулевое состояние. Сигналы счета со входа Со будут поступать на вход —1, и счетчик будет работать в режиме вычитающего счетчика.
|
|
|

Рис. 57.
Используя интегральные схемы 4-разрядных счетчиков с выходами займа и переноса, можно строить реверсивные счетчики большей разрядности.
СИНХРОННЫЕ И АСИНХРОННЫЕ ДВОИЧНЫЕ СЧЕТЧИКИ
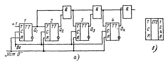
Двоичные счетчики, состояние триггеров которых изменяется одновременно под воздействием сигнала синхронизации на входах всех триггеров, получили название синхронных. Схема синхронного счетчика со сквозным переносом на T-триггерах приведена на рис. 58, а, его условное обозначение дано на рис. 58, б.

Рис. 58.
Синхронные счетчики используются в синхронных цифровых системах. Последовательностные цифровые устройства в этих системах обычно зависят друг от друга и управляются от общего источника синхросигналов. В таких условиях нужно, чтобы все триггеры во всех ПЦУ изменяли свое состояние одновременно по сигналу синхронизации, чтобы текущее состояние триггеров использовалось для определения их следующего состояния. Применяемая здесь схема со сквозным переносом легко наращивается простым добавлением схемы И с двумя входами. Однако для определения значения самого правого входа Т n-разрядного счетчика необходимо время, равное времени распространения сигнала через одну схему И, умноженному на п—1.
Различные схемы синхронных счетчиков были использованы при рассмотрении суммирующих и вычитающих счетчиков.
В асинхронных счетчиках синхронизирующие входы триггеров соединяются с входами соседних триггеров. Поэтому состояние триггера меняется в ответ на изменение состояния соседнего триггера, а не в ответ на воздействие сигнала внешней синхронизации.
В асинхронных счетчиках волна изменений состояния распространяется по всей цепочке триггеров, в отличие от синхронных счетчиков, где происходит изменение состояния всех триггеров одновременно. Схема асинхронного счетчика на D-триггерах с динамическим управлением приведена на рис. 59,а, а его условное обозначение — на рис. 59, б.

Рис. 59.
В триггерах с прямым динамическим входом изменение состояния осуществляется при перепаде уровня от 0 к 1. В асинхронных счетчиках с последовательным переносом вход каждого последующего триггера соединяется с инверсным выходом предыдущего. Сигналы счета поступают на вход Со. С помощью сигнала, поступающего на вход «Уст. 0», счетчик может быть установлен в начальное состояние.
Асинхронные счетчики также были рассмотрены при описании суммирующих и вычитающих счетчиков).
Асинхронные счетчики позволяют обеспечить большую скорость счета. Объясняется это тем, что после переключения первого триггера счетчика на него можно подавать следующий сигнал, не ожидая распространения воздействия от сигнала через весь счетчик. В синхронном счетчике между сигналами на счетный вход должно проходить время, определяемое переключением одного триггера и установлением значений на всех входах Т. С учетом сказанного можно отметить, что все типы суммирующих, вычитающих, реверсивных счетчиков могут быть реализованы в виде как синхронных, так и асинхронных счетчиков.