Лекция 11-2 АВТОМАТИЗАЦИЯ ТП В ПТИЦЕВОДСТВЕ
ТЕМА 7
Промышленное птицеводство — высокомеханизированная отрасль с высоким уровнем автоматизации процессов кормления и поения птицы, сбора яйца, уборки помета, обеспечения микроклимата, а также инкубационного процесса. Существуют предприятия двух видов: птицефабрики (работают по полному циклу и рассчитаны на 0,2…1 млн и более кур-несушек промышленного стада или 1…6 млн бройлеров в год); птицефермы (рассчитаны на меньший объем производства).
Технология производства мяса на птицефабрике объединяет производство племенного яйца (цех маточного стада), инкубацию (цех инкубации), интенсивное выращивание бройлеров (цех выращивания) и убой птипы (убойный цех). В технологическую цепь птицефабрики яичного направления дополнительно включают выращивание ремонтного молодняка и производство яиц в цехе промышленного стада.
Основные технологические операции промышленного птицеводства выполняются встроенными в клеточные батареи механизмами: кормораздатчиками, поилками, транспортерами для удаления помета и сбора яиц. Они приводятся в движение электродвигателями, управление которыми автоматизировано.
|
|
|
Производство яйца и мяса птицы, а также выращивание молодняка построено на современных машинных технологиях с использованием комплектного технологического оборудования для механизации и автоматизации производственных процессов. Например, в состав комплекта автоматизированного оборудования птичника на З5.тыс. кур-несушек в клеточных батареях входят кроме собственно батарей оборудование хранения и загрузки кормов (бункер и два транспортера), оборудование для уборки помета (канатно-скребковая установка и поперечный транспортер), стационарный транспортер для внутрихозяйственного сбора и транспортирования яиц, укладчик яиц или приемный стол и, наконец, прибор для управления длительностью светового дня птичника.
Особое место в технологии промышленного птицеводства занимает инкубация яиц. Современные инкубаторы оснащены системами автоматического регулирования температуры и влажности воздуха, а также устройством для периодического поворота лотков с яйцами.
Рассмотрим и проанализируем типовые решения по автоматизации основных технологических процессов промышленного птицеводства.
2. АВТОМАТИЗАЦИЯ КОРМЛЕНИЯ
Автоматизация кормления птицы зависит от ее вида, возраста, способа содержания и свойств корма, прежде всего от его влажности. При групповом способе содержания продуктивной птицы применяют групповое (стадное) кормление, регламент которого устанавливают исходя из зоотехнических требований.
|
|
|
Продолжительность заполнения кормушек tР связана с производительностью раздатчиков корма QКР соотношением: tР = VК / QКР, где VК - суммарная вместимость кормушки.
Окончание цикла раздачи корма можно определить по возврату корма в бункер-дозатор либо по заполнению последней в контуре кормораздатчика кормушки. Многочисленные конструкции раздатчиков корма могут быть классифицированы как стационарные и мобильные, причем последние встречаются сегодня достаточно редко.
В промышленном птицеводстве используется исключительно групповое кормление с помощью желобковых и бункерных кормушек, причем измерение количества корма базируется на изменении продолжительности его раздачи, что возможно только в том случае, если поток корма постоянен.
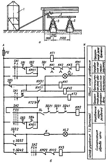
Линия кормления птицы с комплектом оборудования типа БКМ включает в себя бункер 1 (рисунок 1, а) сыпучих кормов, поперечный транспортер 2, бункер батареи, линию кормушек 3 с продольным транспортером.
Бункер сыпучих кормов загружается из специального загрузчика на шасси автомобиля. При этом бункер загрузчика заполняется кормом через верхние люки, а опорожняется с помощью системы из трех шнеков, последний из которых — выгружной, имеет способность подниматься или опускаться в вертикальной плоскости. Управляет работой автозагрузчика водитель автомобиля.
Корм из бункера 1 наклонным транспортером подается в приемник горизонтального поперечного транспортера 2, который доставляет его в бункеры клеточных батарей, загружая их последовательно. Когда бункер первой батареи заполняется доверху, корм закрывает выгружное окно поперечного транспортера и начинает перемещаться к бункеру второй батареи, затем к третьей и т.д. После наполнения последнего бункера вся линия подачи корма отключается.
На рисунке 1, б показана принципиальная электрическая схема управления загрузкой бункеров клеточных батарей и кормораздатчик в одной из них (схемы управления кормораздачей во всех батареях аналогичны).
В зависимости от положения переключателя SA1 (А или Р) загрузка корма в бункеры батарей может быть выполнена в автоматическом или ручном режимах (в последнем случае пуск осуществляется нажатием кнопки SB2). Отключение всех механизмов линии загрузки кормов происходит при размыкании контактов конечного выключателя SQ1, установленного в последнем бункере батареи.
Команда на включение транспортеров кормораздачи поступает от реле времени КТ1 в момент, определяемый технологическим регламентом. Время работы транспортеров зависит от настройки другого реле времени КТ2, через размыкающие контакты которого проходят команды на автоматический пуск двигателей кормораздачи всех батарей.
При возможном обрыве цепи кормораздачи на любом ярусе одной из клеточных батарей размыкаются контакты конечных выключателей SQ2:1, SQ3:1 или SQ4:1, обесточивается пускатель КМ2 и двигатель транспортеров кормораздачи останавливается. Одновременно через контакты KV1:2 и KM2:2 включается катушка реле KV3, а через контакты KV3:1 — реле KV1 и сигнальная лампа HL1, установленная в зале обслуживания.

Рисунок 1 - Технологическая (а) и электрическая (б) схемы управления
линией кормления птицы:
1 – бункер; 2 – поперечный транспортер; 3 – кормушки
В птичниках напольного содержания птицы раздача корма из бункера-дозатора в автокормушки производится канатно-дисковым транспортером по команде от реле времени. Последняя в контуре кормораздатчика автокормушка — контрольная: датчик SL уровня корма в ней отключает КМ2 привода транспортера кормораздатчика.
3. АВТОМАТИЗАЦИЯ ПОЕНИЯ ПТИЦЫ, УБОРКИ ПОМЕТА И СБОРА ЯИЦ
Поение. Технологический процесс поения сельскохозяйственной птицы имеет свои специфические особенности, обусловленные, с одной стороны, особенностями организма птицы, а с другой — конструкцией оборудования.
|
|
|
Конструкция поилок отличается большим разнообразием. В их числе желобковые проточные и непроточные, чашечные и т.д. Важнейшая их характеристика — коэффициент использования воды, изменяющийся от 20 до 90 %. Лучшими в этом смысле являются желобковые поилки постоянного уровня и капельные автопоилки, питаемые через разделительный бак с автоматическим поддержанием уровня.
Групповые чашечные и непроточные желобковые поилки применяются при содержании птицы на подстилке, насестах и в клеточных батареях горизонтального типа. Эти поилки оснащены встроенным регулятором уровня воды прямого действия — поплавковыми или подпружиненными клапанами. В целях экономии воды системы поения включаются автоматически только на время светового дня.
Уборка помета. Периодичность уборки помета зависит от способа содержания птицы. При клеточном содержании помет убирается ежедневно, при напольном — несколько раз в год. При уборке помета скребковый транспортер перемещается вперед назад по пометному коробу клетки. В момент выполнения рабочего хода скрепер, нажав концевой выключатель SQ4 (рисунок 2), включает горизонтальный и наклонный транспортеры, удаляющие помет за пределы птичника, а затем, нажав SQ1, реверсирует установку (с выдержкой времени 5…8 с).

Рисунок 2 – Технологическая схема пометоуборочного транспортера:
1 – скрепер; 2 – приводная станция; 3 – концевые выключатели
При холостом ходе скрепер, нажав SQ3, включает вторую скреперную установку, а нажав на SQ2 — отключает первую скреперную установку.
Управление работой транспортеров осуществляется вручную или в автоматическом режиме по команде программного реле времени.
Сбор яиц. Транспортеры линии яйцесбора расположены вдоль гнезд, в которых держится (клеточное содержание) или несется (напольное содержание) птица. Снесенное яйцо выкатывается из гнезда по наклонной решетке на прорезиненную ленту, которая доставляет их на накопительный стол. Своевременный сбор яйца уменьшает его загрязнение и потери от боя и расклева птицей. Поскольку яйца от кур на ленту транспортера поступают весь день, приходится убирать его в несколько приемов. Пуск механизмов сбора яйца осуществляется от программного реле, причем время сбора следует выбирать так, чтобы число яиц на транспортере не превышало допустимого количества.
|
|
|
В перечне операций по сбору яйца наиболее трудоемкой является укладка яйца в прокладки. Автоматический укладчик яиц действует следующим образом. Яйцесборный транспортер подаёт яйца на роликовый ориентатор, поворачивающий их острым концом в одну сторону. Ориентированные таким образом яйца поступают на ячеистый транспортер. После заполнения пяти его ячеек выдвигается заслонка механизма укладки яиц и они опускаются в тару острым концом вниз, прокладка смещается на один шаг и укладывается следующий ряд яиц. Заполненные прокладки автоматически укладываются в стопу, причем каждый раз механизм укладки поворачивает прокладки на 90° в соответствии со схемой их сборки.
При централизованном сборе яиц с нескольких батарей или птичников приемные столы на элеваторах отсутствуют, а для контроля за продуктивностью птицы используют счетчики разных конструкций. Собранные в птичниках яйца доводят до товарной кондиции: моют, сушат, сортируют по массовым категориям (первая — масса более 58 г, вторая — 44…58 г, мелкие — до 44 г), клеймят, укладывают в прокладки, а прокладки — в картонные ящики.
Автоматическое взвешивающее устройство яйца представляет собой рычажные весы. При совпадении массы яйца с настройкой весов специальный механизм направляет яйцо в соответствующий приемник.
Яйца с внутренними повреждениями сортируют обычно вручную с помощью овоскопа. Производительность этой требующей чрезвычайного внимания операции может быть существенно повышена, если удаление дефектных яиц, имеющих повреждение скорлупы или кровяные включения, выполнять автоматически (рисунок 3).

Рисунок 3 – Схема установки для полуавтоматической сортировки яиц:
1 – жезл; 2 - схема управления; 3 - регистровая память;
4, 6 - дешифраторы поперечных и продольных рядов; 5 – матрицы
Оператор «метит» дефектное яйцо, подсвеченное специальным жезлом, в наконечник которого вмонтирован пьезодатчик, вырабатывающий слабый электрический сигнал при касании яйца. Сигнал воспринимается группой чувствительных элементов матрицы, укрепленной под конвейерной лентой в зале сортировки. Форма матрицы соответствуют расположению яиц в гнездах конвейерной ленты. Поступившая информация анализируется системой компараторов и дешифраторов, в результате чего определяются точные координаты дефектного яйца в соответствии с его положением на транспортере. Эти координаты запоминаются и в дальнейшем используются специальным механизмом для удаления дефектных яиц с ленты. Прошедшие контроль яйца затем сортируются по массе и автоматически укладываются в гнезда прокладок для дальнейшего транспортирования.
4. АВТОМАТИЗАЦИЯ ИНКУБАЦИОННОГО ПРОЦЕССА
Промышленная инкубация яиц в нашей стране производится с 1928 года. Соответственно накоплен значительный опыт и разработаны современные устройства, имеющие достаточно высокий уровень автоматизации. Особенность ТП инкубации заключается в необходимости, с одной стороны, точного поддержания основных параме-тров микроклимата (температуры, относительной влажности и газового состава воздуха) и, с другой стороны, — изменения этих параметров в зависимости от фазы инкубации.
Универсальный инкубатор ИУП-Ф-45 вмещает 48 тыс. яиц. Инкубатор состоит из трех одинаковых камер, в каждой из которых размещается барабан с лотками, вентилятор системы обогрева, охлаждения, увлажнения, а также аварийного охлаждения и воздухообмена. Поворот лотков с яйцами происходит при наклоне барабана на угол 45° от горизонтального положения, выполняемого автоматически через 2…4 ч (предусмотрен также ручной привод барабана).
Циркуляция воздуха внутри каждой камеры обеспечивается тихоходным вентилятором, а увлажнение воздуха происходит за счет испарения воды, подаваемой на ступицу вентилятора и разбрасываемой его лопастями при вращении. Охлаждение воздуха в камере достигается циркуляцией воды через закрытый теплообменник (радиатор), укрепляемый, как и радиатор, на задней стенке камеры. Вода на увлажнение и охлаждение воздуха подается ч/з соленоидные клапаны, управляемые автоматически.
Воздухообмен в камере обеспечивается системой заслонок, объединенных общим приводом от электромагнита, причем степень открытия заслонок увеличивается от 5 до 60 мм на 18-й день инкубации. Для нагрева воздуха в каждой камере используют четыре электронагревателя общей мощностью 4 кВт. Требуемая точность поддержания температуры в диапазоне 36…39 °С очень высокая: ±0,2 °С. При снижении температуры на 0,2…0,3 °С от заданной включаются электронагреватели. При повышении температуры открывается электромагнитный клапан, подающий холодную воду в радиатор охлаждения.
Температура в объеме камеры выравнивается благодаря работе вентилятора.
При температуре в камере выше 38,3 °С по сигналу термодатчика отключаются нагреватели, включаются электромагнит дополнительного охлаждения, сигнальная лампа и звонок. Звуковая сигнализация инкубатора имеет автономное питание от электрических батарей и включается в следующих случаях: при перегрузке электродвигателя вентилятора или коротком замыкании в цепи управления, отсутствии напряжения в питающей сети и при открытых дверях одной из камер.
Схема управления оборудованием инкубатора обеспечивает:
- отключение всех цепей управления камерой при открывании двери и размыкании контактов микровыключателя;
- блокировку механизма поворота лотков при открытых замках барабанов и разомкнутых контактах микропереключателей.
Перед загрузкой каждая камера инкубатора должна быть предварительно прогрета до 37,8 °С. Этот температурный режим не меняется до перекладки яиц в выводной инкубатор.
Конструкция шкафа универсального выводного инкубатора ИУВ-Ф-45 проще, чем предварительного. В нем отсутствует устройство поворота барабана, иначе выполнено устройство увлажнения воздуха, не предусмотрено автоматическое регулирование влажности воздуха.
5. АВТОМАТИЗИРОВАННЫЕ ТЕХНОЛОГИЧЕСКИЕ ЛИНИИ УБОЯ ПТИЦЫ
Для убоя птицы и обработки тушек до товарных кондиций современные специализированные птицеводческие хозяйства имеют убойные цеха, оборудованные полуавтоматическими убойными линиями. Каждая линия состоит из нескольких машин для обработки тушек.
Птицу, доставленную из птичников в клетках, подвешивают за ноги с помощью закрепов на цепь подвесного конвейера, которая движется медленно (со скоростью 0,08 м/с) в сторону рабочего места для убоя и обескровливания. Перед убоем птицу приводят в спокойное состояние аппаратом для электроглушения, на который подается слаботочное напряжение от 650 до 900 В. При помощи специальных ножниц птицу умерщвляют. Над желобом для стока крови каждая птица движется в течение 2 мин, а затем поступает в камеру тепловой обработки, где в течение последующих 2 мин ее обрабатывают паром при температуре 52...53 °С. Затем тушка проходит поочередно ряд машин, где снимается маховое перо с крыльев и хвоста, оперение с головы до шеи. Далее тушки моют теплой водой в течение 30 с и подвергают воскованию, подсушивают и предварительно охлаждают. Затем обрабатывают лапки. Тушки снимают с конвейера, упаковывают в ящики и отправляют в камеру охлаждения.
Убойную линию включают с центрального пульта управления. Последовательность включения в работу отдельных машин осуществляется многоканальным устройством.
Из машин для обработки тушек пух и перо с водой транспортируются в цех обработки пера, где поступившая масса попадает в центрифуги, а затем, предварительно обезвоженная, загружается в сушильные камеры. После сушки перо упаковывают для реализации. Отходы пуха и пера, а также непищевые отходы потрошения направляют в цех утилизации, где из них приготавливают кормовые добавки — мясную и мясокостную муку. Пух (перьевые отходы) перерабатывают по специальной технологии в две фазы: первая — гидролиз и стерилизация сырья, вторая — сушка и упаковка.
Боенские отходы варят в специальных котлах при постоянном механическом перемешивании. Сначала в гидравлическом прессе отжимают жир из кишок и других боенских отходов, а оставшуюся после выжимания массу измельчают в дробилке и используют в качестве добавок в комбикорма. Влажность выходного продукта (мясокостной муки) должна быть 8…10 %.
Контрольные вопросы и задания
1. В чем различие технологий производства мяса птицы и яиц?
2. Объясните принцип действия технологической и электрической схем управления кормлением птицы при клеточном ее содержании.
3. Как автоматизируют процессы поения и уборки помета при клеточном содержании птицы?
4. Как автоматизируют процессы сбора и сортировки яиц?
5. Расскажите о технологии и автоматическом управлении параметрами сбора и сортировки яиц.
6. Что вы знаете об автоматизированных линиях убоя птицы и переработки ее отходов?
7. Какими параметрами управляют при инкубации яиц?






