ТЕМА 5
ТЕМА 4
Лекция 10-2 АВТОМАТИЗАЦИЯ ХРАНИЛИЩ СЕЛХОЗ ПРОДУКЦИИ (СХП)
1. ОБЩИЕ СВЕДЕНИЯ. Технология хранения сельхоз продукции (СХП) включает в себя процессы подогрева, охлаждения и увлажнения продукции с целью предохранения ее от переохлаждения, перегрева и обезвоживания. Правильное хранение СХП позволяет обеспечить круглогодичное снабжение населения страны продуктами питания и сохранить их высокие питательные и вкусовые качества, внешний вид.
В хранилищах содержат фуражное и семенное зерно, зеленые корма (сено, сенаж, силос), комбикорм, продукцию молочнотоварных и птицеводческих ферм, а также картофель, корнеклубнеплоды, различные овощи и фрукты. Потребность СХ-а в типовых хранилищах недостаточно удовлетворена. Из-за неправильных режимов хранения хозяйства несут огромные потери. Например, потери питательных веществ в сене, соломе и силосе при нарушении режимов хранения составляют более 20 %.
При закладке СХП на длительное хранение используют средства механизации и автоматизации транспортировки и загрузки продукции в хранилища, управления параметрами микроклимата и защиты продукции от порчи, сортирования и выгрузки продукции, контроля качества и учета количества продукции при загрузке, хранении и реализации. Средства и способы транспортировки, сортирования, загрузки и выгрузки продукции изучают в курсе «Механизация сельского хозяйства». В настоящей главе рассмотрены средства и способы управления параметрами микроклимата в хранилищах и новые методы контроля и сортирования сельскохозяйственной продукции.
Основные параметры микроклимата в хранилищах - температура и относительная влажность воздуха в массе хранимого продукта. При автоматизации СУ температурой в картофеле- и овощехранилищах следует учитывать некоторые особенности: Во-первых, при хранении большой массы картофеля и овощей в хранилищах, не оборудованных автоматическими СУ, при положительных температурах возникают очаги загнивания продукта, которые быстро распространяются на рядом расположенные клубни картофеля и овощи. Во-вторых, обычно картофель и овощи стараются хранить при минимально допустимых температурах, а при сильных морозах иногда подмораживается продукция в периферийных слоях. В-третьих, для визуального контроля сохранности продукции ее закладывают слоем небольшой толщины и оставляют места для прохода обслуживающего персонала, что приводит к относительно малому использованию объема хранилищ. Вследствие этого при хранении картофеля и овощей в неавтоматизированных овощехранилищах полезный объем сооружений составляет 30…40% общего объема, а количество портящейся продукции достигает 30 % и более.
В странах СНГ строят хранилища картофеля и овощей на 500…3000 т, а в специализированных хозяйствах — до 10 000 т с системой активного вентилирования. Овощехранилища строят из кирпича или бетонных блоков с перекрытиями из железобетонных плит. Для лучшей теплоизоляции применяют строительные газосиликат, газобетон и другие теплоизоляционные материалы, а сами хранилища наполовину заглубляют в грунт.
Метод активного вентилирования заключается в том, что через массу хранимого продукта периодически принудительно продувают воздух, расходуя до 100 м3/ч, а иногда до 300 м3/ч на 1 т картофеля. При необходимости в овощехранилищах устанавливают калориферы для подогрева воздуха в зимний период и холодильные машины для предварительного охлаждения вентиляционного воздуха в осенне-весенний и летний периоды.
2. ХАРАКТЕРИСТИКА ОВОЩЕХРАНИЛИЩА КАК ОБЪЕКТА УПРАВЛЕНИЯ МИКРОКЛИМАТОМ
Активное вентилирование позволяет поддерживать в хранилищах оптимальный температурно-влажностный режим. Одновременно оно обеспечивает удаление с поверхности овощей влаги, а из их массы — продуктов дыхания, ведущих к развитию болезнетворных микроорганизмов.
Воздух в массу хранимого продукта подают при помощи приточных вентиляционных систем, оборудованных центробежными или осевыми вентиляторами. Режим работы вентиляционной системы зависит от температуры наружного воздуха, вида и массы хранимого продукта. Для снижения температуры хранимого продукта наружный воздух нагнетается вентилятором через приточную шахту по вентиляционному каналу в массу продукта. При недопустимо низких и высоких температурах наружного воздуха вентилятор прогоняет через продукт внутренний (рециркуляционный) воздух, а приточная камера в это время закрыта клапаном.
Процессы управления микроклиматом овощехранилищ рассмотрим на примере хранения картофеля. В технологическом процессе хранения картофеля можно выделить три периода: лечебный, охлаждения и хранения.
Лечебный период необходим для быстрого заживления механических повреждений картофеля. С этой целью в межклубневом пространстве насыпи необходимо поддерживать температуру на уровне 14…18°С и высокую относительную влажность воздуха (более 90 %) с минимальным воздухообменом.
При температуре картофеля выше 18 °С должна включаться система активного вентилирования и подавать воздух температурой на 3…4°С ниже температуры массы хранимого продукта. Если в закром хранилища заложен больной картофель (пораженный фитофторой, нематодой и т. п.), то лечебный период проводится при температуре 8…10°С с последующим охлаждением до 1…2 °С.
При закладке мокрого картофеля его немедленно подсушивают усиленным активным вентилированием при относительной влажности воздуха не более 80 %.
Период охлаждения наступает после двухнедельного лечебного периода, температуру хранимого картофеля постепенно снижают до 2…4°С. Для этого клубни картофеля вентилируют наружным воздухом или смесью его с внутренним воздухом в те периоды суток, когда температура наружного воздуха не менее чем на 4…5 °С ниже температуры насыпи картофеля. Охлаждают клубни медленно: на 0,5…0,6 °С в сутки при максимальной влажности воздуха до 100 %. Период охлаждения длится 20-25 суток.
Период хранения (основной) начинается при температуре картофеля в насыпи 3…4°С. Вентиляционные установки включаются при температуре в насыпи 4°С и более. Зимой продукт активно вентилируют смесью наружного и внутреннего воздуха, а при сильных морозах — только рециркуляционным воздухом. В остальные времена года насыпь вентилируют наружным воздухом, который забирают в наиболее холодное время суток, или воздухом, охлажденным в специальных холодильных установках.
Во всех случаях относительная влажность воздуха должна быть максимальной, но без образования конденсата на картофеле. При пониженной влажности вентиляционного воздуха возникают большие потери массы клубней и они теряют свой товарный вид. Аналогичные агротехнические требования предъявляют и к САУ микроклиматом других овощехранилищ.
В режимах «Лечение» и «Охлаждение» температура массы хранимой продукции всегда выше заданной, а продолжительность работы системы активного вентилирования зависит от настройки программных реле и температуры наружного воздуха, а также от массы хранимой продукции. При разработке и выборе систем автоматики необходимо знать передаточные функции массы хранимой продукции и верхней зоны в основном режиме «Хранение».
Передаточная функция массы хранимой продукции. Эту функцию можно определить аналитически из уравнения динамики теплообмена массы хранимой продукции и вентилируемого воздуха.
Теплообмен в насыпи штучной СХП представляет собой сложное физическое явление. Температура на поверхности продукта определяется не только интенсивностью отвода теплоты с поверхности, но и ее отводом из внутреннего пространства клубня, которое образуется в результате биохимических процессов внутри продукта.
Интенсивность изменения температуры в массе продукции зависит от скорости прохождения приточного воздуха, толщины слоя h насыпи клубней, скважности слоя μ, а также от начальных значений температур клубней θ и воздуха θВ.
Опыт показывает, что температура подаваемого воздуха и насыпи клубней неодинакова по высоте слоя. Быстро охлаждаются слои клубней на входе воздуха и в 4...5 раз медленнее на выходе четырехметрового слоя насыпи картофеля. Наиболее высокая температура массы хранимого продукта наблюдается на глубине 0,4…0,6 м от поверхности насыпи.
Установлено, что при подаче воздуха L ≤ 50 м3/ч на 1 т насыпи клубней передаточную функцию можно выразить так: W(p) = k / (T p + 1), а при L ≥ 50 м3/(т·ч): W(p) = k / (
p 2 + Т1р + 1).
С ростом подачи воздуха от 50 до 250 м3/(т·ч) значение коэффициента усиления k снижается от 0,03 до 0,008. Коэффициент усиления k показывает, на сколько градусов снижается температура насыпи клубней за 1 ч при подаче 1 м3 воздуха на 1 т клубней. Постоянные времени Т также зависят от подачи воздуха: при L ≤ 50 м3/(ч·т) T = 7…8 ч; при L ≥ 50...250 м3/(т·ч) Т1 = 8…6 ч, Т2 = 2…1,6 ч.
При отключенной вентиляции температура массы хранимого продукта повышается за счет теплоты самосогревания. Передаточная функция массы продукта при самосогревании без отвода теплоты W(p) = kС / p, где kС — коэффициент усиления, показывающий, на сколько градусов повышается температура массы продукта за 1 ч самосогревания без отвода теплоты: для корнеклубнеплодов kС = 0,14, для капусты kС = 0,13.
Передаточная функция верхней зоны овощехранилища. Эта функция выражается тремя составляющими (по числу параллельно действующих возмущений), а именно, для типового овощехранилища вместимостью 1000 т можно принять следующие значения коэффициентов: k1 = 0,3; k2 = 0,5; Т1 = 2,3 ч и Т2 = 0,12 ч.
Передаточная функция смесительной камеры. Во всех овощехранилищах с автоматическим управлением микроклиматом используется смесительная камера с регулируемым клапаном, передаточная функция которой определяется как для усилительного звена, т.е. W(p) = k.
3. САУ МИКРОКЛИМАТОМ В ОВОЩЕХРАНИЛИЩАХ
В отечественной и зарубежной практике используют САУ только температурными режимами в овощехранилище. Автоматическое регулирование влажности применяют редко из-за отсутствия датчиков, работающих при относительной влажности воздуха более 90%. При необходимости влажностью управляют вручную, включая вытяжные вентиляторы.
Для управления микроклиматом в овощехранилищах используют оборудование типа ОРТХ и систему «Среда».
Оборудование для регулирования температуры хранилищ типа ОРТХ обеспечивает технологически обоснованные температурные режимы приточного воздуха, массы хранимой продукции и воздуха верхней зоны без искусственного охлаждения в хранилищах вместимостью до 1000 т с числом вентиляционных камер не более двух.
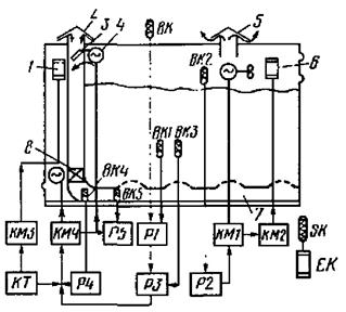
В оборудование типа ОРТХ входят следующие основные устройства (рисунок 1): смесительный клапан 3 с подогревателем 1 и исполнительным механизмом 4, приточная 2 и вытяжная 5 шахты, два рециркуляционно-отопительных агрегата 6, вентиляционно-распределительный канал 7, вентилятор 8 приточной системы и шкаф автоматического управления системой активного вентилирования (ШАУ-АВ). В шкафу размещены регуляторы температуры Р1…Р5, программное реле времени КT, ключи и кнопки управления. В связи с неблагоприятными для работы аппаратуры условиями предусмотрен автоматический обогрев шкафа от электроподогревателя ЕК, действием которого управляет контактное термореле SK через промежуточное реле KV1 (рисунок2). Температуру контролируют датчики ВК…ВК5 (см. рисунок 1) —терморезисторы и термометры сопротивления, а замеряет логометр Р. Система активного вентилирования может работать в режиме ручного дистанционного или автоматического управления.

Рисунок 1 – Технологическая схема АУ температурным режимом в овощехранилище:
1 - подогреватель; 2, 5 - соответственно приточная и вытяжная шахты; 3 - смесительный клапан; 4 - исполнительный механизм
В ручном режиме переключатели SA1 и SA2 ставят в положение Р и кнопками SB1 и SB2 управляют вентиляторами и калориферами двух рециркуляционно-отопительных систем, кнопками SB3 и SB4 — подогревателем смесительного клапана, кнопками SB5 и SB6 — приточной вентиляцией. В этом режиме при помощи регулятора Р4 (типа ПТР-2) автоматически может отключиться только приточный вентилятор, когда температура наружного воздуха снизится до минимально допустимого значения. При допустимой температуре контакт Р4 замкнут.

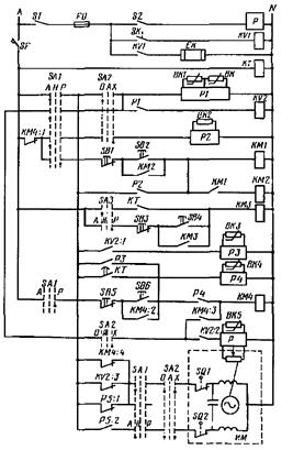
Рисунок 2 - Принципиальная электрическая схема шкафа ШАУ-АВ
В автоматическом режиме переключатель SA1 переводят в положение А. Последовательность работы схемы зависит от периода хранения.
В режиме «Лечение» переключатель SA2 ставят в положение Л, а переключатель SA3 — в положение Н (нейтральное), в результате чего действует только приточный вентилятор, который периодически включается и отключается магнитным пускателем КМ4, управляемым контактами КT программного реле времени и регулятора Р4. Программное реле КT настраивают на шести разовое включение приточного вентилятора в сутки в каждом случае на 30 мин. Перед этим режимом исполнительный механизм ИМ через контакты КМ4:4 закрывает смесительный клапан полностью, а вентиляция картофеля осуществляется рециркуляционным воздухом.
В режиме «Охлаждение» переключатель SA2 ставят в положение 0 и в работу вводится дифференциальный терморегулятор Р1, который при помощи датчиков ВК и BK1 сравнивает температуры наружного воздуха и в массе хранимого продукта. Если разница между ними больше так называемого дифференциала (2…3 °С), то срабатывает терморегулятор Р1 и включает промежуточное реле KV2. Контактами KV2:1 реле KV2 вводит в работу терморегулятор Р3 (типа ПТР-2), а затем контактом Р3 вводится в работу регулятор Р4. В результате этого пускатель КМ4 включает приточный вентилятор. Контактами KV2:2 включается пропорциональный терморегулятор Р5, который посредством датчика ВК5 и исполнительного механизма ИМ управляет температурой воздуха в системе вентиляции.
При отклонении этой температуры от заданной терморегулятор Р5 своими замыкающими Р5:2 и размыкающими Р5:1 контактами включает исполнительный механизм, поворачивающий заслонку смесительного клапана в такое положение, при котором устанавливается необходимая температура смешанного наружного и рециркуляционного воздуха. Охлаждение продолжается до тех пор, пока температура в массе хранимого продукта не достигнет заданного значения, после чего посредством датчика ВК3 и контактов Р3 терморегулятора Р3 отключается магнитный пускатель КМ4 приточного вентилятора. Если температура наружного воздуха длительное время превышает температуру в массе продукта, то вентиляция ведется только рециркуляционным воздухом. Сигнал на включение магнитного пускателя КМ4 вентилятора подается от программного реле времени через контакты КТ. В этом случае смесительный клапан закрыт и теплый наружный воздух в хранилище не поступает.
В режиме «Хранение» переключатель SA2 ставят в положение X. Приточный вентилятор включается контактами КТ программного реле времени 4…6 раз в сутки для снятия перепадов температуры в массе продукта. При этом блок-контактами КМ4:3 магнитного пускателя через переключатели SA1 и SA2 подключаются терморегулятор P1, реле КV2 и терморегулятор Р3. В дальнейшем схема действует так же, как и в режиме охлаждения. Если температура в течение заданного при помощи реле времени КТ цикла работы не снизилась до нормы, то вентилятор продолжает работать до тех пор, пока не разомкнутся контакты регулятора Р3. При отключении вентилятора смесительный клапан автоматически закрывается при помощи блок-контактов КМ4:4, управляющих работой исполнительного механизма ИМ. В том случае, когда температура в верхней части хранилища над продуктом оказывается меньше заданной, что может вызвать выпадение конденсата в продукт, от датчика ВК2 срабатывает терморегулятор Р2 и через магнитные пускатели КМ1 и КМ2 включает рециркуляционно-отопительные агрегаты.
Рециркуляционно-отопительные агрегаты работают только при выключенном приточном вентиляторе (блок-контакты КМ4:1 замкнуты), отключение их осуществляется контактом Р2 терморегулятора, когда температура верхней зоны равна заданному значению.
Автоматическое управление подогревателем смесительного клапана задают переключателем SA3 (положение А) при снижении наружной температуры до —15°С. Он включается магнитным пускателем КМЗ или автоматически от реле КT, или вручную кнопками SB3 и SB4 (SB3 в положении Р). Желательно включение в состав оборудования хранилища холодильной машины.
Схема ШАУ-АВ предусматривает возможность управления температурой в ручном и автоматическом режимах. При этом в случае повышения температуры в массе продукта выше нормы в момент, когда наружная температура высока, одновременно с включением приточного вентилятора включается и холодильная машина. Тогда температура воздуха, поступающего в магистральный канал, регулируется терморегулятором, входящим в комплект холодильной машины.
Микропроцессорная система управления микроклиматом теплиц «Среда» более совершенна, чем оборудование тина ОРТХ.
Как и устройство ШАУ-АВ, она обеспечивает автоматическое пропорциональное регулирование температуры воздуха, направляемого в массу хранимого продукта, двух позиционное регулирование температуры хранимого продукта и воздуха в верхней зоне хранилища, а также ряд технических измерений, сигнализацию отклонений температуры от заданной в отдельных секциях хранилища и т.д. Система «Среда» может управлять технологическим процессом в восьми секциях хранилища овощей вместимостью до 5000 т. В каждой секции овощехранилища установлены два рециркуляционно-отопительных агрегата, приточный вентилятор, смесительный клапан с приводом от ИМ, обогреватель клапана, несколько датчиков температуры воздуха (в верхней зоне и в магистральном канале), датчики температуры в массе хранимого продукта.
Функциональная блок-схема системы «Среда-1» для управления микроклиматом в хранилище, показана на рисунке 3, где 1 - измерительные преобразователи; 2 - блоки измерения и задания; 3 - блоки переключателей; 4 - двухпозиционный регулятор; 5 – про-порциональный регулятор; 6 - блок синхронизации; 7 - блоки управления; 8 – исполни-тельный механизм; 9 - регулятор разности температур; 10,11 - измерительные преобразо-ватели температуры соответственно наружного и внутреннего воздуха; 12 - логометр
Рис. 3) 
В каждой из восьми секций хранилища устанавливают четыре измерительных преобразователя 1: для двухпозиционного регулирования температуры в массе хранимого продукта, надзакромном пространстве и два в магистральном канале (для пропорционального регулирования температуры подаваемого воздуха за счет смешивания холодного наружного и теплого рециркуляционного воздушных потоков). Блоки измерения и задания 2 формируют 32 аналоговых сигнала, пропорциональных текущему значению регулируемого параметра. Эти сигналы через блоки переключателей 3 (коммутаторы) в установленной последовательности подаются на вход двухпозиционного 4 или пропорционального 5 регулятора. Также в синхронной последовательности, задаваемой работой электронного блока 6, через блоки управления 7 осуществляется переключение исполнительных цепей регулятора 4 или 5.
Регулятор 9 разности температур наружного 10 и внутреннего 11 датчиков воздуха в случае повышения наружной температуры до заданного уровня переключает систему на вентиляцию продукта внутренним (рециркуляционным) воздухом. Логометр 12, получающий питание, как и все другие элементы схемы, от блока БП, через переключатель S позволяет проконтролировать температуру в 39 точках по объему хранимого продукта.
Алгоритм функционирования системы «Среда» аналогичен описанному ранее алгоритму функционирования устройства ШЛУ-АВ.
4. АВТОМАТИЗАЦИЯ ФРУКТО- И ЗЕРНОХРАНИЛИЩ
Автоматизация фруктохранилищ. Конструкции фрукто- и овощехранилищ имеют много общего. Автоматизация хранения фруктов вызвана необходимостью охлаждения продукта и точного поддержания температуры и относительной влажности воздуха. Поэтому в системе автоматизации оборудования фруктохранилища предусмотрено управление воздухоохладительными установками, подачей пара для увлажнения воздуха в камерах и концентрацией газа в газовых хранилищах.
В помещениях для хранения фруктов (фруктохранилищах) концентрацию диоксида углерода поддерживают на уровне, существенно более высоком, чем в атмосферном воздухе: 1 % и более. При этом содержание кислорода уменьшается, а азота увеличивается, благодаря чему улучшаются условия хранения фруктов. Содержание СО2 регулируют, пропуская циркуляционный воздух через известковое молоко или сжигая газ при контролируемой подаче воздуха. Полученная таким образом газовая смесь, обогащенная также и азотом, охлаждается и подается в хранилище. Рекомендуемая температура хранения — менее 5 °С, но не ниже температуры подмерзания плодов -- должна поддерживаться с высокой точностью. Большое значение имеет также контроль влажности газовой смеси, от которой зависит потеря влаги хранимыми плодами, и контроль содержания газа этилена, выделяемого плодами.
Для фруктохранилищ вместимостью от 1000 до 3000 т разработан комплект электрооборудования, который обеспечивает АУ микроклиматом в камерах хранения фруктов, управление работой конденсаторного и испарительного оборудования, управления работой и защиту компрессоров холодильных машин от аварийных режимов, сигнализацию о режимах работы оборудования. Один комплект может автоматически управлять двумя — четырьмя камерами.
Автоматическая СУ микроклиматом предназначена для поддержания в камерах заданных значений температуры, влажности воздуха, циклического его перемешивания в камерах, включения и отключения установок приточной и вытяжной вентиляции, аммиачных и водяных насосов, оттаивания воздухоохладителей, а также для контроля за температурой и влажностью воздуха в камерах и температурой в отдельных точках холодильной установки.
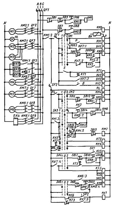
Электрическая принципиальная схема СУ микроклиматом во фруктохранилище показана на рисунке 4. Напряжение на схему автоматического управления подают, нажимая на кнопку SB6. В случае экстренной необходимости все агрегаты можно одновременно отключить одной из кнопок SB1…SB5, расположенных в определенных местах фруктохранилища. С помощью кнопок SB7, SB8 управляют аварийным вентилятором M1 (мощностью 1,5 кВт).
Схему СУ температурой и относительной влажностью воздуха первой камеры фруктохранилища включает автомат SF1. Переключателем SA1 выбирают режим работы системы: 0 - отключено управление; 1 - ручной (при накладке): 2- автоматическая работа.
В автоматическом режиме при повышении температуры в ка-мере срабатывает терморегулятор Р, который включает реле КV1. Реле KV1 своими контактами КV1:1, КV1:2 и КV1:3 включает соответственно электромагнитный аммиачный вентиль УА1, магнитный пускатель КМ3 электроприводов М2 и М3 (мощностью по 2,2 кВт) вентиляторов воздухоохладительных установок и магнитный пускатель КМ6 или КМ7 электропривода одного из аммиачных насосов М4 или М5 (по 5,5 кВт) подачи аммиака как хладоносителя в воздухоохладители камер. Когда температура в камере достигает заданного значения, контакты терморегулятора Р размыкаются и электродвигатели М2…М5 и электромагнитный вентиль УА1 отключаются.

Рисунок 4 – Принципиальная электрическая схема управления микроклиматом фруктохранилищ
Режим работы аммиачных насосов выбирают, устанавливая переключатель SA3 в одно из положений: 1 — оба насоса отключены: 2 — рабочий насос М4 (М5 в резерве); 3 — ручное управление (при наладке); 4 — рабочий насос М5 (М4 в резерве). При успешном пуске рабочего насоса срабатывает датчик давления SP1, который включает реле KV5. Реле KV5 одним контактом подает напряжение на включение компрессоров холодильной установки (на схеме не показаны), а вторым — отключает реле выдержки времени КТ2, предназначенное для включения резервного насоса. Если пуска рабочего насоса не произошло или отсутствует давление аммиака в системе рабочего насоса, датчик SP1 размыкает цепь реле КV5, которое включает реле КТ2. Последнее своим контактом КТ2 через 10 с включает реле KV4, которое подключает резервный насос.
Относительную влажность воздуха в камере фруктохранилища регулируют с помощью влагорегулятора В. При понижении влажности воздуха контакты В включают реле KV3, которое при помощи магнитного пускателя КМ5 дополнительно подключает к электроподогревателю воды ЕК1 секции ЕК2 и ЕКЗ электропарообразователя. Пар в камеру подается для повышения влажности воздуха включением соответствующей задвижки, установленной на паропроводе. Когда влажность воздуха в камере достигает нормы, подача пара прекращается. Подогреватель ЕК1 (0,5 кВт) включен постоянно для предотвращения замерзания воды при низких внешних температурах. В схеме предусмотрена защита парообразователя от «сухого хода» при помощи регулятора уровня воды PL. Если уровень воды в увлажнителе понизится, то регулятор уровня разомкнет контакты РЕ и отключит нагреватели EK1…EK3.
Для создания более равномерного распределения температурно-влажностного поля воздуха внутри камер предусмотрено циклическое перемешивание воздуха при помощи вентиляторов воздухоохладителей. Цепь управления вентилятором первой камеры включают тумблером S. Режим управления работой вентилятора (длительность и время включения и отключения) настраивают при помощи программного реле КТ1, которое через реле KV2 и магнитный пускатель КМ3 управляет работой электродвигателей М2 и М3 вентиляторов.
Системой автоматики предусмотрено управление процессом удаления льда («снеговой шубы»), который постепенно накапливается на поверхности воздухоохладителей. Режим системы удаления льда выбирают переключателями SA4 и SA5, устанавливая их в положения: 1 — наладка; 0 — отключено; 2 — автоматическая работа. Наличие «снеговой шубы» на внешней поверхности воздухоохладителя обнаруживает реле давления SP2, которое воспринимает разность давлений до воздухоохладителя и после него. При увеличении этой разности из-за закрытия воздухопроводов «снеговой шубой» замыкаются контакты SP2, включается и самостоятельно блокируется реле KV7. Контактами КV7:2 реле KV7 отключает магнитный пускатель КМ3 вентиляторов воздухоохладителей, контактами KV7:1 — аммиачный электромагнитный вентиль УА1 и одновременно контактами KV7:3 включает электромагнитный вентиль УА2 воды для оттаивания льда, а контактами КV7:4 — реле выдержки времени КТ3 и реле KV6. Реле КV6 отключает реле KV7. Через период времени (выдержка), равный 3 мин и достаточный для стока аммиака из воздухоохладителя, контактом КТЗ включается магнитный пускатель КМ8, который своими контактами открывает электромагнитный вентиль воды УАЗ, включает посредством магнитного пускателя КМ8 электропривод М6 (4 кВт) насоса воды для оттаивания и посредством магнитного пускателя КМ9 - электронагреватель ЕК4 (15 кВт) воды для оттаивания. Через 27 мин контактом КТЗ выключаются электропривод М6 насоса воды для оттаивания и электронагреватель ЕК4 и под действием пружины закрывается электромагнитный вентиль УА3 стока воды. Процесс оттаивания прекращается, и через 3 мин контактами КТ3 выключается реле KV7. Выдержка в течение этих 3 мин обеспечивает сток воды с воздухоохладителя и предотвращает включение электромагнитного аммиачного вентиля и воздухоохладителя сразу же после окончания оттаивания. Реле KV7 отключает магнитным пускателем КМ8 электродвигатель М6 насоса, электромагнитные вентили УА2, УА3 и нагреватель ЕК4 воды для оттаивания. Это же реле KV7размыкающими контактами KV7:1 и KV7:2 вновь вводит в автоматическую работу аммиачный вентиль УА1 и магнитный пускатель КМ3 электроприводов М2 и МЗ вентиляторов воздухоохладителя.
Кроме устройств управления микроклиматом в камерах в рассмотренный комплект входят автоматические системы регулирования и контроля уровня и температуры аммиака, системы управления компрессорно-конденсаторной группой, вентиляцией, воздушной завесой, включаемой при открытии камер, и рассольными насосами, а также приборы контроля, сигнализации и защиты электрооборудования.
Автоматизация зернохранилищ. Семенное зерно хранят в мешках или закромах вместимостью от 100 до 5000 т, а фуражное зерно — россыпью в железобетонных силосах или металлических бункерах вместимостью до 10 000 т.
Крупные зернохранилища оборудованы электромеханизированными установками для загрузки и разгрузки зерна с автоматическими системами управления соответствующими параметрами.
Главная цель управления — сохранение жизнедеятельности семян и хлебопекарных качеств зерна. Жизнедеятельность зерна при хранении проявляется в его дыхании, вследствие которого происходят потери сухого вещества, повышаются влажность зерна и межзерновое пространство, а также температура зерновой массы (самосогревание). Исходя из этого, интенсивность дыхания при хранении зерновой массы следует свести к минимуму, но без ухудшения качества продукта. Интенсивность дыхания резко увеличивается с повышением влажности зерна, поэтому на хранение надо закладывать зерно с влажностью ниже критической, т.е. ниже 14 %. На интенсивность дыхания также влияет температура. Оптимальный температурный диапазон для семенного зерна 0…10 °С.
Целевой функцией управления процессом хранения является минимизация потерь массы зерна, т.е.
П = f (t3, w 3, B3) → min
при соответствующих ограничениях по качественным показателям продукта (температура t3 и влажность w 3 не выше, а всхожесть В3 не ниже заданной).
Алгоритм оптимального управления процессом хранения семян в соответствии с описанным выше критерием предусматривает контроль температуры t3 влажности w 3 и всхожести В3 зерна.
Температуру и влажность зерна в хранилищах закромного типа контролируют вручную при помощи термометров и влагомеров, погружаемых в различные места закрома. Остальные параметры также периодически контролируют, отбирая пробы и анализируя их в лаборатории. Температуру контролируют не менее двух раз в месяц, влажность — один раз в месяц, а всхожесть — один раз в 4 мес.
5. АВТОМАТИЗАЦИЯ УЧЕТА, КОНТРОЛЯ И СОРТИРОВАНИЯ СХП
Контроль и учет сельскохозяйственной продукции (СХП) позволяют своевременно выявить и устранить все недостатки производства.
Поступающую в хранилище и отпускаемую из него продукцию обязательно учитывают и регистрируют в специальной ведомости или передают данные в память ЭВМ. Продукцию взвешивают на железнодорожных или автомобильных весах, устанавливаемых непосредственно при въезде на территорию хранилища. Качество хранения СХП контролируют визуально на местах или по отобранным образцам химическими методами в лабораториях хозяйств и районных центральных лабораториях. Результаты анализов фиксируют в специальных журналах и сообщают руководителям и агротехническим службам хозяйств.
При помощи технических средств автоматики контролируют микроклимат в хранилищах, температуру и влажность хранимого продукта, очищают и сортируют его перед закладкой на хранение и перед поступлением к потребителю или на посев.
Зерно и зернопродукты закладывают на хранение предварительно очищенными, просушенными и охлажденными до 10 °С и ниже, т.е. до температур, при которых все жизненные функции живых компонентов зерновой массы затормаживаются. Для успешного хранения зерна в складах необходимо периодически контролировать влажность и температуру зерновой массы.
Влажность контролируют в лабораторных условиях путём проверки проб семян, взятых из отдельных мест хранилища, а температуру — по показаниям датчиков температуры, заложенных в отдельные места хранимой зерновой массы. Для семенного зерна нельзя допускать снижение температуры до —2°С, так как из-за наличия свободной влаги и ее замерзания нарушается целость семени и снижается всхожесть. По показаниям датчиков температуры обнаруживают очаги самосогревания зерновой продукции и гнили в овощехранилищах.
Самосогревание влажной зерновой массы обусловлено протекающими в ней биохимическими процессами и плохой теплопроводностью. При этом температура в самосогреваемом участке насыпи поднимается до 70 °С, что ведет к потере посевных, технологических, пищевых и фуражных качеств зерновых продуктов. Самосогревание возникает в невентилируемых местах, в которых находится зерно повышенной влажности, особенно свежеубранное, с большой физиологической активностью. Процесс самосогревания зерновых продуктов и гниения картофеля и овощей сопровождается не только повышением температуры, но и увеличением выделения влаги. Вследствие этого очаги самосогревания и гниения можно обнаруживать не только датчиками температуры, но и по увеличению показаний датчиков относительной важности воздуха, закладываемых в массу хранимой продукции.
СОРТИРОВАНИЕ СХП. Поскольку существующие способы и устройства очистки и сортирования зерновых культур и продуктов их переработки изучают в дисциплине «Комплексная механизация сельского хозяйства», то здесь рассмотрены новые принципы автоматического сортирования СХП по ее оптическим и электрическим свойствам, характеризующим степень зрелости и другие качества плодов томата, яблок, клубней картофеля, корнеплодов, семян, листьев табака.
Сортирование картофеля по размерам, отделение комков земли, камней, клубней, пораженных гнилью и фитозеленью, представляет собой важную послеуборочную операцию. Необходимость сортирования картофеля перед его посадкой вызвана тем, что в процессе хранения до 20% клубней семенного картофеля поражаются различными гнилями.
Затраты ручного труда на отделение загнивших клубней перед посадкой составляют 20…30 % общих трудозатрат на производство картофеля, а посадка несортированного картофеля приводит к недобору 15…20 % урожая.
Для сортировки картофеля разработаны оптические, радиоизотопные и температурные методы обнаружения загнивших клубней и клубней, пораженных фитозеленью, а также комков почвы и камней.
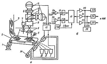
Рассмотрим принцип работы оптической установки для автоматического сортирования клубней картофеля (рисунок 5), использующей спектральную характеристику коэффициентов отражения клубней.

Рисунок 5 – Схема установки для автоматической сортировки клубней картофеля:
1 - электропривод; 2 - транспортер-выстраиватель; 3 - бункер-питатель; 4 – клубни картофеля; 5 - оптические излучатели; 6 - объектив; 7 - анализатор изображения; 8 - делитель излучения; 9 - конденсаторы; 10 - оптические фильтры; 11 - фотоприемники; 12 - блок обработки информации; 13 - исполнительный механизм; 14 - заслонка; 15, 16 - емкости для отходов и здоровых клубней
Спектральные характеристики коэффициентов отражения здоровых и больных клубней, как и комков почвы и камней, существенно различаются на определенных длинах λ волн. Из бункера-питателя 3 клубни картофеля 4 поступают на роликовый транспортер, который поштучно выстраивает и, вращая, перемешает их в зону оптического осмотра. Отраженный от клубня оптический поток инфракрасных излучений 5 проходит через объектив 6 и анализатор изображения 7 на делитель излучения 8. С делителя излучений оптический поток, разделяемый на два канала, поступает через конденсаторы 9 и фильтры 10 к фотоприемникам 11. Анализатор изображения позволяет поочередно осматривать (сканировать) поверхность клубня. От фотоприемников сигналы, пропорциональные коэффициентам отражения оптического потока от поверхности клубня на двух длинах волн (0,95 мкм и 1,25 мкм), поступают на электронный блок обработки 12. Электронный блок вычитает эти сигналы. В результате на выходе блока 12 появляется сигнал, который передается на исполнительный механизм 13 только от поврежденного клубня или комков почвы и камней.
В этом случае электромеханический исполнительный механизм 13 реагирует на отрицательный знак сигнала и поворачивает заслонку 14, направляя клубни или инородные тела в емкость 15 для отходов.
При осмотре здорового клубня разность сигналов от обоих фотоэлементов положительная, исполнительный элемент 13 не срабатывает, а клубень свободно падает в емкость 16. Время передачи клубня из зоны осмотра в емкости согласуется со временем прохождения сигнала и срабатывания механизма 13 так, чтобы последний отбрасывал поврежденные клубни при прохождении их мимо заслонки 14. Производительность одного канала современной установки до 8 клубней в секунду, или около 2 т/ч. Погрешность работы составляет 5…10 % в зависимости от загрязненности поверхности, а на мокрых клубнях достигает 30 %.
Сортирование плодов томатов проводят по размерам и зрелости, а также отделяют плоды, пораженные болезнями. По размеру плоды томатов сортируют на механических калибровочных машинах. При разделении по зрелости и отделении больных плодов замеряют упругость и жесткость кожицы плодов или их оптические отражательные свойства.
На рис. 6, а - «Схема автоматической сортировки плодов томатов по оптическим спектральным характеристикам», показан принцип разделения плодов томатов на три фракции по зрелости, а точнее — по окраске их поверхности.

1 - плод; 2 - осветители; 3 - фотометрическая камера; 4 - фотоэлементы; 5 - усилительно-преобразовательное устройство; 6 - исполнительный механизм; 7 - заслонка; 8 - привод сканирующего устройства
Плод 1 в свободном падении пролетает через центр фотометрической камеры 3, где он облучается осветителями 2 видимого излучения. Отраженные от плода излучения, многократно преломляясь на внутренней, окрашенной в белый цвет поверхности камеры, попадают на светочувствительные фотоэлементы 4. При отсутствии плода потоки видимого излучения от источников освещения, направленные навстречу друг другу, создают незначительную освещенность в камере. При пересечении плодом светового потока фотоэлементы 4 воспринимают отраженный поток определенного спектра, зависящего от зрелости (цвета) плода 1. Сигнал с фотоэлементов суммируется и подается на усилительно-преобразовательное устройство 5, которое при помощи исполнительного механизма 6 с заслонкой 7 разделяет плоды на три фракции — I, II и III (зеленые, бурые и красные).
Для сортирования плодов яблок, имеющих поврежденную поверхность от механических ударов или пятна на кожуре от болезней, используют сканирующие устройства (рисунок 6, б). В сканирующей системе видимое излучение от осветителя 2, управляемого при помощи электропривода 3, поэлементно освещает поверхность плода. Отраженный луч воспринимается фотоэлементом 4 и направляется в усилительно-преобразовательное устройство 5. Значение выходного сигнала u (t) фотоэлемента зависит от состояния поверхности и измеряется во времени по форме, показанной в нижней части на рисунке 6, б.
Усилительно-преобразовательное устройство 5 вычисляет величину ∑ n (t3 – t2), где n – число строк сканирования поврежденного участка поверхности плода (заштрихованная часть на рисунке); t2 и t3 — время пересечения сканирующим лучом границ поврежденного и неповрежденного участков.
С выхода устройства 5 к исполнительному механизму ИМ сортирующей установки поступает сигнал, пропорциональный площади повреждения S n: S n = k ∑ n (t3 – t2). Эту же сортирующую установку можно использовать для разделения овощей и плодов по размеру, перенастроив усилительно-преобразовательное устройство на вычисление суммы, пропорциональной площади SМ медианного сечения объекта: SМ = k ∑ m (t4 – t1), где k — коэффициент пропорциональности; t1 и t4 — время пересечения сканирующим лучом профиля плода; m — число строк сканирования поверхности объекта.
Для автоматического сортирования листьев табака на три товарных сорта предложено использовать отражательные свойства листьев табака и их цветовые характеристики в так называемой стандартной колориметрической системе RGB [первые буквы английских слов red (красный), green (зеленый) и blue (голубой)].
Последний показатель тесно связан с характеристикой сортности листьев: к первому сорту относят желтые листья с содержанием темной зелени до 20 % площади листа, ко второму — с содержанием темной зелени до 50 %, к третьему сорту — с содержанием темной зелени свыше 50 %. Закупочная цена первого сорта в 4…5 раз выше цены низшего сорта табака.
Сортирующее устройство определяет процент темной зелени на площади листа табака. В зависимости от этого процента листья делят на три сорта. Принцип действия такого сортирующего устройства показан на рисунке 7.

Рисунок 7 – Схемы распознающего устройства (а) и электронного блока (б) автоматической сортировки листьев табака на три товарных сорта:
1 - электропривод транспортера; 2 - транспортер; 3 - подающее устройство; 4 - листья табака; 5 - осветитель; 6 - объектив; 7 - сканирующий диск с электроприводом; 8 - конденсатор; 9 - светорасщепляющая оптика с дихроническими зеркалами; 10 - корректирующие фильтры; 11 - фотоэлементы; 12 - электронный блок анализа; 13 - пневматические исполнительные механизмы; 14 - компрессор; 15, 16 - усилители-компараторы; 17, 18 - логические элементы; 19 - вычислительное устройство; 20, 21, 22 - компараторы; 23, 24, 25 - реле исполнительных механизмов; 26 - блок индикации;
I, II и III - емкости для приема листьев табака соответствующего сорта;
ГТИ – генератор тактовых импульсов
Листья табака 4 поступают на транспортер 2 из подающего устройства 3. Транспортер при помощи электропривода 1 переносит лист в зону сканирования. Оптический поток излучателя 5, отражаясь от листа, проходит через объектив 6, отверстие сканирующего диска 7 и конденсатор 8 на светорасщепляющую оптику 9. В оптике 9 поток отраженного излучения разделяется на два канала, в которых при помощи фильтров 10 выделяются участки спектров G и R. Оптические сигналы, пропорциональные значениям G и R, воспринимаются фотоэлементами 11 и передаются в форме напряжений UR и UG на электронный блок анализа 12. В электронном блоке эти напряжения UR и UG сравниваются с опорными напряжениями UОП, характеризующими границу разделения цветовых характеристик R и G. Вычислительное устройство 19 совместно с логическими элементами И 17 и 18 определяет темно-зеленую SG и желтую SR плошали листа, а также процент темно-зеленой площади. К = [ SG / (SG + SR) ]·100.
Генератор тактовых импульсов (ГТИ) включает в работу логические элементы только при попадании листа табака в поле объектива и сбрасывает результаты вычисления при уходе листа табака из поля объектива.
Выходной сигнал с вычислительного устройства поступает на компараторы (сравнивающие устройства) 20, 21 и 22, которые разделяют его на три канала в соответствии с определенным сортом листа. С выходов компараторов сигналы проходят на индикатор 26, определяющий количество листьев по сортам, и на реле 23, 24 и 25. Листья первого сорта свободно направляются в емкость II, а листья второго и третьего сортов при помощи реле 24, 25 и пневматических клапанов 13 — в емкости I и III. Питание пневмоклапанов осуществляется от воздушного компрессора 14.
У опытного образца устройства погрешность сортирования 4,5 %, производительность — до 10 листьев в секунду, или 65 кг/ч. Аналогичное устройство используют для сортирования рассады на заданное количество групп в зависимости от суммарной площади листьев.
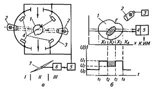
Схема прибора для определения свежести яиц перед их закладкой в инкубатор показана на рисунке 8, а. Работа прибора основана на оптическом методе измерения положения желтка, которое постепенно всплывает в процессе его хранения. В яйце со временем белок постепенно разжижается при одновременном повышении его плотности, а упругость связей, удерживающих желток в центре яйца, снижается. Вследствие этого расстояние между желтком и скорлупой под желтком увеличивается, а над желтком уменьшается. Для определения свежести яйца его просвечивают излучателем 2. Световые потоки, прошедшие под желтком ФП и над ним ФН, замеряют фотоэлементами 3 и 5. Сигналы с них поступают на вычислительное устройство, которое определяет так называемый индекс подъема желтка (ИПЖ) по формуле: ИПЖ = ФП/ФН. ИПЖ зависит от времени кладки яйца птицей (рисунок 8, б).
Электрические способы сортирования СХП и материалов основаны на том, что их электрические параметры (электропроводность, диэлектрическая проницаемость, поляризуемость и др.) зависят от состава и структуры строения, спелости и зрелости, биофизических и биохимических свойств, шероховатости поверхности, плотности, жизнеспособности и других свойств сепарируемого материала.
Принцип действия таких сепарирующих устройств рассмотрим на примере диэлектрических сепараторов, применяемых в сельском хозяйстве для выделения биологически ценных семян, очистки семян от трудноотделимых карантинных семян сорных растений и для калибровки семян (по размерам, по однотипности посевных и пищевых свойств и т. п.).
На рисунке 8, в показана функциональная схема диэлектрического сепаратора семян.
в)
Рисунок 8 – Функциональная схема прибора (а) для определения свежести яиц и зависимость (б) индекса подъема желтка (ИПЖ) от температуры хранения, где
1 – желток яйца, 2 – излучатель, 3, 5 - фотоэлементы; 4 — вычислительное устройство
Функциональная схема диэлектрического сепаратора семян (в):
1 - автотрансформатор; 2 - бункер; 3 - барабан; 4 - щётка; 5 - кольцо; 6 - обмотка
На цилиндрическом барабане 3 бифилярно намотана в один слой двухпроводная изолированная обмотка. К несоединенным между собой проводам обмотки от автотрансформатора 1 через кольца 5 и газосветный трансформатор (внутри барабана) подается напряжение 0,5…0,7 кВ промышленной частоты 50 Гц. Значение напряжения устанавливают в соответствии с видом сепарируемых семян (злаковые, овощные бобовые, масличные, цветочные и другие культуры). Семена из бункера 2, попадая на обмотку 6, притягиваются к ней, а затем под действием силы тяжести и центробежных сил отрываются с нижней части барабана и попадают в различные секции приемного бункера в зависимости от их свойств. Щетки 4 служат для удаления с обмоток прилипшей мелкой и легкой сорной примеси и пыли.
Таким образом выделяется фракция семян (обычно первая по направлению вращения барабана), имеющая лучшие посевные качества. Из такой фракции получается более высокая урожайность (на 15…20%), снижаются нормы высева почти в 2 раза, наблюдается более раннее одновременное созревание урожая с повышенной на 10…15 % стандартностью продукции.
Электрические, оптические, тепловые и акустические свойства сельскохозяйственной продукции (СХП) используют также при создании новых приборов контроля зрелости арбузов, посевных качеств семян, содержания жира и белка в молоке, свежести яиц, упитанности животных и т. п.
Контрольные вопросы и задания
1. Назовите назначение и особенности управления микроклиматом в овощехранилищах.
2. Охарактеризуйте овощехранилище как объект автоматического управления.
3. Объясните работу технологической схемы автоматического управления температурой в овощехранилище.
4. Расскажите о последовательности работы электрической схемы ШАУ-АВ в периоды охлаждении, лечения и хранения продукции.
5. Поясните принцип действия блок-схемы «Среда».
6. Назовите особенности автоматизации фруктохранилищ.
7. Как работает электрическая схема управления микроклиматом фруктохранилища?
8. Как и какими параметрами управляют при хранении зерна?
9. Расскажите об автоматизации учета и контроля параметров хранимой продукции.
10. Объясните принципы работы систем автоматического сортирования клубней картофеля, плодов томатов, яблок, листьев табака и яиц.
11. Для чего предназначен и как работает диэлектрический сепаратор семян?