Характеристика и классификация муфт
Муфты приводов
Муфты осуществляют передачу вращающего момента от одного вала к другому соосному валу без изменения частоты и направления вращения.
Механические муфты классифицируются по схеме:

Глухие муфты применяют, в основном, для соединения валов, которые можно выставлять с наименьшей погрешностью монтажа. Они просты по конструкции, но обладают рядом недостатков: детали муфты, соединяемые валы и их опоры подвергаются воздействию дополнительных изгибающих моментов и поперечных сил, обусловленных погрешностями монтажа (несоосностью валов), что ограничивает их применение.
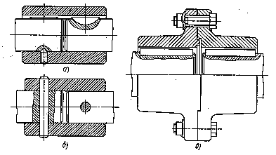
Для относительно небольших диаметров (до 70 мм) применяют втулочные муфты (стандартизированы по ГОСТ 24246-80).
![]() | |||
![]() | |||
|









|



|





Глухие муфты (втулочные - а, б и фланцевая - г).
Шпонки втулочных муфт проверяют на смятие по зависимости (7.7), а штифты – на срез
, (10.2)
где Ft – окружная сила,
;
А – площадь среза штифта,
.
Наибольшее распространение получила фланцевая муфта (рис. 10.1, в), которая состоит из двух полумуфт 1, соединенных болтами 2.
|
|
|
Фланцевые муфты стандартизированы (ГОСТ 20761-80). Они просты по конструкции и надежны в работе. Их применяют для соединения валов с диаметрами 12…200 мм.








