В качестве режущих элементов используют природные или синтетические алмазы и материалы на основе кубического нитрида бора массой до 1 – 3 карат (1карат ≈ 0,2 грамм) в зависимости от длины режущей кромки
, где G – масса режущего элемента.
Алмазные резцы применяют для обработки заготовок из цветных металлов и сплавов, стеклопластиков, пластмасс и некоторых других материалов. Композиты (эльбор – Р, гексанит – Р) применяют для обработки заготовок из закаленных сталей и чугунов. В связи с невысокой прочностью сверхтвердых материалов возможна лишь чистовая и получистовая обработка с небольшой глубиной резания и небольшой подачей. Эффективность работы резцов из сверхтвердых материалов в 5 – 6 раз выше эффективности работы твердосплавных резцов. Передние и задние углы у резцов следует назначать с учетом обеспечения необходимой прочности лезвия. Передний угол γ=5…100 назначают в зависимости от свойств материала заготовки, задний угол α = 8 …120.
В производстве применяют следующие конструкции резцов с СТМ:
1) с припаянным алмазом (рис. 4.24).

Рис. 4.24
2) с механическим креплением кристалла алмаза (рис. 4.25).

Рис. 4.25
Режущие кромки этих резцов могут быть прямолинейными (рис. 4.26), радиусными (рис. 4.27) и с переходной фаской (рис. 4.28); последние два варианта улучшают шероховатость обрабатываемой поверхности и несколько повышают стойкость РИ.

Рис. 4.26 Рис. 4.27
Рис. 4.28
3) с механическим креплением минивставок с кристаллами алмаза или композита (рис. 4.29).

Рис. 4.29
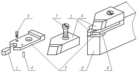
4) с механическим креплением многогранных пластин из композита (рис. 4.30).

Рис. 4.30
1 - многогранная пластина; 5 - винт крепления обоймы;
2 - корпус; 6 - прихват;
3 - обойма; 7 - винт крепления прихвата;
4 - штифт; 8 - твердосплавная подкладка.






