Отрезные и канавочные резцы
Отрезные резцы работают в тяжелых условиях (стесненное резание, все режущие кромки участвуют в резании, затруднен отвод стружки из зоны резания).
Особенности конструкции отрезных резцов.
1. Длина рабочей части резца должна бать больше радиуса отрезаемой заготовки.
2. В следствие небольшой ширины главных режущих кромок ее прочность недостаточна; для повышения прочности главной режущей кромки приходится назначать небольшие вспомогательные углы в плане φ1≈ (1 - 2º) и задние вспомогательные углы α1≈ (1 - 2º), что снижает стойкость резцов.
Отрезные резцы могут быть следующих исполнений:
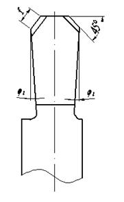
1) с оттянутой головкой из быстрорежущей стали или с припаянной пластиной из твердого сплава, с главным углом в плане φ = 90º (рис. 4.34) или φ = 75…80º для исключения отламывания отрезаемой части в конце отрезки (рис. 4.35);
Рис. 4.34 Рис. 4.35
2) с увеличенной высотой рабочей части резца для увеличения его прочности (рис. 4.36);

Рис. 4.36
3) с твердосплавной припаянной пластиной с V- образной опорой для более надежного крепления пластины на державке резца (рис. 4.37);

Рис. 4.37
4) с фасками на переходных режущих кромках с отрицательным передним углом для исключения возможных сколов по уголкам режущих кромок (рис. 4.38);


Рис. 4.38 Рис. 4.39
5) с симметричной ломанной главной режущей кромкой, с главным углом в плане φ = 60…80º для облегчения врезания в заготовку, отрезки без отлома и улучшения условия дробления стружки (рис. 4.39);
6) с механическим креплением пластины с V- образной опорой (рис. 4.40);

Рис. 4.40
7) с креплением клиновой пластины с двухсторонней V- образной канавкой австралийской фирмы (рис. 4.41);

Рис. 4.41






