МДП–структура
Если на окисел, покрывающий поверхность кристалла, нанести металлический электрод (затвор), то, изменяя его потенциал относительно объема кристалла, возможно изменять величину заряда в приповерхностной области полупроводника и, соответственно, её проводимость. Этот эффект положен в основу целого ряда полупроводниковых устройств, среди которых самое известное – МДП-транзистор.
Рассмотрим идеальный МДП-конденсатор, энергетическая диаграмма которого представлена на рис. 1.
| |
| Рис. 1 |
Состояние носителей в разнородных материалах (металл – диэлектрик - полупроводник) можно сравнить, используя понятие нулевого потенциала, то есть принимая потенциал какой-либо точки (например, потенциал вакуума) за нуль (рис. 1). Тогда для перевода электрона со дна зоны проводимости полупроводника в вакуум без сообщения ему скорости потребуется энергия q·χ, равная:
. | (1) |
Энергия q·χ есть энергия электронного сродства, χ. - сродство к электрону полупроводника. Если энергию электрона отсчитывать от энергии Ферми, а не от
, используют понятие термоэлектронной работы выхода или просто работы выхода Φ:
|
|
|
. | (2) |
Таким образом, работа выхода равна разности между энергией покоящегося электрона в вакууме у поверхности образца полупроводника и уровнем Ферми в данном полупроводнике.
На границе металл-диэлектрик, диэлектрик-полупроводник, а в отсутствии диэлектрика на границе металл-полупроводник возникает контактная разность потенциалов:
. | (3) |
Для случая «идеальной» МДП-структуры делается ряд допущений:
1.Разность работ выхода между металлом затвора и диэлектриком, диэлектриком и полупроводником, равна нулю или для потенциалов:
для n-типа: , для p-типа: . | (4) |
Здесь
– потенциал уровня Ферми,
- разность между уровнем Ферми F и положением уровня Ферми в собственном полупроводнике Ei.
Условие означает, что в отсутствие внешнего напряжения энергетические зоны полупроводника не изогнуты (состояние плоских зон).
2. В диэлектрике и на границах раздела металл-диэлектрик и полупроводник-диэлектрик нет никаких зарядов, т.е. диэлектрик не имеет дефектов. При любых смещениях в структуре могут существовать только заряд в ее полупроводниковой части и равный ему заряд противоположного знака на металлическом электроде, отделенном от полупроводника слоем диэлектрика.
3. Диэлектрик является идеальным изолятором.
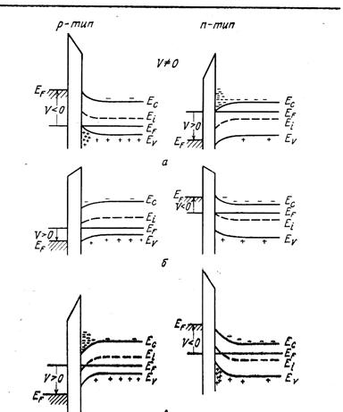
Если к МДП-конденсатору приложить электрическое напряжение, то его обкладки зарядятся. В зависимости от знака и величины приложенного напряжения поверхность полупроводника, будет обогащаться или обедняться основными носителями, или произойдет инверсия проводимости, в том случае, когда концентрация неосновных носителей заряда станет больше чем основных. Энергетические диаграммы, соответствующие различным потенциалам затвора приведены на рис. 2 (потенциал в глубине полупроводника принят равным 0).
|
|
|
Для примера рассмотрим полупроводник p -типа.
При отрицательном потенциале на затворе (Vg<0) к поверхности подтягиваются дырки, и их поверхностная концентрация относительно равновесной возрастает. Это – режим обогащения приповерхностной области полупроводника основными носителями заряда.
При подаче небольших положительных потенциалов на затвор электрическое поле отталкивает дырки от поверхности, и их концентрация вблизи поверхности уменьшается (режим обеднения), но их концентрация все еще превосходит концентрацию электронов, подтянутых электрическим полем к поверхности, так что тип проводимости приповерхностной области остается дырочным, т.е. приповерхностная область обедняется основными носителями заряда относительно объема.
При дальнейшем увеличении потенциала затвора концентрация электронов в приповерхностной области становится больше концентрации дырок в объеме, т.е. происходит изменение (инверсия) типа проводимости.
|
| Рис. 2. Энергетические диаграммы при различных смещениях |
Аналогичные явления будут иметь место для полупроводника n -типа (при этом искривление зон на диаграммах будет направлено в другую сторону).
В общем случае концентрации носителей изменяются по законам:
| (5) |
| (6) |
Здесь
– потенциал уровня Ферми,
– потенциал собственного полупроводника (его часто принимают за нулевой), φT = kT/q – тепловой потенциал равный 0,026 В при комнатной температуре. Для p -типа
, для n -типа
, ni –собственная концентрация носителей.
|
| Рис. 3. |
Изменение поверхностного заряда индуцирует изменение заряда в объеме полупроводника, что сопровождается изменением изгиба зон вблизи поверхности.
Если величина энергии q∙φ(x) измеряется относительно середины запрещенной зоны (рис. 3), то зная величину потенциала φ(x), возможно рассчитать распределение носителей заряда в приповерхностной области:
| (7) |
. |
Для характеристики этого изгиба будем использовать понятие поверхностного потенциала φs .
Проведем оценку толщины обедненного слоя для структуры, представленной на рис. 3 в случае обеднения. Пусть полупроводник имеет только акцепторную примесь. Тогда уравнение Пуассона примет вид:
![]() | (8) |
Интегрируя с граничными условиями φ=0,
при x=w, получим:
.
, отсюда
, таким образом, толщина слоя ОПЗ тем больше, чем больше поверхностный потенциал и чем слабее легирован полупроводник.
Введем дебаевскую длину дырок
как расстояние, на котором изменение потенциальной энергии носителя заряда равно его тепловой энергии
.
.
.
.
, для p-типа:
.
. 






