1.7.1 APZ имеет иерархическую структуру.Высший уровень управления – блоки центрального управления, которые образуют подсистему центрального процессора CPS. CPS состоит из сдвоенного процессора СР-А и СР-В. Стороны А и В работают синхронно, принимают и выдают команды в RP. RP принимает команды, проверяет на четность, но выполняет команду ведущей стороны (ведущего процессора).

Рисунок 1.12 –Структура ЭУС
Таблица 1.2 – Характеристика APZ
| Тип APZ | Абонентская емкость | Производительность (ВНСА) |
| APZ 210 | до 36 000 | 144 000 выз/ЧНН |
| APZ 211 | до 40 000 | 150 000 выз/ЧНН |
| APZ 212 | до 200 000 | 800 000 выз/ЧНН |
| APZ 213 | до 2 000 | 11 000 выз/ЧНН |

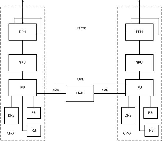
Рисунок 1.13–Состав APZ 211
|
|

IRPHВ – внутренняя шина контроллера регионального процессора
RPH – контроллер регионального процессора
SPU – процессор сигнализации
IPU – процессор инструкций
DRS – память данных






