Тиристорные регуляторы серии РСТ представляют собой устройства для изменения (по заданному закону) напряжения, подводимого к статору асинхронного двигателя с фазным ротором. Тиристорные регуляторы серии РСТ выполняются по симметричной трехфазной схеме включения (рис. 1, е). Применение регуляторов указанной серии в крановых электроприводах позволяет осуществлять регулирование частоты вращения в диапазоне 10:1 и регулирование момента двигателя в динамических режимах при пуске и торможении.
Тиристорные регуляторы серии РСТ выполняются на длительные токи 100, 160 и 320 А (максимальные токи соответственно 200, 320 и 640 А) и напряжение 220 и 380 В переменного тока. Регулятор представляет собой собранные на общей раме три силовых блока (по числу фаз встречно-параллельно включенных тиристоров), блок датчиков тока и блок автоматики. В силовых блоках используются таблеточные тиристоры с охладителями из тянутого алюминиевого профиля. Охлаждение воздушное — естественное. Блок автоматики — единый для всех исполнений регуляторов.
Тиристорные регуляторы выполнены со степенью защиты IP00 и предназначены для установки на стандартные рамы магнитных контроллеров типа ТТЗ, которые по конструкции аналогичны контроллерам серий ТА и ТСА. Габаритные размеры и масса регуляторов серии РСТ указаны в табл. 1.
Таблица 1 Габаритные размеры и масса регуляторов напряжения серии РСТ

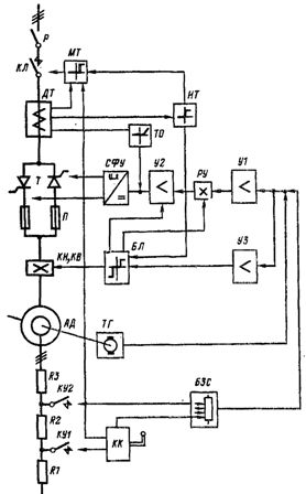
В магнитных контроллерах ТТЗ установлены контакторы направления для реверсирования двигателя, контакторы роторной цепи и другие релейно-контактные элементы электропривода, осуществляющие связь командоконтроллера с тиристорным регулятором. Структура построения системы управления регулятора видна из функциональной схемы электропривода, показанной на рис. 2.
Трехфазный симметричный тиристорный блок Т управляется системой фазового управления СФУ. С помощью командоконтроллера КК в регуляторе производится изменение задания скорости БЗС, Через блок БЗС в функции времени осуществляется управление контактором ускорения КУ2 в цепи ротора. Разность сигналов задания и тахогенератора ТГ усиливается усилителями У1 и УЗ. К выходу усилителя УЗ подключено логическое релейное устройство, имеющее два устойчивых состояния: одно соответствует включению контактора направления вперед KB, второе — включению контактора направления назад КН.
Одновременно с изменением состояния логического устройства реверсируется сигнал в цепи управления РУ. Сигнал с согласующего усилителя У2 суммируется с сигналом задержанной обратной связи по току статора двигателя, который поступает с блока токоограничения ТО и подается на вход СФУ.
На блок логики БЛ воздействует также сигнал с блока датчиков тока ДТ и блока наличия тока НТ, запрещающий переключение контакторов направления под током. Блоком БЛ осуществляется также нелинейная коррекция системы стабилизации частоты вращения для обеспечения устойчивости работы привода. Регуляторы могут быть использованы в электроприводах механизмов подъема и передвижения.
Регуляторы серии РСТ выполнены с системой ограничения тока. Уровень токоограничения для защиты тиристоров от перегрузок и для ограничения момента двигателя в динамических режимах плавно изменяется от 0,65 до 1,5 номинального тока регулятора, уровень токоограничения для максимально-токовой защиты— от 0,9 до. 2,0 номинального тока регулятора. Широкий диапазон изменения уставок защиты обеспечивает работу регулятора одного типоразмера с двигателями, отличающимися по мощности примерно в 2 раза.

Рис. 2. Функциональная схема электропривода с тиристорным регулятором типа РСТ: КК — командоконтроллер; ТГ — тахогенератор; КН, KB — контакторы направления; БЗС — блок задания скорости; БЛ — блок логики; У1, У2. УЗ — усилители; СФУ— система фазового управления; ДТ — датчик тока; ИТ — блок наличия тока; ТО — блок токоограничения; МТ — блок защиты; КУ1, КУ2 — контакторы ускорения; КЛ — линейный контактор: Р — рубильник.
Чувствительность системы наличия тока составляет 5—10 А действующего значения тока в фазе. В регуляторе предусмотрены также защиты: нулевая, от коммутационных перенапряжений, от исчезновения тока хотя бы в одной из фаз (блоки ИТ и МТ), от помех радиоприему. Быстродействующими плавкими предохранителями типа ПНБ 5М осуществляется защита от токов короткого замыкания.






