Фотометрия пламени представляет собой разновидность эмиссионного спектрального анализа. Метод основан на термическом возбуждении атомов в пламени и прямом измерении интенсивности их излучения при помощи фотоэлемента или фотоумножителя (рис. 1.1). Используя монохроматор или соответствующий светофильтр, выделяют наиболее яркую спектральную линию.
Влияние различных факторов на интенсивность спектральной линии Ikr отражает уравнение
Ikr = N ∙ Akr∙ (gk / go) ∙ h ∙ vkr ∙ exp(– Ek / kT), (1.1)
где N – число атомов в плазме; Akr – вероятность перехода из возбужденного состояния k в более низкое энергетическое состояние r; vkr – частота, соответствующая этому переходу; h – постоянная Планка; gk и g o – статистические веса возбужденного и нормального состояний; Ek – энергия возбуждения k- гoуровня.

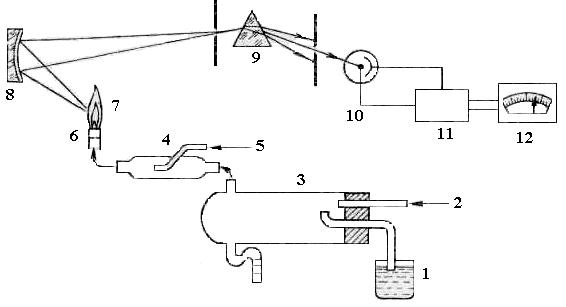
Рис. 1.1.Принципиальная схема пламенного фотометра:
1 – анализируемый раствор; 2 – подача воздуха от компрессора; 3 – распылитель; 4 – отстойник-смеситель; 5 – подача природного газа; 6 – горелка; 7 – пламя; 8 –зеркало-конденсор; 9 – монохроматор (светофильтр); 10 – фотоэлемент; 11 – усилитель; 12 – миллиамперметр
Из уравнения (1.1) следует, что при соблюдении определенных условий существует линейная зависимость между интенсивностью линии и концентрацией анализируемого элемента. Наиболее интенсивным фактором, влияющим на величину Ikr, является температура пламени, поэтому режим работы горелки в период проведения измерений должен быть стабильным. При соблюдении ряда условий наблюдается линейная зависимость Ikr от концентрации анализируемых атомов. Это позволяет проводить количественный анализ, используя методы сравнения, градуировочной зависимости или метод добавок.
Температура плазмы в пламенной фотометрии невелика (около 2000 К), поэтому данным методом наблюдают лишь наиболее легко возбуждаемые линии.
В пламени анализируемое соединение частично переходит в атомарное состояние. При взаимных столкновениях атомов наблюдается целевой процесс:
Ме + hν ↔ Ме*.
Кроме него протекают и другие сопутствующие процессы, в частности ионизация:
Ме – n ē ↔ Меn+ + hν ↔ (Меn+)*,
и различные анионные эффекты
Ме + OH– – ē ↔ МеOH + hν ↔ МеOH*
Ме + Cl– – ē ↔ МеCl + hν ↔ МеCl*
Для подавления ионизации в анализируемый раствор добавляют соли лития. Литий легко ионизируется и повышает концентрацию свободных электронов в плазме. Это приводит к смещению влево равновесия ионизации определяемого металла. Для снижения анионного эффекта применяют метод стандартных добавок или прибегают к предварительному полному отделению определяемого вида ионов методом ионного обмена.
Определение элементов с близким расположением линий в их эмиссионных спектрах при одновременном присутствии в растворе затруднено, поскольку наблюдается суммарная интенсивность свечения пламени при неопределенном вкладе каждого из компонентов. Например, определение кальция по полосе 622 нм затруднено в присутствии натрия, излучающего яркий дублет спектральных линий 589 – 589,6 нм. Мерой селективности анализа является фактор специфичности F, который показывает, во сколько раз концентрация мешающего элемента в анализируемом растворе должна быть больше, чем определяемого, чтобы вызвать такой же отсчет на гальванометре данного прибора. Если концентрация определяемого элемента в растворе равна С, а концентрация мешающего элемента – С 1, то F = C 1 / С.
Пламенные фотометры обычно снабжены интерференционными светофильтрами, монохроматичность которых характеризуется полушириной полосы пропускания Δλ ≥ ±5 нм. Факторы специфичности для таких приборов колеблются от единиц до сотен в зависимости от рассматриваемой пары элементов. Для спектрофотометров, имеющих в качестве монохроматора призму или дифракционную решетку, величины F на порядок выше.
1.1.1. Определение щелочных металлов (работа № 1)
Цель работы: определение содержания ионов Na+ и K+ в растворе.
Сущность метода. Наиболее интенсивные спектральные линии натрия и калия существенно отличаются по длине волны. Это позволяет при использовании соответствующих светофильтров определять концентрацию в растворе каждого элемента при их совместном присутствии. Фотометрический анализ этих металлов проводят по линиям резонансных дублетов 589,0 и 589,6 нм для натрия и 765,5 и 769,9 нм для калия (последние расположены на границе видимой и инфракрасной частей спектра).
Оборудование: 1) фотометр пламенный ПАЖ-1; 2) компрессор; 3) мерные колбы на 100 см3 – 6 шт.; 4) бюретки для стандартных растворов K+ и Na+ с воронками; 5) промывалка; 6) стаканчики на 50 см3 – 7 шт.; 7) кристаллизатор; 8) спички.
Реактивы: 1) хлорид натрия, высушенный при 110 оС; 2) хлорид калия, высушенный при 110 оС; 3) стандартный раствор, содержащий по 0,1 г/дм3 калия и натрия.
Ход работы. Построение градуировочных зависимостей. Готовят эталонные растворы, содержащие соответственно 1,0; 2,5; 5,0; 7,5; 10,0 мкг/см3 калия и натрия. Для этого в мерные колбы емкостью 100 см3 из бюретки отмеряют следующие объемы стандартного раствора – 1,0; 2,5; 5,0; 7,5; 10,0 см3. Затем объем во всех колбах доводят до метки дистиллированной водой и перемешивают. Из мерных колб растворы наливают в пронумерованные стаканчики примерно на 1/4 их объема и фотометрируют, начиная с раствора с наименьшей концентрацией. Для построения градуировочных графиков по калию и натрию необходимо провести две серии замеров с соответствующими светофильтрами. Затем на одном рисунке строят два градуировочных графика – один для калия, другой для натрия – в координатах: показание прибора – концентрация калия (или натрия) в растворе, мг/см3.
Контрольная задача. Получают задачу (пробу, содержащую неизвестные объемы стандартных растворов калия и натрия) и в колбе на 100 см3 доводят объем раствора дистиллированной водой до метки. Этот раствор тщательно перемешивают и фотометрируют при разных светофильтрах. По соответствующим графикам определяют концентрацию калия и натрия (в мкг/см3) и объемы стандартных растворов, взятых для приготовления задачи. Проводят статистическую обработку обоих графиков (см. приложение 2) и рассчитывают доверительные интервалы для концентрации K и Na в задаче.
Порядок работы на пламенном фотометре ПАЖ-1 (рис 1.2). Перед работой должны быть выполнены условия: кран 10 закрыт; рукоятка 12 находится в положении Арр; рукоятки 13, 14, 16 – в положении 0; рукоятка 15 – в среднем положении; рукояткой 9 перекрыт световой канал; в гидрозатворе имеется вода; тумблер 11 находится в положении Выкл.
Включить компрессор (давление воздуха должно быть в пределах 0,8 – 1,0 кгс/см2; регулировка давления воздуха производится дросселем Воздух).
Открыть газовый кран на стояке, снять экран 8, снять смотровое стекло, поднести зажженную спичку к горелке и одновременно открыть вентиль 10. Подачу газа увеличивать до тех пор, пока не загорится пламя, которое следует отрегулировать так, чтобы образовались ровные ряды из коротких язычков пламени. Установить на горелку защитное стекло и экран.
Включить тумблер 11, при этом загораются лампы, подсвечивающие шкалы ротаметров. Прогреть прибор 30 мин.
Переключить рукоятку смещения шкалы 12 из положения Арр в положение 0. При настройке на максимальную чувствительность рукоятку 14 выставить в положение 10, а рукоятку 13 – до упора по часовой стрелке. Рукояткой 15 переместить стрелку микроамперметра 1 в положении 0. Постоянную времени 16 устанавливают в положении 3 или 4.
Установить ручку диска светофильтров на левой боковой панели корпуса прибора в положение измеряемого элемента (например, для натрия – в положение “Na”), рукояткой 9 открыть световой канал (вытянуть рычаг на себя до упора). Вращая рукоятку 17 возвратить стрелку микроамперметра на 0.
Опустить капилляр в стаканчик с дистиллированной водой.

Рис. 1.2. Передняя панель пламенного фотометра ПАЖ-1
и обозначение ручек управления (пояснения в тексте)
Построение градуировочного графика. Установить рукоятку 13 в среднее положение. Поднести к всасывающему капилляру стаканчик с раствором, имеющим максимальную концентрацию. Рукояткой 14 добиться такого положения, чтобы стрелка микроамперметра давала отклонения в пределах шкалы прибора (не допускать отклонения стрелки за пределы шкалы). Рукояткой 13 установить стрелку микроамперметра на деление 100. Убрать раствор и, закрыв шторку, установить стрелку микроамперметра на нуль рукояткой 15. Открыть шторку и, поставив «нулевой» раствор, установить стрелку микроамперметра на нуль рукояткой 17. Опять поставить раствор с максимальной концентрацией и, если необходимо, с помощью ручек чувствительности вывести стрелку микроамперметра на деление 100. Повторить все предыдущие операции, если при установке «нулевого» раствора стрелка не станет на нуль.
Последовательно вводят в пламя все стандартные растворы, записывают показания прибора. Строят калибровочную кривую. Снимают показания с раствора, концентрация которого неизвестна (задача), и по градуировочной кривой находят его концентрацию.
Выключение прибора. Поставить рукоятку 12 в положение Арр, ручку 14 – в положение 0. Капилляр опустить в дистиллированную воду и промыть систему. Закрыть вентиль 10 на передней панели прибора, перекрыть газ на подводящем трубопроводе. Тумблером выключить прибор. Выключить компрессор.
Контрольные вопросы
1. Какова природа эмиссионных спектров? Опишите способы возбуждения излучения.
2. Какие факторы влияют на интенсивность спектральной линии?
3. Какой характер имеет зависимость I – С? Объясните причину нарушения линейности зависимости при малых и высоких значениях С.
3. Какие процессы происходят с раствором соли в пламени? Какие равновесия атомов и ионов имеют место в плазме?
4. Обсудите факторы, влияющие на чувствительность анализа в пламенной фотометрии.
5. Приведите принципиальная схема пламенного фотометра и обсудите назначение каждого из его узлов.
6. Методы осуществления анализа (сравнения, градуировочного графика, добавок).
7. Какие достоинства и ограничения имеет метод фотометрии пламени?
Литература
Полуэктов, Н.С. Методы анализа по фотометрии пламени. М.: ТОНТИХЛ, 1959. 232 с.
1.1.2. Определение концентрации ионов кальция в воде методом добавок (работа № 2)
Цель работы: изучить метод добавок; научиться определять содержание ионов кальция в растворе в присутствии ионов натрия.
Сущность метода. При проведении анализа кальция методом фотометрии пламени измеряют интенсивность излучения при λ = 622 нм, соответствующей максимуму интенсивности молекулярных полос радикала CaOH (в такой форме в основном находится кальций в пламени смеси «природный газ – воздух»). Вследствие значительной ширины пропускания светофильтра эта полоса частично накладывается на резонансный дублет натрия 589,0 – 589,6 нм. Присутствие ионов Na+ в анализируемом растворе приводит к искаженным результатам анализа. Фактор специфичности кальция по натрию в пламенной фотометрии лежит в пределах 10 – 600. Ошибку удается существенно уменьшить, применив метод стандартных добавок, который заключается в измерении аналитических сигналов проб одинакового объема, содержащих аликвотные части анализируемого раствора и добавки точных количеств определяемого элемента. Первую пробу фотометрируют без добавки. Количество добавки подбирают такое, чтобы аналитический сигнал увеличился в 1,5 – 2,0 раза. Неизвестную концентрацию кальция в пробе (С х) рассчитывают по формуле:
С х = С 1 · I / (Id – I),
где С 1 – концентрация кальция, обусловленная внесением добавки; I – показание прибора без добавки; Id – показание для пробы с добавкой.
Можно рассчитать массу металла в анализируемой пробе по формуле, учитывающей разбавление раствора при внесении добавки:

где m, md – масса металла в анализируемой пробе и внесенного добавкой, мг; V, Vd – объем пробы и объем добавленного стандартного раствора, см3; I, Id – показания прибора до и после внесения добавки.
Метод стандартных добавок справедлив в пределах линейной зависимости интенсивности регистрируемого сигнала от концентрации металла.
Оборудование: 1) фотометр пламенный FLAPHO-4; 2) компрессор; 3) мерные колбы на 100 см3 – 7 шт.; 4) бюретка для стандартного раствора хлорида кальция; 5) стаканчики на 50 см3 – 8 шт.
Реактивы: 1) стандартный раствор CaCl2, содержащий 1 г/дм3 ионов Са2+; 2) стандартный раствор NaCl, содержащий 1 г/дм3 ионов Na+.
Ход работы. Вначале строят градуировочный график в координатах «показания прибора – концентрация кальция» и проводят определение графическим методом.
Для приготовления эталонных растворов берут 5 мерных колб емкостью 100 см3 и наливают в них из бюретки следующие количества стандартного раствора хлорида кальция, содержащего в 1 см3 1 мг кальция: в первую – 5,0 см3; во вторую – 10,0 см3; в третью – 15,0 см3; в четвертую – 20,0 см3; в пятую – 25,0 см3. Доливают водой до метки. Получившиеся стандартные растворы имеют концентрацию кальция: 50, 100, 150, 200, 250 мкг/см3 соответственно. Их фотометрируют, начиная с раствора с наименьшей концентрацией. По полученным результатам строят градуировочную зависимость.
Контрольная задача. Получают задачу у инженера лаборатории в мерной колбе на 100 см3, доливают дистиллированной водой до метки и тщательно перемешивают. Полученные растворы наливают в пронумерованные стаканчики примерно на 1/4 их объема и приступают к работе на пламенном фотометре.
После построения градуировочной зависимости и определения содержания Са графическим методом отбирают пипеткой 25 см3 раствора задачи и переносят в чистый стаканчик на 50 см3 (оставшийся раствор не выливать до конца работы). Затем добавляют в него такой объем стандартного раствора, который содержит точную добавку ионов кальция, близкую к найденной первым способом (объем добавки должен лежать в пределах от 2 до 3 см3), перемешивают и фотометрируют обычным способом. Результат записывают. После этого еще раз фотометрируют раствор, содержащий задачу (без добавки). Результаты измерений используют для расчета Сх и mx по приведенным выше формулам.
Порядок работа на пламенном фотометре FLAPHO-4. Установить светофильтр, соответствующий определяемому металлу, в отверстие в верхней части корпуса (светофильтр должен быть направлен зеркальной частью к пламени). Включить компрессор. Установить расход воздуха 200 – 240 дм3/ч. Включить прибор в сеть. Открыть газовый кран и поджечь газ. Кнопка зажигания находится на передней панели прибора. Установить расход газа, дающий максимальную яркость пламени. Ручку чувствительности канала со шкалой, имеющей символ Са, перевести из нулевого в первое положение. Отрегулировать расход газа так, чтобы он соответствовал максимальному отклонению стрелки прибора. Включить насос для удаления конденсированной воды. Капилляр опустить в стаканчик с дистиллированной водой. Установить стрелку прибора на нуль ручкой установки нуля. Погрузить капилляр в раствор с максимальной концентрацией кальция, чувствительность отрегулировать так, чтобы стрелка показывала на шкале ≈80 единиц. Затем снова повторить установку нуля и опять для раствора максимальной концентрации выставить ≈80 делений шкалы. После этого провести замеры интенсивности свечения всех анализируемых растворов.
Выключение прибора. Промыть систему распыления дистиллированной водой. Выключить измерительный прибор. Перекрыть вентиль газа. Выключить компрессор. Выключить насос для удаления конденсированной воды и раствора, перекрыть центральный газовый кран.
Контрольные вопросы
1. Опишите графический вариант представления метода добавок.
2. Поясните причины уменьшения систематической ошибки анализа в случае применения метода добавок.
3. Какие существуют ограничения для применения метода добавок?






