Молекулы поглощают кванты энергии при колебательных и электронных квантовых переходах. Верхней энергетической границей колебательного спектра принято считать энергию фотонов, соответствующих волновому числу 5000 см–1, или около 60 кДж/моль. Поглощение большей энергии приводит к возбуждению электронов и появлению в спектре полос, характеризующих электронные переходы.
Электронные спектры можно интерпретировать с позиций метода молекулярных орбиталей при помощи энергетической диаграммы, изображенной на рис. 1.4.

Рис. 1.4. Схема молекулярных электронных уровней
и энергия возможных электронных переходов при поглощении света
Наибольшей энергии требует переход σ → σ*, связанный с возбуждением внутренних электронов. Он соответствует поглощению в дальней ультрафиолетовой области (λ < 200 нм, Е> 600 кДж/моль). Для перехода n→ σ* необходимы меньшие затраты энергии. Полосы, вызванные переходом, расположены в ультрафиолетовом диапазоне с величиной λ = 200...300 нм. Еще меньшая энергия соответствует переходу на разрыхляющие π*-орбитали. Переходы n → π* и π → π* встречаются в молекулах соединений с сопряженными связями и молекулах ароматических соединений. Именно переходом с несвязывающей орбитали атома кислорода на разрыхляющую n → π* объясняется интенсивная окраска ионов МnО4– и СrО42–.
Часто при молекулярно-абсорбционном определении металлов получают их комплексы, интенсивно поглощающие свет в УФ или видимой области (в результате соединение имеет собственную окраску). Это связано с расщеплением d -подуровня центрального атома (металла) под воздействием поля лигандов и переходами между образовавшимися новыми подуровнями. Такому поглощению соответствует d → d *-переход.
Молекулярное поглощение подчиняется закону Бугера, справедливому для монохроматического света. В аналитической практике этот закон обычно записывают в виде зависимости

где I, Io – соответственно интенсивность проходящего через вещество (раствор) и падающего на него света; ε – молярный коэффициент поглощения света (равен оптической плотности одномолярного раствора при толщине слоя 1 см); l – толщина слоя раствора, поглощающего свет, см; C – молярная концентрация раствора, моль/дм3.
Уменьшение интенсивности света, прошедшего через раствор, характеризуется коэффициентом пропускания (или просто пропусканием) Т:
Т = I / I 0.
Взятый с обратным знаком десятичный логарифм Т называется оптической плотностью А:
A = – lgT = – lg (I / I 0) = lg (I 0 / I).
Закон Бугера для оптической плотности представляет собой уравнение прямой, выходящей из нуля в координатах А – С:
А = ε · l · C.
Для измерения интенсивностей световых потоков и их сравнения в молекулярно-абсорбционном анализе применяют спектрофотометры и фотоколориметры.
1.3.1. Определение ванадия в виде комплекса с ксиленоловым оранжевым (работа № 3)
Цель работы: найти оптимальное значение рН и провести количественное определение ванадия в пробе.
Сущность метода. Металлохромный индикатор ксиленоловый оранжевый (КО) представляет собой кислоту следующего строения:

Реактив применяют для фотоколориметрического анализа большого числа ионов металлов: Bi3+, Th4+, Zr4+, Sc3+, In3+, Hg2+, Tl3+, Cd2+, Fe2+, Co2+, редкоземельных элементов и др. На реакции образования окрашенного комплекса с КО основан чувствительный метод анализа ванадия, окисленного до состояния +5 (V+4 также образует комплекс с КО и определяется совместно с V+5).
При наличии в растворе примесных катионов высокоселективное определение V+5 обеспечивается введением маскирующего комплексона: 1,2-диаминогексантетрауксусной кислоты (ДГТА) или этилендиаминтетра-уксусной кислоты (ЭДТА).
Известно, что КО обладает свойствами кислотно-основного индикатора. В связи с этим необходимо определить значение рН, соответствующее максимальной оптической плотности, чтобы при анализе использовать соответствующий буферный раствор.
Оборудование: 1) фотоэлектроколориметр КФК; 2) иономер; 3) колба мерная на 200 см3 – 1 шт.; 4) колбы мерные на 50 см3 – 8 шт.; 5) бюретки на 50 см3 – 2 шт.; 6) пипетка на 5 см3 (с делениями) – 1 шт.; 7) пипетка на 1 см3 – 1 шт.; 8) стаканчик на 50 см3 для рН-метрии – 4 шт.
Реактивы: 1) стандартный раствор ванадия с концентрацией 1 г/дм3 (готовят по навеске NH4VO3); 2) раствор КО – 1×10–3 моль/дм3 (0,83 г 80%-го препарата на 1 дм3 водного раствора); 3) ацетатный буферный раствор с рН = 4,5 (200 г СН3СООNH4 и 200 см3 СН3СООН на 1 дм3 раствора); 4) фосфатный буферный раствор с рН = 6,0 (к 12 см3 0,067 М раствора Na2HPO4 приливают 88 см3 0,067 М раствора КН2РО4); 5) соляная кислота с концентрацией 1 моль/дм3; 6) уксусная кислота с концентрацией 1 моль/дм3.
Ход работы. Определение оптимального значения рН. Разбавлением исходного стандартного раствора приготовить 100 см3 рабочего стандартного раствора, содержащего 5×10–6 г/см3 ванадия. Воспользовавшись рабочим раствором, внести в мерные колбы на 50 см3 по 25×10-6 г ванадия, добавить в первую колбу 5 см3 1,0 М раствора HCl, во вторую – 5 см3 1,0 М раствора СН3СООН, в третью – 5 см3 ацетатного, а в четвертую – столько же фосфатного буферного раствора. В каждую колбу прилить по 5 см3 раствора КО и довести объем раствора дистиллированной водой до 50 см3.
Для каждого случая приготовить нулевой раствор, содержащий все компоненты, кроме ванадия. Через 10 мин произвести измерения оптической плотности каждого раствора по отношению к своему нулевому раствору. После измерения оптической плотности определить величину рН каждого раствора. Составить таблицу результатов измерений. Построить график зависимости оптической плотности от рН. Выбрать оптимальное значение рН для проведения анализа ванадия.
Построение градуировочного графика. Приготовить эталонные растворы, содержащие 5, 10, 15, 20, 25 и 30×10–6 г ванадия, а также по 5 см3 раствора выбранного буфера и КО в 50 см3 (мерные колбы). Провести измерение оптической плотности по отношению к нулевому раствору. Построить график зависимости оптической плотности от массы ванадия в пробе. По методу наименьших квадратов рассчитать коэффициенты уравнения прямой для градуировочного графика. Рассчитать доверительный интервал для определяемого содержания ванадия в пробе.
Определение содержания V+5 в контрольной задаче. В раствор, содержащий контрольную задачу, внести такие же объемы растворов буфера и КО, как и при построении калибровочного графика, довести объем до 50 см3 (мерная колба). Измерить оптическую плотность по отношению к нулевому раствору.
Результат анализа представить с указанием доверительного интервала.
Измерения проводить на фотоколориметре КФК и иономере И-160МИ (инструкцию по проведению измерений на И-160МИ см. в приложении 4).
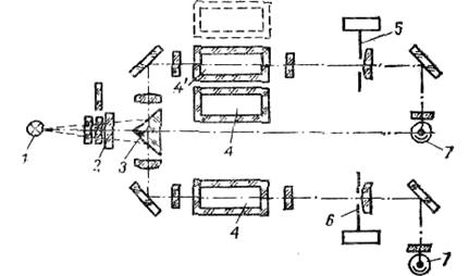
На рис. 1.5 приведена оптическая схема прибора КФК, а на рис. 1.6 показано расположение управляющих рукояток.
Измерения на приборе можно проводить через 15 – 20 мин после включения блока питания и лампы накаливания, когда наступает стабильный режим ее работы.
Если при работе с некоторыми светофильтрами поступающий на фотоэлементы световой поток оказывается чрезмерно высоким, это проявляется в колебании стрелки микроамперметра 1 (рис. 1.6). В таких случаях необходимо уменьшить чувствительность прибора электрически, повернув рукоятку чувствительности 9 по часовой стрелке.

Рис. 1.5. Оптическая схема фотоколориметра КФК:
1 – источник света; 2 – светофильтр; 3 – зеркальная призма;
4 – кювета с растворителем или раствором сравнения;
4’ – кювета с исследуемым раствором;
5, 6 – диафрагмы; 7 – фотоэлементы
Измерение пропускания или оптической плотности раствора. Измерения производят при закрытой крышке кюветного отделения 2 (рис. 1.6). Прежде всего устанавливают «электрический нуль» прибора. Для этого с помощью ручки 3 перекрывают световые потоки шторкой. Рукояткой 10 устанавливают стрелку микроамперметра на 0, после чего открывают шторку.
С помощью рукоятки 11 вводят в световой поток выбранный светофильтр. Все измерения производят при такой чувствительности усилителя, при которой стрелка микроамперметра отклоняется на 1 – 3 деления в случае раскрытия измерительной диафрагмы рукояткой 6 на 1% пропускания. Указанную чувствительность прибора устанавливают вращением рукояток 4 и 9.
В левом световом потоке на все время измерений устанавливают кювету с растворителем (или раствором сравнения, «холостым» раствором). В правый поток света помешают кювету с исследуемым раствором. Правый барабан 7 вращением рукоятки 6 устанавливают на отсчет 100 по шкале пропускания. Вращением левого барабана (рукоятки 8) добиваются установки стрелки микроамперметра на 0. Затем поворотом рукоятки 5 в правом потоке кювету с исследуемым раствором заменяют кюветой с растворителем (или раствором сравнения). При этом происходит смещение стрелки микроампер метра, установленной на 0. Вращением правого измерительного барабана добиваются первоначального нулевого положения стрелки и производят отсчет пропускания (оптической плотности) исследуемого раствора по шкале правого барабана 7.

Pис. 1.6. Колориметр фотоэлектрический концентрационный КФК
Контрольные вопросы
1. Как возникает аналитический сигнал в фотоколориметрии?
2. Назовите условия, при которых выполняется закон Бугера.
3. Что является мерой чувствительности фотометрического анализа?
4. Как обеспечить селективность фотометрического анализа?
5. На чем основан выбор рабочего диапазона рН в фотоколориметрии?
6. Какие основные способы осуществления измерений в фотоколори-метрии вам известны?
7. В каком диапазоне изменения величины оптической плотности наблюдается наименьшая ошибка измерений?
8. Назовите основные различия в конструкциях фотоколориметра и спектрофотометра.
9. Опишите оптическую схему фотоколориметра КФК. Изложите порядок проведения измерений на нем.
10. На чем основан выбор светофильтра и длины кюветы в фотоколориметрии?
11. Возможно ли одновременное определение концентраций двух видов ионов фотоколориметрическим методом? Ответ обоснуйте.
Литература
1. Булатов, М.И. Практическое руководство по фотоколоримет-рическим и спектрофотометрическим методам анализа / М.И. Булатов, И.П. Калинкин. Л.: Химия, 1986. 432 с.
2. Budevsky, O. Colorimetric determination of vanadium with xylenol orange / O. Budevsky, R. Přibil // Talanta. Vol. 11. 1964. Pp. 1313-1318.
3. Пешкова, В.М. Методы абсорбционной спектроскопии в аналити-ческой химии / В.М. Пешкова, М.И. Громова. М.: Высшая школа, 1976.
1.3.2. Дифференциальная фотометрия
Рассмотренный выше пример фотометрического анализа относится к методам уравнивания интенсивностей световых потоков. Обычно это достигается путем изменения площади оптической щели прибора. Методы сравнения интенсивностей световых потоков чаще применяют в однолучевых приборах. Они позволяют использовать в качестве растворов сравнения не только так называемый «холостой» или «нулевой» раствор (его состав идентичен исследуемому раствору, только не содержит определяемого компонента), но и стандартные растворы с точно известной концентрацией определяемого вещества. Такой прием дает возможность измерить высокую концентрацию определяемого компонента с меньшей величиной относительной ошибки, чем метод уравнивания, и практически вдвое расширить диапазон измеряемых концентраций определяемого вещества. Метод сравнения интенсивностей световых потоков часто называют двусторонней дифференциальной фотометрией. Типичный вид градуировочной зависимости этого метода представлен на рис. 1.7.
Градуировочная зависимость пересекает ось абсцисс в точке, соответствующей концентрации эталонного раствора сравнения. Оптические плотности связаны соотношением
А ист – А отн = А 0,
где А ист – оптическая плотность анализируемого раствора по отношению к «нулевому» раствору; А отн – оптическая плотность анализируемого раствора по отношению к эталонному раствору сравнения (показания шкалы прибора); А 0 – оптическая плотность эталонного раствора сравнения по отношению к «нулевому» раствору; С – концентрация анализируемого вещества; С 0– концентрация анализируемого вещества в эталонном растворе сравнения.

Рис. 1.7. Градуировочная кривая