ЗАКЛЮЧЕНИЕ
| ВВЕДЕНИЕ |
Дисциплина «Инженерная графика» является общепрофессиональной, формирующей базовые знания о содержании конструкторских документов и правилах их оформления.
Учебное пособие подготовлено на основе примерной программы дисциплины «Инженерная графика» для студентов высших учебных заведений по специальностям направлений подготовки 190200 (653200) – «Транспортные машины и транспортно-технологические комплексы», 653300 (190600.65) – «Эксплуатация наземного транспорта и транспортного оборудования», 653400 (190700.65) – «Организация перевозок и управление на транспорте».
Формирование целей, задач дисциплины, требований к ее содержанию и уровню подготовки специалиста определяется спецификой образовательного учреждения и отраслевых особенностей. Выпускник университета должен понимать сущность будущей профессии, основные проблемы дисциплин, определяющих конкретную область его деятельности, видеть их взаимосвязь в целостной системе знаний. Он должен обладать знаниями и умениями технического черчения, владеть основами проектирования изделий, различных конструкций и инженерных сооружений; иметь опыт чтения и выполнения машиностроительных и строительных чертежей, проектирования основных типов инженерных сооружений.
|
|
|
|
ГОСТ 2.001-93 устанавливает общие положения по целевому назначению, области распространения, классификации и обозначению стандартов, входящих в комплекс Единой системы конструкторской документации (ЕСКД).
| Определение и назначение ЕСКД |
Единая система конструкторской документации – комплекс государственных стандартов, устанавливающих взаимосвязанные правила и положения по порядку разработки, оформления и обращения конструкторской документации, разрабатываемой и применяемой организациями и предприятиями на всех стадиях жизненного цикла изделия (при проектировании, изготовлении, эксплуатации, ремонте и др.).
Основное назначение стандартов ЕСКД – установление в организациях и на предприятиях единых правил выполнения, оформления и обращения конструкторской документации, которые должны обеспечивать:
1) возможность взаимообмена конструкторскими документами между организациями и предприятиями без их переоформления;
2) стабилизацию комплектности, исключающую дублирование и разработку не требуемых производству документов;
3) возможность расширения унификации при конструкторской разработке проектов промышленных изделий;
4) упрощение форм конструкторских документов графических изображений, снижающее трудоемкость проектно-конструкторских разработок промышленных изделий;
|
|
|
5) механизацию и автоматизацию обработки технических документов и содержащейся в них информации;
6) улучшение условий технической подготовки производства;
7) улучшение условий эксплуатации промышленных изделий;
8) оперативную подготовку документации для быстрой переналадки действующего производства.
| Область распространения стандартов ЕСКД |
Установленные стандартами ЕСКД правила и положения по разработке, оформлению и обращению документации распространяются:
1) на все виды конструкторских документов;
2) на учетно-регистрационную документацию и документацию по внесению изменений в конструкторские документы;
3) на нормативно-техническую и технологическую документацию, а также научно-техническую и учебную литературу в той части, в которой они могут быть для них применены и не регламентируются специальными стандартами и нормативами, устанавливающими правила выполнения этой документации и литературы, например форматов и шрифтов для печатных изданий и т. п.
| Состав, классификация и обозначение стандартов ЕСКД |
Межгосударственные стандарты ЕСКД распределяются по классификационным группировкам, приведенным в таблице 1.
Таблица 1 – Квалификационные группы стандартов
| 0. | Общие положения |
| 1. | Основные положения |
| 2. | Классификация и обозначение изделий в конструкторских документах |
| 3. | Общие правила выполнения чертежей |
| 4. | Правила выполнения чертежей изделий машиностроения и приборостроения |
| 5. | Правила обращения конструкторских документов (учет, хранение, дублирование, внесение изменений) |
| 6. | Правила выполнения эксплуатационной и ремонтной документации |
| 7. | Правила выполнения схем |
| 8. | Правила выполнения документов строительных и судостроения |
| 9. | Прочие стандарты |
Обозначение стандартов ЕСКД строится на классификационном принципе. Номер стандарта составляется из цифры 2, присвоенной классу стандартов ЕСКД; одной цифры (после точки), обозначающей классификационную группу (шифр группы) стандартов; двузначной цифры, определяющей порядковый номер стандарта в данной группе, и двузначной цифры (после тире), указывающей год регистрации стандарта. Пример обозначения стандарта ЕСКД «Изображения – виды, разрезы, сечения» изображен на рисунке 1.
Рисунок 1 – Пример обозначения стандарта ЕСКД ГОСТ 2.305-2008
| Основные положения единой системы конструкторской документации |
| Виды изделий |
В соответствии с ГОСТ 2.101-68 устанавливаются следующие виды изделий:
а) детали – изделие, изготавливаемое из однородного по наименованию и марке материала, без применения сборочных операций;
б) сборочные единицы – изделие, составные части которого подлежат соединению между собой на предприятии-изготовителе сборочными операциями (свинчиванием, сочленением, клепкой, сваркой, пайкой, опресовкой, развальцовкой, склеиванием, сшивкой, укладкой и т.п.);
в) комплексы – два и более специфицированных изделия, не соединенных на предприятии-изготовителе сборочными операциями, но предназначенные для выполнения взаимосвязанных эксплуатационных функций;
г) комплекты – два и более специфицированных изделия, не соединенных на предприятии-изготовителе сборочными операциями и представляющих набор изделий, имеющих общее эксплуатационное назначение вспомогательного характера, например: комплект запасных частей, комплект инструментов и принадлежностей, комплект измерительной аппаратуры, комплект упаковочной тары и т.п.
| Виды конструкторских документов |
К конструкторским документам относят графические и текстовые документы, которые в отдельности или в совокупности определяют состав и устройство изделия и содержат необходимые данные для его разработки или изготовления, приемки, эксплуатации и ремонта (ЕСКД ГОСТ 2.102-68). В таблице 2 приведены определения, коды и виды конструкторских документов, выполняемых студентами в процессе работы над заданиями по курсу инженерной графики.
|
|
|
Таблица 2 – Виды конструкторских документов
| Код документа | Вид документа | Определение |
| – | Чертеж детали | Документ, содержащий изображение детали и другие данные, необходимые для её изготовления и контроля. |
| СБ | Сборочный чертеж | Документ, содержащий изображение сборочной единицы и другие данные, необходимые для её сборки (изготовления) и контроля. |
| ВО | Чертеж общего вида | Документ, определяющий конструкцию изделия, взаимодействие его составных частей и поясняющий принцип работы изделия. |
| По ГОСТ 2.701-84 | Схема | Документ, на котором показаны в виде условных изображений и обозначений составные части изделия и связи между ними. |
| – | Спецификация | Документ, определяющий состав сборочной единицы, комплекса или комплекта. |
| ПЗ | Пояснительная записка | Документ, содержащий описание устройства и принципа действия разрабатываемого изделия, а также обоснования принятых при его разработке технических и технико-экономических решений. |
| Комплектность конструкторских документов |
При определении комплектности конструкторских документов на изделия следует различать:
· основной конструкторский документ;
· основной комплект конструкторских документов;
· полный комплект конструкторских документов.
| Стадии проектирования |
В соответствии с ГОСТ 2.103-68 устанавливаются следующие стадии проектирования:
Техническое предложение – совокупность конструкторских документов, которые должны содержать технические и технико-экономические обоснования целесообразности разработки документации изделия на основании анализа технического задания заказчика и различных вариантов возможных решений изделий, сравнительной оценки решений с учетом конструктивных и эксплуатационных особенностей разрабатываемого и существующих изделий и патентные исследования.
|
|
|
Техническое предложение после согласования и утверждения в установленном порядке является основанием для разработки эскизного (технического) проекта. Объем работ – по ГОСТ 2.118-73. Документам, разработанным на этой стадии проектирования, присваивается литера "П".
Эскизный проект – совокупность конструкторских документов, которые должны содержать принципиальные конструктивные решения, дающие общее представление об устройстве и принципе работы изделия, а также данные, определяющие назначение, основные параметры и габаритные размеры разрабатываемого изделия.
Эскизный проект после согласования и утверждения в установленном порядке служит основанием для разработки технического проекта или рабочей конструкторской документация. Объем работ – по ГОСТ 2.119-73. Документам, разработанным на этой стадии проектирования, присваивается литера "Э".
Технический проект – совокупность конструкторских документов, которые должны содержать окончательные технические решения, дающие полное представление об устройстве разрабатываемого изделия, и исходные данные для разработки рабочей документация.
Технический проект после согласования и утверждения в установлен ном порядке служит основанием для разработки рабочей конструкторской документации. Объем работ – по ГОСТ 2.120-73. Документам, разработанным на этой стадии проектирования, присваивается литера "Т".
| Основные надписи |
Содержание, расположение и размеры граф основных надписей, дополнительных граф к ним, а также размеры рамок на чертежах и схемах должны соответствовать форме 1, а в текстовых документах – формам 2, 2а и 2б (ГОСТ 2.104-2006).
Основные надписи, дополнительные графы к ним и рамки выполняют сплошными основными и сплошными тонкими линиями по ГОСТ 2.303-68.
Основные надписи располагают в правом нижнем углу конструкторских документов.
На листах формата А4 по ГОСТ 2.301-68 основные надписи располагаются вдоль короткой стороны листа (рисунок 2).



Рисунок 2 - Основные надписи на чертежах:
(1 - основная надпись, 2 - дополнительные графы)
Для оформления чертежей и схем применяется основная надпись формы 1 (рисунок 3). Допускается для последующих листов чертежей и схем применять форму 2а (рисунок 5).

Рисунок 3 - Основная надпись (форма 1)
При оформлении текстовых конструкторских документов для первого листа используется основная надпись формы 2 (рисунок 4), а для последующих листов - формы 2а (рисунок 5).
Рисунок 4 - Основная надпись (форма 2)
В графах основной надписи и дополнительных графах (номера граф на рисунках показаны в круглых скобках) указывают значения соответствующих реквизитов или атрибутов согласно ГОСТ 2.104-2006:
в графе 1 – наименование изделия или наименование документа, если этому документу присвоен код. для изделий народнохозяйственного назначения допускается не указывать наименование документа, если его код определен ГОСТ2.102, ГОСТ2.601, ГОСТ2.602, ГОСТ2.701. Наименование изделия должно соответствовать принятой терминологии и быть по возможности кратким. Наименование изделия записывают в именительном падеже единственного числа. В наименовании, состоящем из нескольких слов, на первом месте помещают имя существительное, например: «Колесо зубчатое»;
в графе 2 – обозначение документа по ГОСТ 2.201 и код, если его код определен ГОСТ 2.102, ГОСТ 2.601, гост 2.602, гост 2.701. допускается применять ранее принятую систему обозначений документов;
в графе З – обозначение материала детали (графу заполняют только на чертежах деталей);
в графе 4 – литеру, присвоенную данному документу (на документе в бумажной форме графу заполняют последовательно, начиная с крайней левой клетки).

Рисунок 5 - Основная надпись (форма 2а)
в графе 5 – массу изделия по ГОСТ 2.109;
в графе б – масштаб (проставляется в соответствии с ГОСТ 2.302 и ГОСТ 2.109);
в графе 7 – порядковый номер листа (на документах, состоящих из одного листа, графу не заполняют);
в графе 8 – общее количество листов документа (указывают только на первом листе);
в графе 9 – наименование или код организации, выпускающей документ (графу не заполняют, если код содержится в обозначении документа);
в графе 10 – характер работы, выполняемой лицом, подписывающим документ, в соответствии с формами 1 и 2. Свободную строку заполняют по усмотрению разработчика, например: «Начальник отдела», «Начальник лаборатории», «Рассчитал»;
в графе 11 – фамилии лиц, подписавших документ;
в графе 12 – подписи лиц, фамилии которых указаны в графе 11.
Подписи лиц, разработавших данный документ и ответственных за нормоконтроль, являются обязательными.
При отсутствии титульного листа допускается подпись лица, утвердившего документ, размещать на свободном поле первого или заглавного листа документа в порядке, установленном для титульных листов по ГОСТ 2.105;
в графе 13 – дату подписания документа;
в графах 14-18 – сведения об изменениях, которые заполняют в соответствии с требованиями ГОСТ 2.503;
При использовании для последующих листов чертежей и схем основной надписи формы 1, граф 1,3-6 и 9 не заполняются.
| Общие требования к текстовым документам |
В соответствии с ГОСТ 2.105-95 текстовые документы подразделяют на документы, содержащие, в основном, сплошной текст (технические условия, паспорта, расчеты, пояснительные записки, инструкции и т. н.), и документы, содержащие текст, разбитый на графы (спецификации, ведомости, таблицы и т. п.).
Подлинники текстовых документов выполняют одним из следующих способов: рукописным – чертежным шрифтом по ГОСТ 2.304 с высотой букв и цифр не менее 2,5 мм; с применением печатающих и графических устройств вывода ЭВМ (ГОСТ 2.004).
| Общие правила выполнения чертежей |
| Форматы |
При выполнении чертежей пользуются форматами, установленными ГОСТ 2.301-68. Форматы листов определяются размерами внешней рамки (выполненной тонкой линией) оригиналов, подлинников, дубликатов, копий. Обозначения и размеры сторон основных форматов должны соответствовать значениям, указанным в таблице 3.
Таблица 3 – Обозначения и размеры основных форматов
| Обозначение формата | Размеры сторон формата, мм |
| А0 | 841 х 1189 |
| А1 | 595 х 841 |
| А2 | 420 х 594 |
| А3 | 297 х 420 |
| А4 | 210 х 297 |
Основные форматы получаются путем последовательного деления на две равные части параллельно меньшей стороне формата площадью 1 кв. м с размерами сторон 1189 х 841 мм (рисунок 6).

Рисунок 6 - Схема деления форматов
Допускается применение дополнительных форматов, образуемых увеличением копотких сторон основных форматов на величину, кратную их размерам (рисунок 7).
Пpи необходимости допускается пpименять фоpмат А5 c pазмеpами стоpон 148 х 210 мм.

Рисунок 7 - Дополнительные форматы
Допускается применение дополнительных форматов образуемых увеличением коротких сторон основных форматов на величину кратную их размерам. Размеры производных форматов, как правило, следует выбирать по таблице 4.
Таблица 4 – Форматы
| Кратность | Формат | ||||
| А0 | А1 | А2 | А3 | А4 | |
| 1189х1682 | - | - | - | - | |
| 1189х2523 | 841х1783 | 594х1261 | 420х891 | 297х630 | |
| - | 841х2378 | 594х1682 | 420х1189 | 297х841 | |
| - | - | 594х2102 | 420х1486 | 297х1051 | |
| - | - | - | 420х1783 | 297х1261 | |
| - | - | - | 420х2080 | 297х1471 | |
| - | - | - | - | 297х1682 | |
| - | - | - | - | 297х1892 |
Обозначение производного формата составляется из обозначения основного формата и его кратности согласно таблице, например, А0х2, А4х8 и т.д.
| Масштабы |
Масштаб - это отношение размеров изображенного на чертеже предмета к его действительным размерам.
Чертежи, на которых изображения выполнены в истинную величину, дают плавильное представление о действительных размерах предмета. Однако при очень малых pазмеpах предмета или, наоборот, при слишком больших, его изображение приходится увеличивать или уменьшать, т.е.
Масштабы установлены ГОСТ 2.302-68 и должны выбираться из ряда, приведенного в таблице 5. Если масштаб указывается в предназначенной для этого графе основной надписи, то должен обозначаться по типу 1: 1; 1: 2; 2: 1 и т.д., для отдельных изображений на поле чертежа значение масштаба указывается в скобках, например для сечения А-А (1: 2).
Таблица 5 – Масштабы
| Масштабы уменьшения | 1:2; 1:2,5; 1:4; 1:5; 1:10; 1:15; 1:20; 1:30; 1:40; 1:50; 1:100; 1:200; 1:400; 1:500; 1:800; 1:1000 |
| Натуральная величина | 1:1 |
| Масштабы увеличения | 2:1; 2,5:1; 4:1; 5:1; 10:1; 15:1; 20:1; 30:1; 40:1; 50:1; 100:1; 200:1; 400:1; 500:1; 800:1; 1000:1 |
При проектировании генеральных планов крупных объектов допускается применять масштабы 1:2000; 1:5000; 1:10000; 1:20000; 1:25000; 1:50000.
| Линии чертежа |
Для изображения предметов на чертежах ГОСТ 2.303-68 устанавливает начертания и основные назначения линий (таблица 6).
Толщина линий одного и того же типа должна быть одинакова для всех изображений на данном чертеже, вычерчиваемых в одинаковом масштабе. Толщина линии S должна быть в пределах от 0,5 до 1,4 мм в зависимости от величины и сложности изображения, а также от формата чертежа.
Таблица 6 – Типы линий
| № п.п | Наименование | Начертание | Толщина линии по отношению к толщине основной линии | Основное назначение |
| Сплошная толстая основная | S | Линия видимого контура Линии перехода видимые Линии контура сечения (вынесенного и входящего в состав разреза) | ||
| Сплошная тонкая | От S/3 до S/2 | Линия контура наложенного сечения Линии размерные и выносные Линии штриховки Линии - выноски Полки линий - выносок и подчеркивание надписей Линии для изображения пограничных деталей ("обстановка") Линии ограничения выносных элементов на видах, разрезах и сечениях Линии перехода воображаемые Следы плоскостей, линии построения характерных точек при специальных построениях | ||
| Сплошная волнистая | От S/3 до S/2 | Линии обрыва Линии разграничения вида и разреза | ||
| Штриховая | От S/3 до S/2 | Линии невидимого контура Линии перехода невидимые | ||
| Штрих - пунктирная тонкая | От S/3 до S/2 | Линии осевые и центровые Линии сечений, являющиеся осями симметрии для наложенных или вынесенных сечений | ||
| Штрих - пунктирная утолщенная | От S/2 до 2S/3 | Линии, обозначающие поверхности, подлежащие термообработке или покрытию Линии для изображения элементов, расположенных перед секущей плоскостью ("наложенная проекция") | ||
| Разомкнутая | От S до 1,5 S | Линии сечений | ||
| Сплошная тонкая с изломами | От S/3 до S/2 | Длинные линии обрыва | ||
| Штрих - пунктирная с двумя точками тонкая | От S/3 до S/2 | Линии сгиба на развертках Линии для изображения частей изделия в крайних или промежуточных положениях Линии для изображения развертки совмещенной с видом |
На чеpтеже pукоятки (рисунок 8) показаны примеры применения некоторых линий. Обратите внимание, что штpиховые и штpихпунктиpные линии должны пересекаться только штрихами.

Рисунок 8 - Основные назначения линий
| Шрифты чертежные |
Все надписи на чертежах выполняют стандартным шрифтом согласно ГОСТ 2.304 - 81. Стандартом установлены 2 типа шрифтов: тип. А и тип Б, каждый из которых можно выполнить или без наклона, или с наклоном 75 градусов к основанию стоки.
Размер шрифта h - величина, определенная высотой прописных букв в миллиметрах. Высота прописных букв h измеряется перпендикулярно к основанию строки. Устанавливаются следующие размеры шрифта:1,8; 2,5; 3,5; 5; 7; 10; 14; 20; 28; 40. ГОСТ 2.304-81 устанавливает четыре типа шрифта:
1. Тип А без наклона (d = h /14);
2. Тип А с наклоном около 75о (d = h /14);
3. Тип Б без наклона (d = h /10);
4. Тип Б с наклоном около 75о (d = h /10).
Тип определяется параметрами шрифта: расстояниями между буквами, минимальный шаг строк, минимальное расстояние между словами и толщина линий шрифта. Шрифты выполняют при помощи вспомогательной сетки, образованной тонкими линиями, в которую вписывают буквы. Шаг линий сетки определяется в зависимости от толщины линий шрифта d. Начертание шрифта типа Б приведено на рисунке 9.

Рисунок 9 - Шрифт типа Б наклонный
При нанесении размеров диаметров, квадрата, указании уклона и конусности перед размерным числом наносят соответствующие знаки.
| Изображения - виды, разрезы, сечения |
Правила построения изображений регламентируется ЕСКД ГОСТ 2.305-2008, согласно которому, изображения предметов на чертеже должны выполняться по методу прямоугольного проецирования. При этом предмет предполагается расположенным между наблюдателем и соответствующей плоскостью проекций. Изображение в общем случае можно рассматривать как проекцию пространственного объекта на плоскость.
Изображения на чертеже в зависимости от их содержания разделяются на виды, разрезы, сечения. Количество изображений (видов, разрезов, сечений) на чертеже должно быть наименьшим, но обеспечивающим полное представление о предмете при применении установленных в соответствующих стандартах условных обозначений, знаков и надписей.
| Виды |
Вид – изображение обращенной к наблюдателю видимой части поверхности предмета. Для уменьшения количества изображений допускается на видах показывать необходимые невидимые части поверхности при помощи штриховых линий. Виды разделяются на основные, местные и дополнительные.

Рисунок 10 - Основные виды
В качестве основных плоскостей проекций принимают грани пустотелого куба, в который мысленно помещают предмет и проецируют его на внутренние грани поверхности. Устанавливаются следующие названия видов, получаемых на основных плоскостях проекций (рисунок 10).
1 – вид спереди (главный вид);
2 – вид сверху;
3 – вид слева;
4 – вид справа;
5 – вид снизу;
6 – вид сзади.
Изображение на фронтальной плоскости проекций принимается на чертеже в качестве главного. Предмет располагают относительно фронтальной плоскости проекций так, чтобы изображение на ней давало наиболее полное представление о форме и размерах предмета.
Главный вид, как правило, должен соответствовать расположению изделия при выполнении основной операции технологического процесса его изготовления или сборки, а расположение изделий, имеющих явно выраженные верх и низ, должно соответствовать их нормальному положению в эксплуатации.
Названия видов на чертежах надписывать не следует, за исключением случая, когда виды сверху, слева, справа, снизу, сзади не находятся в непосредственной проекционной связи с главным изображением (видом или разрезом, изображенным на фронтальной плоскости проекций).

Рисунок 11 - Корпусная деталь
При нарушении проекционной связи, направление проектирования должно быть указано стрелкой около соответствующего изображения. Над стрелкой и над полученным изображением (видом) следует нанести одну и ту же прописную букву (рисунок 11, вид Д). Чертежи оформляют так же, если перечисленные виды отделены от главного изображения другими изображениями или расположены не на одном листе с ним.
Если какую-либо часть предмета невозможно показать на основных видах без искажения формы и размеров, то применяют дополнительные виды, получаемые на плоскостях, непараллельных основным плоскостям проекций (рисунок 12).

Рисунок 12 - Фланец угловой
Дополнительный вид должен быть отмечен на чертеже стрелкой и прописной буквой, а у связанного с дополнительным видом изображения предмета должна быть поставлена стрелка, указывающая направление взгляда, с соответствующим буквенным обозначением.
В случае, когда дополнительный вид расположен в непосредственной проекционной связи с соответствующим изображением, стрелку и обозначение вида не наносят (рисунок 13).
Дополнительный вид допускается повертывать, но с сохранением, как правило, положения, принятого для данного предмета на главном изображении, при этом обозначение вида должно быть дополнено условным графическим обозначением.

Рисунок 13 - Пример изображения дополнительного вида, находящегося в проекционной связи
Изображение отдельного, ограниченного места поверхности предмета называется местным видом (рисунок 11, вид Г).
Местный вид может быть ограничен линией обрыва, по возможности в наименьшем размере, или не ограничен. Местный вид должен быть отмечен на чертеже подобно дополнительному виду.
Соотношение размеров стрелок, указывающих направление взгляда, должно соответствовать приведенным на рисунке 14.
Рисунок 14 - Размеры стрелок, указывающих направление взгляда
| Разрезы |
Разрез – изображение предмета, мысленно рассеченного одной или несколькими плоскостями, при этом мысленное рассечение предмета относится только к данному разрезу и не влечет за собой изменения других изображений того же предмета. На разрезе показывается то, что получается в секущей плоскости и что расположено за ней. Допускается изображать не все, что расположено за секущей плоскостью, если это не требуется для понимания конструкции.
Разрезы разделяются, в зависимости от положения секущей плоскости относительно горизонтальной плоскости проекций, на:
горизонтальные – секущая плоскость параллельна горизонтальной плоскости проекций;
вертикальные – секущая плоскость перпендикулярна горизонтальной плоскости проекций;
наклонные – секущая плоскость составляет с горизонтальной плоскостью проекций угол, отличный от прямого.
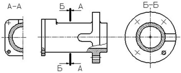
Рисунок 15 - Примеры выполнения и обозначения разрезов
На рисунке 15 приведены: горизонтальный разрез Б-Б и вертикальные разрезы: А-А, В-В, Г-Г.
Выполнение и обозначение наклонный разрез В-В показано на рисунке 11.
Вертикальный разрез называется фронтальным, если секущая плоскость параллельна фронтальной плоскости проекций (рисунок 11, разрез Б-Б), и профильным, если секущая плоскость параллельна профильной плоскости проекций.
В зависимости от числа секущих плоскостей разрезы разделяются на:
простые – при одной секущей плоскости (рисунок 15, разрезы В-В и Г-Г);
сложные – при нескольких секущих плоскостях (рисунок 15, разрезы А-А и Б-Б).
Сложные разрезы бывают ступенчатые, если секущие плоскости параллельны (рисунок 15, разрез Б-Б), и ломанным, если секущие плоскости пересекаются (рисунок 15, разрезы А-А).
При ломаных разрезах секущие плоскости условно повертывают до совмещения в одну плоскость, при этом направление поворота может не совпадать с направлением взгляда.
Если совмещенные плоскости окажутся параллельными одной из основных плоскостей проекций, то ломаный разрез допускается помещать на месте соответствующего вида. При повороте секущей плоскости элементы предмета, расположенные за ней, вычерчивают так, как они проецируются на соответствующую плоскость, с которой производится совмещение.
Разрезы называются продольными, если секущие плоскости направлены вдоль длины или высоты предмета (рисунок 16).
Рисунок 16 - Продольный разрез пружины
Разрезы называются поперечными, если секущие плоскости направлены перпендикулярно длине или высоте предмета (рисунок 17, разрезы АА и Б-Б)

Рисунок 17 - Поперечный разрез
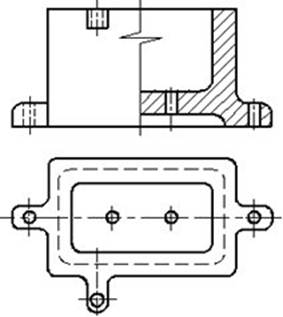
Разрез, служащий для выяснения устройства предмета лишь в отдельном, ограниченном месте, называется местным (рисунок 18).
Рисунок 18 - Местный разрез
Местный разрез выделяется на виде сплошной волнистой линией или сплошной тонкой линией с изломом. Эти линии не должны совпадать с какими-либо другими линиями изображения.
Часть вида и часть соответствующего разреза допускается соединять, разделяя их сплошной волнистой линией (рисунок 19).

Рисунок 19 - Примеры совмещения части вида и разреза
Часть вида и часть соответствующего разреза допускается соединять, разделяя их сплошной тонкой линией с изломом (рисунок 20).

Рисунок 20 - Примеры совмещения части вида и разреза
Если на изображении симметричной детали соединяются половина вида с половиной разреза, то разделяющей линией служит ось симметрии (рисунок 21).

Рисунок 21 - Примеры совмещения части вида и разреза
Если в симметричной детали ось симметрии совпадает с линией контура, границу вида и разреза смещают от оси и оформляют, как показано на рисунке 22.

Рисунок 22 - Примеры совмещения части вида и разреза
Допускается также разделение разреза и вида штрих-пунктирной тонкой линией, совпадающей со следом плоскости симметрии не всего предмета, а лишь его части, если она представляет тело вращения (рисунок 23).

Рисунок 23 - Примеры совмещения части вида и разреза






