Элементы, выявляющиеся в процессе компонования машины, следует многократно использовать для всей конструкции. Унификация конструктивных элементов заключается в многократном использовании элементов конструкции, выявленных в процессе компонования, путем усреднения расчетных параметров с целью максимального сокращения их номенклатуры.
Унификации в первую очередь подлежат:
- посадочные соединения (по номинальным размерам, типу посадок и классуточности);
- резьбы (по диаметру, шагу и классу точности);
- шлицевые и шпоночные соединения;
- крепежные детали и т.д.
На рис. 8.1 приведен пример компонования вала с двумя насаженными деталями, одна из которых опирается на бронзовую втулку. В конструкции (рис. 8.1,а) выбор посадочных диаметров не продуман. Правильно назначен основной посадочный размер (диаметр опорной шейки) из числа нормальных (Ø 50). Далее допущены ошибки. С целью уменьшения расхода бронзы конструктор принимает толщину стенок втулки равной 3,5 мм, вследствие чего получается нестандартный размер наружного диаметра (Ø 57). Стремясь увеличить прочность вала в соединении со второй деталью, конструктор уменьшает диаметр вала по отношению к шейке на 2 мм на сторону, в результате чего получается не -стандартный диаметр (Ø 46), который приводят к размеру резьбы М 45 под затяжную гайку.
|
|
|
В компоновке на основе нормальных размеров (рис. 8.1,б) наружный диаметр втулки – 60мм, диаметр вала в соединении со второй деталью принят 45мм. Отсюда следует назначение резьбы М45, которая соответствует стандартному диаметру (Ø 45). Однако такая стандартизация размеров, в данном случае, приводит к некоторому снижению прочности вала и увеличению массы бронзовой втулки.
В более рациональной конструкции (рис. 8.1, в) диаметр шейки -55 мм, наружный диаметр втулки - 60мм, диаметр вала в соединении со второй деталью - 50мм и размер резьбы - М 48.
Рассмотрим пример компонования многоступенчатого цилиндрического вала с закрепленными на нем деталями, опирающегося в корпусе на подшипники скольжения (рис. 8.1,г,д).

Рис. 8.1. Унификация элементов конструкции
В конструкции (рис. 8.1,г) допущен значительный разнобой в размерах посадочных диаметров, резьб, шпонок и модулей зубьев. В рациональной конструкции (рис.8.1,д) сокращено число посадочных размеров, унифицированы шпонки и модули зубьев (m=4).
Необходимая прочность зубьев малых зубчатых колес достигнута увеличением их длин. Итоги унификации представлены в табл. 8.1.
Таблица 8.1.Унификация элементовконструкции вала
| Элементы конструкции вала | Исходная конструкция | Число | Унифицированная конструкция | Число |
| Диаметры и посадки | ǿ 40 ǿ45 ǿ46 ǿ48 ǿ50 ǿ50 ǿ55 ǿ55 ǿ65 | ǿ40 ǿ45 ǿ50 ǿ55 | ||
| Резьбы | М39 М48 | М39 | ||
| Шпонки, мм | ||||
| Модули зубьев | 4,5 | |||
| Всего наименований |
Анализируя таблицу, можно сделать вывод, что в результате проведенной унификации элементов конструкции вала в общей сложности номенклатура элементов сокращена с 16 до 7 наименований, а именно: число посадочных размеров сокращено с 9 до 4, число резьб - с 2 до 1, число шпонок - с 2 до 1, число модулей зубьев шестерен - с 3 до 1.
|
|
|
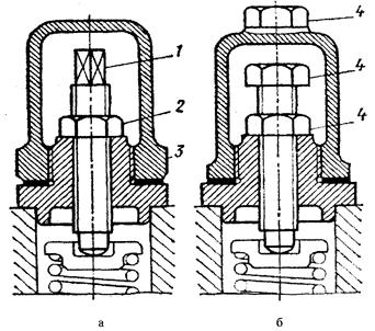
В качестве примера унификации размеров под ключ рассмотрим установку для регулировки редукционного клапана (рис. 8.2). В конструкции установки (рис. 8.2,а) применены три размера (1...3), в унифицированной конструкции (рис.8.2, б) - один размер (4).

Рис. 8.2. Унификация размеров под ключ
ǿ45
ǿ46
ǿ48
ǿ50
ǿ55
ǿ65
ǿ45
ǿ50