Этот принцип предусматривает конструирование составных частей машины в виде независимых агрегатов, отдельно собираемых, регулируемых, подвергаемых обкатке, контрольным испытаниям и устанавливаемых в законченном виде на машину.
Последовательно проведенное агрегатирование позволяет осуществлять параллельную и независимую сборку элементов машины, упрощает монтаж, ускоряет доводку опытных образцов, облегчает использование на новых машинах доведенных и проверенных в эксплуатации конструкций и упрощает ремонт, позволяя комплектно заменять износившиеся составные части новыми. Агрегатирование иногда усложняет конструкцию, но, в конечном счете, всегда дает большой выигрыш в общей стоимости изготовления машины, надежности и удобстве эксплуатации.
На рис. 8.5, а приведен червячный редуктор, непосредственно связанный с приводным валом машины.

8.5. Агрегатирование зубчатых передач(начало)


Рис. 8.5. Агрегатирование зубчатых передач (продолжение) но,

Рис. 8.5.Агрегатирование зубчатых передач (продолжение)

Рис. 8.5. Агрегатирование зубчатых передач (окончание)
Вал червячного колеса смонтирован в опорах, расположенных в различных корпусах. Выдержать соосность опор при обработке затруднительно. Сборка крайне неудобна: нужно предварительно надеть червячное колесо на основной вал, установить корпус редуктора, после чего монтировать червяк, ввинчивая его в зубья колеса. Проверить правильность зацепления и отрегулировать осевое положение червячного колеса затруднительно,
В агрегатированной конструкции (рис. 8.5,б) вал червячного колеса установлен в двух опорах, из которых одна расположена в корпусе, другая в диафрагме 1. Обе опоры можно обработать в сборе, получив необходимую соосность. Вал червячного колеса соединен с приводным валом шлицевым переходником 2. Монтаж редуктора значительно упрощается.
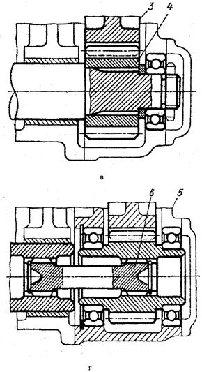
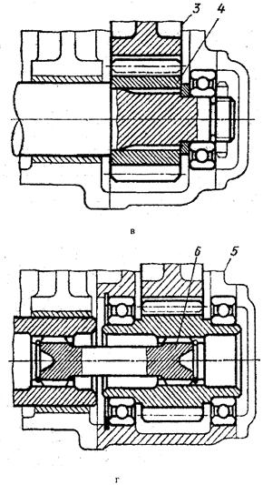
Конструкция (рис. 8.5,в) редуктора с цилиндрическими шестернями 3, 4, опертыми в разных корпусах, нецелесообразна. В агрегатированной конструкции (рис. 8.5,г) шестерня редуктора соединена с приводным валом посредством торсиона б, компенсирующего неточности расположения редуктора относительно вала.
В зубчатой передаче (рис, 8.5,д), монтируемой на станине 7 и крышке 8, к перечисленным выше дефектам неагрегатированных конструкции прибавляется сложность введения валика промежуточного перебора 9 в опору крышки. При снятии крышки передача распадается. Проверить правильность зацепления шестерен невозможно.
В агрегатированной конструкции (рис. 8.5,е) опоры шестерен установлены в диафрагме 10; передача приводится торсионом 11.
Наиболее целесообразна конструкция (рис. 8.5,ж), где опоры расположены в кронштейне 12, привернутом к крышке на лапах 13, что обеспечивает удобную сборку и обзор механизма.






