Магнитное поле создается не только электрическими токами, но и постоянными магнитами.
Намагничивание вещества. Постоянные магниты могут быть изготовлены лишь из сравнительно немногих веществ, но все вещества, помещенные в магнитное поле, намагничеваются т. е. сами становятся источниками магнитного поля. В результате этого вектор магнитной индукции при наличии вещества отличается от вектора магнитной индукции в вакууме.
Гипотеза Ампера. Причина, вследствие которой тела обладают магнитными свойствами, была установлена французским ученым Ампером. Сначала, под непосредственным впечатлением от наблюдения за поворачивающейся вблизи проводника с током магнитной стрелкой в опытах Эрстеда Лмиер предположил, что магнетизм Земли вызван токами, проходящими внутри земного шара. Главный шаг был сделан: магнитные свойства тела можно объяснить циркулирующими внутри него токами. Далее Ампер пришел к общему заключению: магнитные свойства любого тела определяются замкнутыми электрическими токами внутри него. Этот решающий шаг от возможности объяснения магнитных свойств тела токами к категорическому утверждению, что магнитные взаимодействия — это взаимодействия токов, — свидетельство большой научной смелости Ампера.
|
|
|
Согласно гипотезе Ампера внутри молекул и атомов циркулируют элементарные электрические токи. (Теперь мы хорошо знаем, что эти токи образуются вследствие движения электронов в атомах.) Если плоскости, в которых циркулируют эти токи, расположены беспорядочно по отношению друг к другу из-за теплового движения молекул (рис. 1.28, а), то их действия взаимно компенсируются, и никаких магнитных свойств тело не обнаруживает. В намагниченном состоянии элементарные токи в теле ориентированы так, что их действия складываются (рис. 1.28, б). Гипотеза Ампера объясняет, почему магнитная стрелка и рамка (контур) с током в магнитном поле ведут себя одинаково (см. § 2). Стрелку можно рассматривать как совокупность маленьких контуров с током, ориентированных одинаково. Наиболее сильные магнитные поля создают вещества, называемые ферромагнетиками. Магнитные поля создаются ферромагнетиками не только вследствие обращения электронов вокруг ядер, но и вследствие их собственного вращения.

Собственный вращательный момент (момент импульса) электрона называется спином. Электроны всегда как бы вращаются вокруг своей оси и, обладая зарядом, создают магнитное поле наряду с полем, появляющимся за счет их орбитального движения вокруг ядер. В ферромагнетиках существуют области с параллельными ориентациями спинов, называемые доменами; размеры доменов порядка 0,5 мкм. Параллельная ориентация спинов обеспечивает минимум потенциальной энергии. Если ферромагнетик не намагничен, то ориентация доменов хаотична, и суммарное магнитное поле, создаваемое доменами, равно нулю. При включении внешнего магнитного поля домены ориентируются вдоль линий магнитной индукции этого поля, и индукция магнитного поля в ферромагнетиках увеличивается, становясь в тысячи и даже миллионы раз больше индукции внешнего поля.
|
|
|
Температура Кюри. При температурах, больших некоторой определенной для данного ферромагнетика, его ферромагнитные свойства исчезают. Эту температуру называют температурой Кюри по имени открывшего данное явление французского ученого. Если достаточно сильно нагреть намагниченный гвоздь, то он потеряет способность притягивать к себе железные предметы. Температура Кюри для железа 753 °С, для никеля 365 °С, а для кобальта 1000 °С. Существуют ферромагнитные сплавы, у которых температура Кюри меньше 100 °С. Первые детальные исследования магнитных свойств ферромагнетиков были выполнены выдающимся русским физиком А. Г. Столетовым (1839—1896).
Ферромагнетики и их применение. Хотя ферромагнитных тел в природе не так уж много, именно их магнитные свойства получили наибольшее практическое применение. Железный или стальной сердечник в катушке во много раз усиливает создаваемое ею магнитное поле, не увеличивая силу тока в катушке. Это экономит электроэнергию. Сердечники трансформаторов, генераторов, электродвигателей и т. д. изготовляют из ферромагнетиков. При выключении внешнего магнитного поля ферромагнетик остается намагниченным, т. е. создает магнитное поле в окружающем пространстве. Это объясняется тем, что домены не возвращаются в прежнее положение и их ориентация частично сохраняется. Благодаря этому существуют постоянные магниты. Постоянные магниты находят широкое применение в электроизмерительных приборах, громкоговорителях и телефонах, звукозаписывающих аппаратах, магнитных компасах и т. д. Большое применение получили ферриты ферромагнитные материалы, не проводящие электрического тока. Они представляют собой химические соединения оксидов железа с оксидами других веществ. Один из известных ферромагнитных материалов — магнитный железняк - является ферритом.
Магнитная запись информации. Из ферромагнегикои изготовляют магнитные ленты и тонкие магнитные пленки. Магнитные ленты широко используют для звукозаписи в магнитофонах и для видеозаписи в видеомагнитофонах.
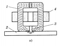
Магнитная лента представляет собой гибкую основу из полихлорвинила или других веществ. На нее наносится рабочий слой в виде магнитного лака, состоящего из очень мелких игольчатых частиц железа или другого ферромагнетика и связующих веществ. Запись звука производят на ленту с помощью электромагнита, магнитное поле которого изменяется в такт со звуковыми колебаниями. При движении ленты вблизи магнитной головки различные участки пленки намагничиваются. Схема магнитной индукционной головки показана на рисунке 1.29, а, где 1 — сердечник электромагнита; 2 — магнитная лента; 3 — рабочий зазор; 4 — обмотка электромагнита.

При воспроизведении звука наблюдается обратный процесс: намагниченная лента возбуждает в магнитной головке электрические сигналы, которые после усиления поступают на динамик магнитофона. Тонкие магнитные пленки состоят из слоя ферромагнитного материала толщиной от 0,03 до 10 мкм.

Их применяют в запоминающих устройствах электронно-вычислительных машин (ЭВМ). Магнитные пленки предназначены для записи, хранения и воспроизведения информации. Их наносят на тонкий алюминиевый диск или барабан. Информацию записывают и воспроизводят примерно так же, как и в обычном магнитофоне. Запись информации в ЭВМ можно производить и на магнитные ленты. Развитие технологии магнитной записи привело к появлению магнитных микроголовок, которые используются в ЭВМ, позволяющих создавать немыслимую ранее плотность магнитной записи. На ферромагнитном жестком диске диаметром меньше 8 см хранится до нескольких терабайт (10 12 байт) информации. Считывание и запись информации на таком диске осуществляется с помощью микроголовки, расположенной на поворотном рычаге (рис. 1.29, б). Сам диск вращается с огромной скоростью, и головка плавает над ним в потоке воздуха, что предотвращает возможность механического повреждения диска. Все вещества, помещенные в магнитное поле, создают собственное поле. Наиболее сильные поля создают ферромагнетики. Из них делают постоянные магниты, так как поле ферромагнетика не исчезает после выключения намагничивающего поля. Ферромагнетики широко применяются на практике.
|
|
|
Магнитные поля создаются либо постоянными магнитами, либо токами. В 1820 г. А. Ампер выдвинул смелую гипотезу, согласно которой магнитные свойства вещества (в том числе и постоянных магнитов) возникают за счет молекулярных токов, циркулирующих в молекулах вещества. Дальнейшее развитие науки подтвердило эту идею Ампера. Однако теорию магнитных свойств вещества удалось построить лишь после того, как было изучено строение атома. У большинства веществ внутри атомов магнитные поля отдельных электронов, а также магнитные поля отдельных атомов и молекул полностью или почти полностью скомпенсированы. Поэтому их магнитные свойства очень слабы они называются немагнитными. Однако существует ряд веществ, например железо, кобальт, никель и некоторые редкоземельные элементы (лантаноиды), а также некоторые сплавы, которые обладают сильными магнитными свойствами. Эти вещества назвали ферромагнетиками. (Слово «ферромагнетик» образовано от латинского слова ferrum — железо). Ферромагнетики очень сильно влияют на магнитное поле. Если в катушку с током внести ферромагнитный сердечник, то магнитное поле усиливается в сотни и даже тысячи раз. Этим широко пользуются в технике: сердечники электромагнитов, реле и многие другие устройства изготовляются из ферромагнетиков, а чаще всего — из специальных сортов стали. Ферромагнетики подразделяются на два класса: магнитомягкие и магнитотвердые материалы. Современная теория ферромагнетизма была создана примерно 50 лет тому назад. Большой вклад в создание этой теории внесли отечественные ученые Я. И. Френкель, Л. Д. Ландау, Е. М. Лившиц. Для каждого ферромагнетика характерна определенная температура, выше которой у него пропадают способности к сильному намагничиванию и его магнитные свойства оказываются такими же, как у немагнитных веществ. Эта температура называется точкой Кюри в честь Пьера Кюри, который в 1895 г. открыл это явление. Точка Кюри у железа равна 770 °С, у никеля 358 °С, у редкоземельного элемента гадолиния 16 °С, у сплава пермаллой около 400 °С, у сплава пермендюр около 900 °С и т. д. Ферромагнитные свойства не наблюдаются ни у жидкостей, ни у газов. Они характерны только для некоторых кристаллов при температурах ниже точки Кюри.
|
|
|
Магни́тное по́ле — силовое поле, действующее на движущиеся электрические заряды и на тела, обладающие магнитным моментом, независимо от состояния их движения[1], магнитная составляющая электромагнитного поля[2]. Магнитное поле может создаваться током заряженных частиц и/или магнитными моментами электронов в атомах (и магнитными моментами других частиц, хотя в заметно меньшей степени) (постоянные магниты). Кроме этого, оно появляется при наличии изменяющегося во времени электрического поля. Основной силовой характеристикой магнитного поля является вектор магнитной индукции
(вектор индукции магнитного поля)[3][4]. С математической точки зрения
— векторное поле, определяющее и конкретизирующее физическое понятие магнитного поля. Нередко вектор магнитной индукции называется для краткости просто магнитным полем (хотя, наверное, это не самое строгое употребление термина). Ещё одной фундаментальной характеристикой магнитного поля (альтернативной магнитной индукции и тесно с ней взаимосвязанной, практически равной ей по физическому значению) является векторный потенциал. Нередко в литературе в качестве основной характеристики магнитного поля в вакууме (то есть в отсутствие магнитной среды) выбирают не вектор магнитной индукции
а вектор напряжённости магнитного поля
, что формально можно сделать, так как в вакууме эти два вектора совпадают[5]; однако в магнитной среде вектор
не несет уже того же физического смысла[6], являясь важной, но всё же вспомогательной величиной. Поэтому при формальной эквивалентности обоих подходов для вакуума, с систематической точки зрения следует считать основной характеристикой магнитного поля именно
Магнитное поле можно назвать особым видом материи, посредством которого осуществляется взаимодействие между движущимися заряженными частицами или телами, обладающими магнитным моментом. Магнитные поля являются необходимым (в контексте специальной теории относительности) следствием существования электрических полей. Вместе, магнитное и электрическое поля образуют электромагнитное поле, проявлениями которого являются, в частности, свет и все другие электромагнитные волны. С точки зрения квантовой теории поля магнитное взаимодействие — как частный случай электромагнитного взаимодействия переносится фундаментальным безмассовым бозоном — фотоном (частицей, которую можно представить как квантовое возбуждение электромагнитного поля), часто (например, во всех случаях статических полей) — виртуальным.