ТЕХНОЛОГИЧЕСКАЯ КАРТА
«ANSERGLOB»
РАЗРАБОТАНО
Заведующий кафедрой технологии
строительного производства ХГТУСА
проф., канд.техн.наук
__________________В.В. Савйовский
2010.____.____.
РАЗРАБОТАНО
Главный технолог
ООО „Аскона-Пивдень”
___________________ К.И. Ткаченко
2010.____.____.
г. Харьков, 2010 г.
СОДЕРЖАНИЕ
| Область применения………………………………………………………......... | ||
| Общие положения………………………………………………………………. | ||
| Организация и технология выполнения работ ……………………………... | ||
| Требования к качеству и приемке работ ……………………………………. | ||
| Потребность в материально-технических ресурсах …………………….......... | ||
| Техника безопасности и охрана труда, противопожарные мероприятия…… | ||
| Технико-экономические показатели. Калькуляция трудовых затрат. График производства работ …………………………………………………………. | ||
| Приложение А. Схемы устройства отдельных узлови деталей наружной скрепленной теплоизоляции «ANSERGLOB» ………………………………. | ||
| Приложение Б. Способы подготовки основания ……………………………. | ||
| Приложение В. Требования к дополнительным материалам ……………….. | ||
| Приложение Г. Технологические перерывы ………………………………….. |
1 ОБЛАСТЬ ПРИМЕНЕНИЯ
|
|
|
1.1 Технологическая карта предназначена для использования при выполнении работ по устройству наружной скрепленной теплоизоляции системы ТМ «ANSERGLOB» ограждающих строительных конструкций наружных стен зданий различного назначения. Технологическая карта используется при новом строительстве, ремонте, реконструкции или термической модернизации зданий.
1.2 Данная технологическая карта применяется при выполнении любых объемов работ по устройству скрепленной теплоизоляции стен зданий.
1.3 Применение указаний данной технологической карты рекомендуется при условии выполнения работ в регламентированных условиях, включающих температуру наружного воздуха в границах +5……300С. Не рекомендуется выполнения работ при температуре более +300С, особенно с южной стороны фасада под прямыми солнечными лучами. В указанных условиях следует применять защитную сетку.
1.4 Технологическая карта на производство наружной теплоизоляции стеновых ограждающих конструкций зданий и сооружений предусматривает привязку технологии и организации работ к конкретным материалам (только ТМ «ANSERGLOB»).
1.5 Данная технологическая карта может быть как самостоятельным документом, так и входящим в состав проектов производства работ (ППР) и может быть использована при разработке проектов организации строительства (ПОС).
1.6 Технологическая карта может быть использована при подготовке тендерной (договорной) документации подряда, для контроля качества выполнения работ заказчиками, генеральными подрядчиками и надзорными органами, при обучении и повышении квалификации рабочих и ИТР, в учебном процессе в учебных заведениях строительного профиля.
|
|
|
1.7 Работы на объекте должны производиться в соответствии с предварительно разработанным проектом производства работ, рабочими чертежами, требованиями ТУ У В.2.6-45.3-24962264-002:2006, ДБН В.2.6-22-2001, ДСТУ-П Б В.2.7-126:2006.
1.8 Система скрепленной наружной теплоизоляции зданий и сооружений ТМ «ANSERGLOB» соответствует техническим условиям ТУ У В.2.7-45.3-24962264-002:2006, которые согласованы с Госстроем, Минздравом и Государственным департаментом пожарной безопасности Украины, зарегистрированы в УкрЦСМ.
2 ОБЩИЕ ПОЛОЖЕНИЯ
2.1 Технологическая карта разработана на выполнение работ по устройству наружной скрепленной теплоизоляции стен. Технологическая карта составлена на строительный процесс, в результате которого создается готовый конструктивный элемент здания – теплоизоляционный и отделочный слой фасадной части стены здания.
Система утепления по технологии ТМ «ANSERGLOB» является не несущим строительным элементом здания и представляет собой многослойную конструкцию (рис.2.1.), которая состоит из многих элементов таких как:
- раствора клеевой смеси ТМ «ANSERGLOB» (ANSERGLOB BCX 39 или ВСХ 40) для крепления плитного утеплителя к наружной поверхности ограждающих конструкций;
- плитного утеплителя (минеральная вата, пенополистирол ПСБ-С-25), который крепится к наружной поверхности ограждающих конструкций, при помощи раствора клеевой смеси и механического крепления (дюбелей);
- вспомогательных элементов из строительных профилей (перфорированный уголок), не подвергающихся коррозии, или пластика в комбинации с армирующей сеткой из стекловолокна;
- уплотняющих и герметизирующих материалов, которые служат для уплотнения и герметизации мест примыканий теплоизоляционного слоя к оконным и дверным проемам, мест соединения теплоизоляционного слоя с конструкциями кровли, а также для устройства деформационных швов в теплоизоляционном слое;
- слоя армирующей клеевой смеси ТМ «ANSERGLOB» (ANSERGLOB ВСХ 40), армированного щелочестойкой штукатурной стеклотканевой сеткой, которая служит для упрочнения системы и для защиты плитного утеплителя от механических и атмосферных воздействий;
- защитно-декоративного покрытия ТМ «ANSERGLOB» (минеральные, акриловые), которое усиливает защитное действие защитного слоя и является внешней отделкой поверхности системы утепления.
2.2 Конструктивные элементы этой системы следует выполнять только с материалов ТМ «ANSERGLOB». Замена конструктивных материалов без согласования с проектной организацией и заказчиком не гарантирует качество выполнения работ по данным технологической карты.
2.3 По типу применяемых утеплителей систему утепления разделяют:
- плиты с минеральной ваты на синтетическом вяжущем марки 175 за ДСТУ Б В.2 7-97 (ГОСТ 9573) или марки 200 за ДСТУ Б В.2 7-99 (ГОСТ 22950);
- плиты из стекловолокна марки 160 за ДСТУ Б В.2.7-56;
- плиты пенополистирольные марки ПСБ-С-25 по ДСТУ Б В.2.7-8.
2.4 Система утепления ТМ «ANSERGLOB» подразделяется по типам, таблица 2.1.
2.5 Система утепления ТМ «ANSERGLOB» из минеральной ваты на синтетическом вяжущем, которая имеет группу горючести НГ, применяется для утепле-

Рисунок 2.1. – Конструктивная схема устройства скрепленной теплоизоляции
ТМ «ANSERGLOB»
Таблица 2.1 – Типы системы теплоизоляции ТМ «ANSERGLOB»
| Тип системы | Характеристика здания | Раскладка теплоизоляционных плит |
| М | Здания и сооружения любых видов независимо от количества этажей | Минераловатные, базальтовые, стекловолокнистые плиты по всей поверхности наружных стеновых конструкций |
| П | Здания и сооружения высотой до 3 этажей с кровлей или несущими конструкциями из негорючих материалов | Пенополистирольные плиты по всей поверхности наружных стеновых конструкций |
| ПМ | Здания и сооружения любых видов (за исключением лечебных учреждений со стационарами) высотой до 9 этажей включительно, а также в 10-этажных зданиях, оборудованных спецтехникой для тушения пожара на высотах свыше 26,5 м, при выполнении нижеуказанных условий: | |
| ПМ 1 | Здания и сооружения высотой до 3 этажей с кровлей или несущими конструкциями из горючих материалов | Изоляция стен пенополистирольными плитами с обязательным устройством обрамления стен поясами из негорючих утеплителей (минераловатные, базальтовые, стекловолокнистые плиты) шириной не менее чем 2 толщины этих плит. |
| ПМ 2 | Здания и сооружения высотой до 5 этажей | Изоляция стен пенополистирольными плитами с обязательным устройством обрамления оконных и дверных проемов поясами из негорючих утеплителей (минераловатные, базальтовые, стекловолокнистые плиты) шириной не менее чем 2 толщины этих плит, а также сплошного горизонтального пояса такой же ширины из негорючего утеплителя на уровне 3 этажа. |
| ПМ3 | Здания и сооружения высотой от 6 до 10 этажей | Изоляция стен пенополистирольными плитами с обязательным устройством обрамления оконных и дверных проемов поясами из негорючих утеплителей (минераловатные, базальтовые, стекловолокнистые плиты) шириной не менее чем 2 толщины этих плит и сплошных горизонтальных поясов такой же ширины из негорючего утеплителя на каждом этаже, но не реже 4м. |
| ПМ 4 | Здания школ и детских дошкольных учреждений | Изоляция стен пенополистирольными плитами с обязательным устройством обрамления оконных и дверных проемов поясами из негорючих утеплителей (минераловатные, базальтовые, стекловолокнистые плиты) шириной не менее чем 2 толщины этих плит. Сплошных горизонтальных поясов такой же ширины и обрамления низа здания до отметки не менее 2 м от уровня земли из негорючего утеплителя. |
ния зданий и сооружений I степени огнестойкости без ограничения по высоте.
|
|
|
2.6 Систему типа ПМ, используют для утепления наружных стен всех видов зданий и сооружений различного назначения высотой до 25 этажей включительно за исключением:
|
|
|
- больниц со стационарами;
- зданий для утилизации взрывоопасных веществ;
- зданий и сооружений военного назначения.
2.6.1 В зданиях высотой до 3-х этажей c покрытием или ее удерживающими элементами с горючих материалов необходимо выполнить обшивку стен поясами с негорючих утеплителей (минеральная вата) шириной не менее чем две толщины этих плит.
2.6.2 В зданиях высотой до 5-ти этажей включительно, необходимо использовать обшивку оконных проемов поясами с негорючих утеплителей, шириной не менее чем две толщины этих плит, а также сделать сплошной пояс с негорючих утеплителей (минеральная вата), на уровне третьего этажа здания.
2.6.3 В зданиях высотой от 6-го до 25-го этажа включительно необходимо выполнять обрамления оконных проемов поясами с негорючих утеплителей (минеральная вата) шириной не менее чем две толщины этих плит. Разделить фасад поясами с негорючих утеплителей по горизонтали через каждые три этажа до девятого включительно, и на каждом этаже, начиная с девятого этажа до двадцать пятого этажа включительно.
2.7 Система утепления ТМ «ANSERGLOB» классифицируется по виду финишного покрытия. Это могут быть минеральная, акриловая, силиконовая и силикатная системы. Основное преимущество минеральной системы - в высокой паропроницаемости и долговечности, акриловой – в эластичности и большой гамме цветов, силиконовые и силикатные системы объединяют в себе преимущества акриловой и минеральной.
2.8 Материально-технические ресурсы, затраты труда приводятся в данной технологической карте на технологический процесс и его операции, на укрупненный измеритель конечной продукции: на площадь - 100,0 м2 утепляемой поверхности ограждающей конструкции.
2.9 При привязке данной технологической карты к конкретному объекту необходимо уточнить:
- объемы работ;
- средства механизации;
- потребность в материальных ресурсах;
- схемы устройства отдельных конструктивных элементов;
- графические схемы организации работ.
2.10 При разработке технологической карты использованы государственные стандарты, строительные нормы и правила, отражающие технической уровень строительного производства:
- ДБН А.3.1-5-96 Организация строительного производства;
- МДС 12-29.2006. Методические рекомендации по разработке и
оформлению технологической карты;
- ТУ У В.2.7-45.3-24962264-002:2006. Система теплоизоляции ТМ «ANSERGLOB»;
- СНиП III-4-80* Техника безопасности в строительстве;
- ДБН В.2.6-31:2006 Конструкции зданий и сооружений. Тепловая изоляция зданий;
- СНиП 3.04.01-87. Изоляционные и отделочные работы;
- СНиП 3.03.01-87. Несущие и ограждающие конструкции;
- РДС 1.03.02-03. Технологическая документация при производстве строительно-монтажных работ. Состав, порядок разработки, согласования и утверждения технологических карт.
3 Организация и технология выполнения работ
3.1 К работам по устройству теплоизоляции допускаются исключительно специальные строительные подразделения, которые имеют для данного вида работ лицензию и аттестованный персонал инженерно-технических работников и рабочих.
3.2 Указанные работы выполняются в соответствии со специально разработанным проектом производства работ (ППР) (рабочим проектом), утвержденным в установленном порядке.
3.3 До начала производства работ должен быть выполнен комплекс подготовительных мероприятий:
- провести организационно-техническую подготовку (оформление разрешения на производство работ по устройству теплоизоляции, знакомство с проектно- технической документацией, и т.п.);
- обустроить строительную площадку временными зданиями и сооружениями, необходимыми для производства работ;
- выполнить ограждение участка производства работ, установить защитные козырьки над входами в здание, установить предупредительные знаки. Оборудовать строительную площадку средствами пожаротушения, освещения и другими элементами, обеспечивающими безопасные условия производства работ;
- выполнить отключение, перенос, ограждение или отключение инженерных коммуникаций, попадающих в зону производства работ;
- приготовить защитные экраны для окон;
- выполнить освидетельствование и подготовку средств подмащивания и грузоподъемных механизмов в соответствии с требованиями;
- выполнить условную разбивку поверхности стены на захватки (участки), определить очередность выполнения на них работ;
3.4 Для снижения трудоемкости и повышения интенсивности выполнения работ при устройстве системы наружной теплоизоляции рекомендуется использовать быстромонтируемые передвижные подмости и строительные леса (модульные и рамные). Средства подмащивания выбираются в зависимости от размеров здания и допускаемой нагрузки. При высоте зданий до 5-ти этажей могут применяться передвижные и приставные леса; для зданий от 5-ти до 9-ти этажей – приставные леса; при высоте здания свыше 9-ти этажей – комбинированные средства подмащивания. Технические характеристики средств подмащивания приведены в таблице 3.1. Леса необходимо устанавливать на расстоянии от стены, равном толщине утеплителя и дополнительного просвета, который равен 50 мм. Крепежные анкеры необходимо устанавливать с небольшим наклоном вниз, для предотвращения попадания дождевой воды внутрь утеплителя. Установка лесов и правильность их установки выполняется в соответствии с паспортом, прилагаемой к нему комплектовочной ведомостью и указаниями по эксплуатации, а также в соответствии с требованиями СНиП III-4-80* и ГОСТ 27321-87.
3.5 Работы производятся захватками, по поточному методу. Размер захватки выбирается в зависимости от применяемых средств подмащивания.
3.6 Количество бригад для производства работ по утеплению стен принимается в зависимости:
- конструктивно-технологических решений теплозащиты;
- средств подмащивания;
- сроков выполнения работ;
- механизмов для подачи материалов.
3.7 Приступать к работам по устройству системы наружной теплоизоляции ограждающих конструкций разрешается после выполнения общеплощадочных мероприятий подготовительного характера, приведенных в п. 3.3. После выполнения указанных мероприятий выполняются работы на конкретной захватке, которые делятся на: подготовительные и основные.
Таблица 3.1 – Технические характеристики средств подмащивания
| Средства подмащивания | Допускаемая нагрузка кгс/м 2 | Максимальная рабочая высота, м. | Размеры рабочей площадки, м. (длина´ширина) |
| Подмости передвижные алюминиевые МР 600 | 4,32-7,07 | 1,8´0,75 | |
| Строительные леса модульные | 100-200 | 60; 100 | 2,0; 2,5; 3,0´0,8; 1,1 |
| Подмости передвижные шириной 1,0м | 100-200 | 4,615-17,215 | 2,5´1,09; 2,5´2,22 |
| Подмости передвижные шириной 0,7м | 100-200 | 4,615-17,215 | 2,5´0,75; 2,5´1,56 |
| Подмости передвижные алюминиевые МР 1000 | 4,32-9,0 | 2,85´0,75 | |
| Строительные леса, фасадные (рамные) | 100-200 | 60; 100 | 2,0; 2,5; 3,0´0,7; 1,0 |
К подготовительным работам относятся:
- устройство временных ограждений и навесов над входами в здание;
- обрезка деревьев (при необходимости);
- установка средств подмащивания, их разборка и передвижение на следующую захватку;
- установка и разборка подъемно-транспортного оборудования;
- очистка фасадов от пыли и загрязнения;
- доставка строительных материалов и конструкций на строительную площадку, их складирование;
- приготовление растворов, окрасочных составов.
К основным работам относятся:
- приклеивание теплоизоляционных плит;
- механическое крепление теплоизоляционных плит дюбелями;
- усиленное армирование оконных и дверных проемов, выступающих частей здания;
- устройство защитного армирующего слоя с армированием его стеклотканевой сеткой;
- устройство защитно-отделочного или защитно-декоративного слоя;
- покраска.
3.8 На объекте до начала работ по устройству наружной теплоизоляции должны быть выполнены:
- общестроительные и монтажные работы;
- остекление окон и балконных дверей или установка стеклопакетов;
- заделка и герметизация швов между блоками или панелями на фасаде здания;
- заделка мест сопряжения оконных, дверных балконных блоков с элементами ограждения;
- устройство кровли и гидроизоляции;
- установка оконных и дверных блоков;
- прокладка всех коммуникаций и устройство всех коммуникационных каналов.
На ремонтируемом или реконструированном объекте работы по устройству скрепленной наружной теплоизоляции следует начинать после:
- ремонта или замены поврежденных, разрушенных элементов зданий, сетей водопровода, отопления, канализации, электроснабжения и связи;
- опробования отремонтированных всех коммуникационных сетей.
3.9 Перед устройством наружной системы теплоизоляции необходимо:
- очистить от ржавчины и обработать антикоррозионной грунтовкой все стальные детали и конструкции, закрываемые системой теплоизоляции;
- удлинить кронштейны крепления водостоков, молниеотводов, наружных осветительных приборов и т.п., учитывая толщину утеплителя;
3.10 По результатам осмотра и освидетельствования составляют акт по подготовке объекта к устройству скрепленной теплоизоляции. Полученные результаты используют при разработке проекта производства работ. В процессе осмотра и освидетельствования определяют состояние ограждающих конструкций объекта, по параметрам:
- наличие и размеры отклонений от вертикали наружных ограждающих конструкций;
- состояние кровли, гидрозащитных и отделочных покрытий;
- наличие повреждений в цоколе и в местах соединения цоколя и стен;
- в наружных ограждающих конструкциях;
- в местах примыкания оконных и дверных блоков, ограждений балконов и лоджий;
3.11 Тщательная подготовка основания утепляемой конструкции позволяет существенно сократить непредусмотренные расходы строительных смесей, которые будут применяться для утепления, а также повысить общую надежность и долговечность системы. Технические требования к основанию должны соответствовать требованиям, указанным в таблице 3.2.
Таблица 3.2 – Технические требования, предъявляемые к основанию.
| Технические требования | Предельные отклонения | Метод и объем контроля |
| Допускаемые отклонения поверхности (при проверке двухметровой рейкой правилом) | ±10мм | Измерительный, технический осмотр, не менее пяти измерений на каждые 100 м2поверхности |
| Неровности, перепады | ±1см на 2м | |
| Допускаемая влажность оснований перед нанесением грунтовки не должна превышать: а) на бетонных, кирпичных; б) на цементно-песчаных. | 4% 5% | Измерительный, технический осмотр, не менее двух измерений на каждые 100 м2поверхности |
3.12 Технологический процесс выполнения работ по устройству системы наружной теплоизоляции зданий выполняют в последовательности:
- подготовка основания;
- грунтование подготовленной поверхности грунтующей эмульсией «ANSERGLOB EG 60 (Unigrunt) или EG 61(Unigrunt – концентрат)»;
- установка цокольных профилей к нижней части здания по его периметру;
- приготовление клеевой смеси «ANSERGLOB BCX 39 или ВСХ 40»;
- нанесение клеевой смеси «ANSERGLOB BCX 39 или ВСХ 40» на поверхность плит утеплителя и приклеивание их к поверхности ограждающих конструкций;
- механическое крепление плит утеплителя дюбелями;
- приготовление армирующей защитной смеси «ANSERGLOB ВСХ 40»;
- усиление углов, оконных и дверных откосов армирующими элементами из стеклотканевой сетки;
- нанесение защитной смеси «ANSERGLOB ВСХ 40» на поверхность теплоизолирующего слоя;
- закрепление перфорированных уголков по торцам здания, а также по периметру всех оконных и дверных проемов;
- армирование защитной растворной смеси сеткой из стеклоткани;
- устройство деформационных швов в местах предусмотренных проектом;
- примыкания плит к оконным и дверным рамам, герметизирующим материалом;
- грунтование поверхности защитного слоя адгезионной эмульсией «ANSERGLOB EG 62 (Quartz grunt)»;
- приготовление декоративной штукатурки ТМ «ANSERGLOB» для устройства отделочного покрытия;
- нанесение декоративной штукатурки ТМ «ANSERGLOB» на поверхность фасада;
- укрепление в нижних частях оконных проемов металлических козырьков;
- окрашивание поверхности фасада декоративно-защитным составом.
3.13 Подготовка основания для устройства системы теплоизоляции производится в соответствии с требованиями ДБН В.2.6-22-2001 и состоит из следующих технологических операций:
- разборка отливов окон, карнизов, парапетов, молниеотводов, водосточных труб, крепежных элементов и т.п.;
- старая штукатурка должна быть проверена простукиванием по всей поверхности, сбита в местах обнаружения пустот и восстановлена (рис. 3.1);

Рисунок 3.1 – Подготовка основания
- поверхность стены не имеющая декоративных покрытий должна быть тщательно промыта водой с помощью агрегатов высокого давления и просушена. При наличии масляных пятен или других видов загрязнения эти места следует очистить или обработать специальными составами для их нейтрализации;
- неровности и перепады более одного сантиметра должны быть устранены (оштукатуривание поверхности или сбивание бугров). Если на основании имеются трещины их нужно расшить наклеить малярную сетку и заштукатурить финишной штукатуркой ANSERGLOB BCT 22, рис.3.2.
- окрасочные покрытия (эмалевые, лаковые) должны быть исследованы на совместимость с клеящим составом; при несовместимости этих составов или когда химический состав старых красок неизвестен, необходимо полностью удалить окрасочные покрытия с помощью следующих способов очистки:
- сухая пескоструйная обработка;
- влажная пескоструйная обработка;
- химическая промывка;
- термическое удаление;

Рисунок 3.2 – Удаление краски
3.14 Поверхность основания перед приклеиванием теплоизоляционных плит должна быть обработана грунтующей эмульсией. При необходимости сплошного выравнивания основания или восстановления старой штукатурки, а также для выравнивания выбоин более 1см необходимо применять штукатурную смесь ANSERGLOB BCT 20. Если основание имеет неровности до 1см, применяется финишная штукатурная смесь ANSERGLOB BCT 22.
3.15 Жирные пятна нужно вывести механическим способом или обработать раствором серной кислотой 3% (см. указания Приложения Б). Обработка поверхностей при наличии грибковых и плесневых поражений, различных растительных налетов выполнятся специальными растворами (предварительно почистить поверхность металлической щеткой), или удалить эти места механическим способом. Необходимый предел прочности основания для устройства системы наружной теплоизоляции должен быть не менее 0,08 МПа.
На новых поверхностях ограждающих конструкций обеспечена достаточная прочность основания, а при утеплении старых, оштукатуренных снаружи зданий необходимо проведение теста на проверку прочности, испытывается не только поверхность основания, но и сам материал ограждающей конструкции.
3.16 Если внешние стеновые конструкции были отремонтированы или обрабатывались специальными композициями, работы по устройству скрепленной теплоизоляции начинают не раньше, чем через 3-е суток после завершения работ по подготовке поверхности. При применении на фасадах зданий штукатурки «ANSERGLOB ВСТ 20 или ВСТ 22 к работам по утеплению ограждающих конструкций можно приступать по истечении 7-ми суток после оштукатуривания поверхности при толщине выполненного штукатурного слоя в 1см. Следовательно, сроки начала работ по утеплению в данном случае зависят от толщины нанесенного штукатурного слоя, а также от характера основания утепляемого здания, температуры и относительной влажности воздуха. Если оштукатуривание стен происходило традиционной цементной штукатуркой, работы по утеплению стеновых ограждающих конструкций можно начинать по истечению 28 суток.
3.17 Закрепление перфорированных цокольных профилей. Устройство системы наружной теплоизоляции начинается с установки первого ряда теплоизоляционных плит, на проектной отметке с помощью цокольного профиля из легких нержавеющих металлов. Профили крепят к цоколю здания по его периметру на 300-400мм ниже перекрытия подвала или цокольного этажа. В случае если подвальное помещение отапливаемое, выполняется утепление всей стены подвальной части здания с обязательной гидроизоляцией. Рекомендуется применять цокольный профиль, имеющий на своей нижней грани капельник, что способствует безопасному стоку воды. Ширина опорной части цокольного профиля, должна соответствовать толщине используемых теплоизоляционных плит (толщина плит утеплителя указывается в проекте производства работ на основании теплотехнического расчета). Цокольный профиль прикрепляется к основанию горизонтально при помощи дюбелей и в одной плоскости, что является основой для ровной поверхности всего теплоизоляционного слоя, рис.3.3. Между соседними цокольными профилями оставляется зазор шириной 2-3 мм для стыковки с помощью пластмассовых соединительных элементов. Для установки системы на углах здания цокольный профиль формируется с помощью двух надрезов под углом 45° и последующего сгиба.


Рисунок 3.3 – Крепление цокольного профиля
3.18 Грунтование поверхности производится непосредственно при подготовке основания (ремонт, оштукатуривание), перед приклеиванием теплоизоляционных плит, а также при выполнении защитно-декоративного слоя системы теплоизоляции. Грунтующая эмульсия наносится на подготовленное и обеспыленное основание. Грунтовать основу можно механическим способом - пистолетом-распылителем СО-НБ, или вручную – валиком, кистью - макловицей, рис.3.4. Применение грунтующих эмульсий указано в таблице 3.3.


Рисунок 3.4 – Грунтование поверхности
3.19 При выполнении работ по грунтованию необходимо учитывать, что концентрат грунтующей адгезионной эмульсии ANSERGLOB EG (Unigrunt – концентрат) разбавляется чистой водой нормальной температуры в пропорции указанной на упаковке и тщательно перемешивается непосредственно перед применением на объекте. Грунтующие эмульсии необходимо наносить на поверхность без пропусков. Все дальнейшие виды работ после грунтования поверхности нужно начинать после полного высыхания (согласно данных таблицы 3.3).
Таблица 3.3 – Грунтующие эмульсии ANSERGLOB
| Параметры | Грунтующие эмульсии | ||
ANSERGLOB EG 61 Unigrunt – концентрат эмульсия универсальная глубокопроникающая (концентрат) | ANSERGLOB EG 60 Unigrunt эмульсия универсальная глубокопроникающая | ANSERGLOB EG 62 Quartz grunt эмульсия адгезионная ( грунт-краска) | |
| Назначение | Укрепляет основание и улучшает адгезию клея, штукатурки, краски и других покрытий, снижает впитывающую способность пористых оснований, сокращает расход краски или обойного клея, обеспечивает равномерное окрашивание основания, служит отличным средством связывания пыли. | Укрепляет основание и улучшает адгезию клея, штукатурки, краски и других покрытий, снижает впитывающую способность пористых оснований, сокращает расход краски или обойного клея, обеспечивает равномерное окрашивание основания, служит отличным средством связывания пыли. | Универсальная при использовании под декоративные краски и штукатурки, а также для фасадных покрытий. Увеличивает адгезионные свойства основания. Служит для консервации штукатурок фасадов на зимний период. |
| Применяется на основаниях | Керамический кирпич, цементные, гипсовые и цементно-известковые штукатурки, гипсокартонные плиты, ячеистый бетон и т.д. | Сильно впитывающие минеральные основания: гипсовые, гипсокартонные, цементные, цементно-известковые и другие основания. | Поверхности из бетона, цементно-известковых, цементно-песчаных штукатурок, кирпича, на гипсовых поверхностях и т.п. |
| Температура основания при нанесении | от +5°С до +30°С | от +5°С до +30°С | от +5°С до +30°С |
| Время высыхания, час | 4 – 6 | 2 - 4 | 3 – 6 |
| Расход эмульсии | ~ 0,15 л/м2 | 0,15 – 0,16 л/м2 | 0,2 – 0,4 л/м2 |
3.20 Приготовление растворной смеси, а также порядок работ должен отвечать инструкции, указанной на упаковке.
3.21 Для приклеивания теплоизоляционных плит используются специальные клеевые смеси ANSERGLOB ВСХ 39 или ВСХ 40. Растворную смесь рекомендуется приготавливать непосредственно на участке строительной площадки, оборудованном водоподающими устройствами, мерником для воды и весами. Для приготовления смеси используют чистую питьевую воду. При замешивании рабочий должен быть в респираторе.
3.22 Приготовление растворной смеси производится следующим образом: в чистую сухую емкость влить мерное количество воды (необходимый объем воды, и время пригодности раствора к использованию приведены в таблице 3.22.1), нормальной температуры (+20°С). Затем нужно добавить соответствующее по весу количество сухой смеси и перемешивать в течение 1-2 минуты низкооборотной дрелью со специальной миксерной насадкой, до получения однородной массы без комков и сгустков. Выдержав 5 минут, снова перемешать, рис.3.5 Клеевые смеси «ANSERGLOB ВСХ 39 и ВСХ 40», следует использовать в течение 2-х часов (время пригодности раствора к использованию). В случае загустевания растворную смесь следует перемешать, используя низкооборотную дрель. Дополнительное добавление воды в растворную смесь не допустимо.

Рисунок 3.5 – Приготовление клеевой
смеси ANSERGLOB ВСХ 39
3.23 Нанесение клеевой смеси на поверхность и приклеивание плит осуществляется в следующей технологической последовательности. Крепление плит начинают с угла здания. Крепление необходимо начинать на 30-40см ниже перекрытия подвала, на ранее установленные цокольные профили. Как правило, жилые этажи находятся на уровне примерно 50-80см над поверхностью грунта. Если перекрытие подвала расположено на уровне грунта или ниже, вокруг здания следует вырыть небольшой котлован и теплоизоляционные плиты начать укладывать на уровне 40см ниже перекрытия между подвальным и жилым помещением. Приклеивание теплоизоляционных плит должно соответствовать требованиям ДБН В.2.6-22-2001.
Таблица 3.4 – Клеевые смеси ANSERGLOB
| Параметры | Наименование смеси | |
ANSERGLOB ВСХ 39 | ANSERGLOB ВСХ 40 | |
| Пропорция смеси, л.воды/кг. | 0,21-0,22 | 0,21-0,22 |
| Продолжительность приготовления растворной смеси | Перемешать до однородной консистенции без комков и сгустков. После чего раствор выдержать 5 минут и снова тщательно перемешать. | |
| Время пригодности раствора к использованию, час | не менее 2 | не менее 2 |
| Время возможного технологического передвижения, час. не позднее | ||
| Расход смеси: пенополистирол – минеральная вата - для армирующего слоя - | 4,5-5 кг/м2 5-7 кг/м2 - | 4,5-5 кг/м2 5-7 кг/м2 4-5 кг/м2 |
3.24 В зависимости от состояния изолируемых поверхностей, а также от типа плит утеплителя растворная клеевая смесь на поверхность плит наносится полосовым (рис.3.6), комбинированным (рис.3.7) (или маячковым) и сплошным (рис.3.8) способами. 
Рисунок 3.6 – Полосовой способ
Полосовым способом растворную смесь наносят в том случае, когда на поверхности стены имеются неровности до 10 мм, а в качестве утеплителя применяются пенополистирольные плиты. Растворную смесь наносят в виде полос на расстоянии 20мм от краев плиты по всему ее периметру, а затем по середине. Полосы, нанесенные по периметру, должны быть с разрывами, чтобы при приклеивании плиты не образовывались воздушные пробки.

Рисунок 3.7 – Комбинированный (или маячковый) способ
Комбинированным (или маячковым) способом растворную смесь наносят в том случае, когда поверхность стены имеет неровности до 15мм и проектом предусмотрено использование пенополистирольных теплоизоляционных плит. Клеевой состав наносится на внутреннюю поверхность теплоизоляционной плиты по всему ее периметру полосами шириной 50-80мм и толщиной 5-10мм (а в случае неровного основания даже толще), на расстоянии 20мм от ее краев. Полосы должны быть с разрывами, чтобы при наклеивании плиты не образовывались воздушные пробки. А посередине плиты в двух, четырех местах – шлепки-маячки размером 150´180мм.

Рисунок 3.8 – Сплошной способ
Сплошным способом растворную смесь наносят в том случае, когда поверхность ограждающей конструкции ровная, без выступов и впадин, или неровности не превышают 5мм, а также когда в качестве утеплителя используются минераловатные плиты. Слой наносят на всю поверхность плиты и выравнивают зубчатой теркой или шпателем с зубьями 10-12 мм. Перед нанесением основного слоя клеевой смеси на утеплитель, необходимо поверхность утеплителя прогрунтовать этой же клеевой смесью. При применении сплошного способа, клеевая смесь должна быть удалена от краев утеплителя на 10-15мм.
3.25 При приклеивании, плиты утеплителя должны перекрывать стыки и швы несущих конструкций зданий минимум на 100,0 мм. Излишки выступившего клея удаляют, смесь не должна попадать в швы между плитами утепления, это приводит к грубому нарушению технологии. Для плит первого ряда, опирающихся на цокольный профиль, клеевой состав наносится с отступлением от нижнего края на величину плеча цокольного профиля. На торцевую часть теплоизоляционной плиты, вставляемую в цокольный профиль, наносится тонкий слой клеевой смеси, для приклеивания торца плиты с поверхностью площадки профиля.
3.26 Теплоизоляционные плиты устанавливаются на основании снизу вверх, начиная от цокольного профиля, горизонтальными рядами. Теплоизоляционные плиты устанавливаются вплотную друг к другу, со смещением вертикальных швов – с перевязкой, без образования крестообразных стыков швов. На углах здания установку плит теплоизоляции необходимо производить с поочередной перевязкой рядов. На плоскости фасада плиты устанавливаются с чередованием вертикальных швов не менее чем в 20-25см. Теплоизоляционные плиты должны плотно прилегать к внешней кромке цокольного профиля. Их внешняя поверхность не должна быть выступающей или заглубленной относительно кромки. Правильность установки каждой плиты утеплителя в требуемое положение контролируется правилом длиной 2 м.
3.27 На углах оконных и дверных проемов следует устанавливать только теплоизоляционные плиты с угловым вырезом, таким образом, чтобы стыки швов с примыкающими плитами находились на расстоянии не менее 100мм от угла проема. Если оконные и дверные блоки смонтированы в плоскости фасада, то теплоизоляционные плиты необходимо устанавливать с напуском на коробку блока не менее 20,0 мм. Предварительно по периметру коробки должна быть наклеена уплотнительная полиуретановая лента или примыкающий профиль. Если оконные и дверные блоки утоплены по отношению к плоскости фасада, и необходимо утеплить откос, то сначала устанавливаются теплоизоляционные плиты основной плоскости фасада с необходимым напуском в средину проема, а затем подготовленные по размеру плиты утеплителя приклеиваются на откосы. Элементы обрамления в вершинах углов оконных и дверных проемов должны выполняться из целых минераловатных плит с вырезанными по месту фрагментами. Запрещается размещать стыки элементов на линиях углов оконных и дверных проемов. Поэтажные горизонтальные рассечки, обрамления оконных и дверных проемов выполняются шириной 150-200 мм из минераловатной плиты (но не менее чем две ширины используемого плитного утеплителя).
3.28 Ширина шва между плитами не должна превышать 2 мм. Возможные швы раскрытием более 4 мм необходимо заполнить клиновидными полосками, вырезанными из теплоизоляционных плит. В случае небольших щелей, в которые трудно вставить пенополистирол, рекомендуется их расширить и вставить полоски пенополистирола с усилием без клеевого раствора.
3.29 В местах примыкания боковых граней теплоизоляционных плит к оконным рамам, подоконному отливу и т.п., стыки между этими конструкциями должны быть герметичными, чтобы избежать проникновения воды внутрь системы теплоизоляции. Для этого необходимо использовать саморасширяющуюся уплотнительную ленту, специальные пластмассовые профили и герметики. Уплотнительная лента в проектном положении должна быть сжата не менее чем на ⅓ от своей толщины в свободном состоянии. На углах уплотнительную ленту необходимо разрезать и клеить «встык», сгибание угла сплошной уплотнительной ленты не допускается.
3.30 Теплоизоляция должна устанавливаться на откосы оконных и дверных коробок с тщательным устройством примыкания к коробкам оконных и дверных блоков. Если система теплоизоляции примыкает к горизонтальным конструкциям (плоская крыша, полы террасы, лоджии, балкон и т.п.), необходимо использовать теплоизоляционные материалы с низкой степенью водопоглощения (например, экструдированный пенополистирол). Необходимо обеспечить непрерывность теплоизоляционного слоя с аналогичной теплоизоляцией ниже этих поверхностей, а также с теплоизоляцией расположенной в прилегающей горизонтальной конструкции. Отклонения в приклеенном слое утеплителя по толщине не должны превышать 3 мм.
3.31 Через 3-е суток после установки теплоизоляционных пенополистирольных плит производится их шлифование. Работы следует выполнять путем шлифовки абразивной бумагой, закрепленной на жесткий полутерок, рис.3.9. Пыль и крошки после шлифования необходимо удалить с поверхности. Поверхность теплоизоляционных плит из минеральных волокон не шлифуется, поэтому этот вид теплоизоляции необходимо сразу устанавливать как можно точнее.

Рисунок 3.9 – Шлифование пенопласта
3.32 Механическое крепление теплоизоляционного слоя осуществляется металлическими дюбелями. До начала выполнения работ по креплению плит утеплителя дюбелями - все элементы, например - электропроводка и т.п. которые не снимаются с фасада, и при устройстве теплоизоляционного слоя оказываются под ним, маркируются во избежание повреждения. Дюбели устанавливаются перед устройством армированного слоя. Схему расстановки дюбелей для конкретных вариантов принимают на основе расчета, с учетом всех влияющих факторов в том числе:
- геометрических характеристик здания в плане и по высоте;
- расчетного значения ветрового давления в районе строительства;
- прочностных характеристик основания;
- предельных отклонений поверхности ограждающих конструкций от
вертикали.
Расчет количества дюбелей выполняется для двух зон, средней и краевой (прилегающей к углу), для которой значение ветрового давления принимают с учетом повышенного динамического коэффициента.
3.33 Правильное расположение дюбелей на поверхности теплоизоляционного слоя соответствует принципу расположения дюбелей по периметру и по средине плит. Пример размещения дюбелей указан на рисунке 3.10

Рисунок 3.10 – Размещение элементов механического крепления.
3.34 Дюбели устанавливаются в предварительно высверленных отверстиях в основании. Отверстия под дюбеля должны быть очищены от буровой пыли путем продувки сжатым воздухом или пылеотсосом. Дюбель монтируется согласно рекомендациям его производителя. Отверстие должно высверливаться достаточно острым сверлом перпендикулярно основанию, глубиной более 10мм чем длина анкера. Дюбеля после их установки не должны выступать над поверхностью теплоизоляционного слоя и обычно заглубляются приблизительно до 2-х миллиметров ниже уровня утеплителя. Для крепления плит из минералловатных плит с поперечной ориентацией волокон используются дюбели с большим диаметром шляпки, чем для других типов теплоизоляционных материалов.
3.35 Рекомендуется для механического крепления системы теплоизоляции применять дисковые дюбеля, рис.3.11. При этом необходимо соблюдать основные технические требования, указанные в таблице 3.5.

Рисунок 3.11 – Дюбелирование плит утеплителя
Таблица 3.5 – Основные технические требования по установке дюбелей.
| Технические требования | Предельное отклонение | Контроль (метод, объем, вид регистрации) |
| Способ сверления отверстий в основании плиты, в зависимости от материала стены: - бетон – ударно-вращательный; - кирпич – ударно-вращательный, вращательный; - пустотелые блоки и кирпич – только вращательный. | ─ | Технический осмотр. Карта наблюдений. |
| Отклонение диаметра сверления отверстия от проектного | +5% | Не менее трех измерений на каждые 100м2 поверхности. Карта измерений. |
| Отклонение глубины сверления отверстия от проектной | +10% | Не менее трех измерений на каждые 100м2 поверхности. Карта измерений. |
| Отклонения вертикальности сверления отверстия относительно плоскости основания | ±2% | Не менее трех измерений на каждые 100м2 поверхности. Карта измерений. |
3.36 Утопление дюбеля производится во время монтажа крепежного элемента. Материал теплоизоляции надрезается по контуру диска дюбеля, а затем утапливается дюбелем приблизительно на 10мм. Утопленный дюбель создает цилиндрическое отверстие, в которое впоследствии помещается заглушка из такого же материала. Эти заглушки поставляются вместе с дюбелями, и изготавливаются из соответствующего применяемого фасадного утеплителя. После монтажа такого дюбеля теплоизолирующий слой имеет ровную поверхность.
3.37 В краевых зонах устраивается дополнительное крепление теплоизоляционных плит. Величина краевой зоны приведена в таблице 3.6. Количество дюбелей в краевой зоне приведено в таблице.3.7. Количество дюбелей в обычной зоне, см. (табл.3.8).
| Количество этажей | До 9 этажа | От 9 до 16 этажа | От 16 до 25 этажа |
| Ширина торца здания (м) | 12-18 | свыше 18 | |
| Краевая зона | 1,0 | 1,5 | 2,0 |
Таблица 3.6 – Величина краевой зоны
| Ветровой район ДБН В.1.2-2:2006 | Высота здания, м. | |||
| до 5 этажей | 5-9 этажей | 9-16 этажей | 16-25 этажей | |
| 1,2,3, | ||||
| 4,5 |
Таблица 3.7 – Количество дюбелей на один м2 в краевой зоне.
Таблица 3.8 – Количество дюбелей на м2 в обычной зоне
| Этажность здания | Пенополистирольные плиты | Минераловатные плиты |
| до 5 этажей | ||
| от 5 до 16 этажа | ||
| от 16 до 25 этажа |
3.38 Схема установки дюбелей приведена на рис.3.12
Для бетона глубина дюбеля не менее 50 мм.
Для кирпича глубина дюбеля не менее 100 мм.

8 штук (краевая зона).
6 штук (на остальной поверхности).
Плиты размером:
1000х500 мм;
1200х600 мм.
Краевая зона. Количество дюбелей на один м2 в краевой зоне – 18 шт.
Рисунок 3.12 – Схема расположения и количество устанавливаемых
дюбелей
3.39 Устройство защитного армированного слоя осуществляется после отвердения клеевого состава, фиксирующего положение плит, и закрепления их дюбелями, но не менее чем через 3-е суток.
3.40 Арматурой в армированном слое служит сетка из стекловолокна устойчивая к щелочной среде «сетка из стекловолокна ANSERGLOB «щелочестойкая» 165 г/м2». Качество армированного слоя зависит от качества и правильного расположения двух его составляющих – гидрозащитной растворной смеси и армирующей сетки, их взаимодействия, а также их совместной работы с соседними слоями системы теплоизоляции.
3.41 При устройстве армированного слоя для достижения необходимых функциональных характеристик требуется принимать во внимание климатические условия, а также соблюдать следующие правила:
- при приготовлении, нанесении и в процессе набора прочности защитной армирующей смеси, температура воздуха не должна быть ниже плюс 5°C;
- нанесенный армированный слой необходимо, хотя бы первые дни, защищать от прямых солнечных лучей, сильного ветра, осадков, а температура воздуха при этом не должна превышать плюс 30°С.
Изменение климатических условий приводит к изменению времени технологических перерывов.
Перед устройством армированного слоя необходимо защитить от загрязнения, прилегающие строительные конструкции (оконные и дверные блоки и стекла).
3.42 Армирующая смесь не должна попадать в открытые швы на поверхности теплоизоляционного слоя. Поэтому перед ее нанесением необходимо проверить поверхность слоя теплоизоляции на наличие таких швов и поврежденных мест и, в случае необходимости, обеспечить их уплотнение при помощи теплоизоляционных материалов. Она должна обеспечивать покрытие сетки, как со стороны теплоизоляционного, так и со стороны внешнего отделочного слоя. Сетка не должна быть видна на поверхности армированного слоя.
3.43 Одновременно с соблюдением толщины покрытия армирующей сетки, необходимо выдержать общую толщину армированного слоя и его равномерность, согласно требованиям ДБН В.2.6-22-2001 (рисунок 3.13).
3.44 Перед устройством основного армированного слоя, необходимо произвести усиление армирования, особенно в местах повышенного напряжения и на участках с возможными механическими повреждениями. Усиливающие элементы армирования устанавливаются в слой из армирующей смеси (с учетом минимальной толщины армирующего слоя, а также последующего основного армирования по ДБН В 2.6-22-2001), а не на теплоизоляцию.
3.51
3.45 Приготовление растворной смеси, а также порядок работ должен отвечать инструкции, указанной на упаковке. Устройство армированного слоя выполняется специальной клеевой смесью ANSERGLOB ВСХ 40. Для приготовления смеси используют чистую питьевую воду.
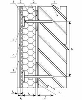
| l3, l4, h – величины принимаемые проектом; l1 – не более 5,0мм; l2 –не менее 2,0мм. 1 основание; 2 клеевая смесь для теплоизоляционных плит; 3 теплоизоляционная плита; 4 дюбель; 5 гидрозащитный слой, армированный щелочестойкой стеклотканевой сеткой; 6 грунтующая эмульсия «ANSERGLOB EG 62»; 7 защитно-декоративный слой; 8 грунтующая эмульсия (тип принимается в зависимости от основания). |
Рисунок 3.13 – Фрагмент конструкции скрепленной наружной теплоизоляции
3.46 Приготовление растворной смеси производится следующим образом: в чистую сухую емкость влить мерное количество воды (необходимый объем воды, и время пригодности раствора к использованию приведены в таблице 3.22.1), нормальной температуры (+20°С). Затем нужно добавить соответствующее по весу количество сухой смеси и перемешивать в течение 1-2 минут низкооборотной дрелью со специальной миксерной насадкой, до получения однородной массы без комков, рис.3.46.1. Выдержав, 5 минут, снова произвести повторное перемешивание. Клеевую смесь ANSERGLOB ВСХ 40, следует использовать в течение 2-х часов. В случае загустевания растворную смесь следует перемешать, используя низкооборотную дрель без добавления воды.

Рисунок 3.14 – Приготовление клеевой смеси ANSERGLOB ВСХ 40
3.47 Внешние углы здания, углы оконных и дверных проемов рекомендуется усиливать специальными пластиковыми уголками с сеткой. Уголки устанавливаются встык по отношению друг к другу с нахлестом сетки в местах стыка минимум 10см. Усиление с применением пластиковых уголков выполняется следующим образом: на обе плоскости угла на ширину выпусков сетки монтируемого уголка наносится армирующая смесь «ANSERGLOB BCX 40», и разравнивается зубчатым шпателем (размер зуба 8-10 мм). Затем в армирующий раствор вдавливается уголок, так чтобы через его технологические отверстия проступил раствор. Полки уголка необходимо плотно прижать к плоскости угла здания. Армирующая смесь, проступившая через ячейки сетки, снимается и разравнивается гладкой стороной шпателя или терки. Сетка должна находиться в середине армирующего слоя. После установки уголка, армирующий раствор наносится на плоскости откосов дверных и оконных проемов и армируется стеклосеткой. На горизонтальных углах необходимо устанавливать уголки с капельником. При использовании угловых профилей с сеткой, стеклосетку с фасадной поверхности не заводят на откос, и торец ее должен находиться на уровне проема.
3.48 В углах оконных и дверных проемов производится усиление с помощью дополнительных полос из армирующей сетки размером не менее 300×200мм, рекомендуются полосы из стеклосетки размером 500×300мм. Армирующие элементы укладывают диагонально по отношению к оконному или дверному блоку (под углом 45°), рис.3.15.

Рисунок 3.15 – Армирование углов
оконных проемов
3.49 К устройству основного армирования следует приступать только после схватывания клеевого раствора (через 24 часа) на усиливаемых участках (углах фасада, оконных и дверных проемах и т.п.).В верхней части здания стеклосетку заводят на торец теплоизоляционных плит, расположенных у парапета или у карнизной плиты.Над стыком различных видов теплоизоляционных материалов всегда производится местное усиление армирования, но обязательно с перекрытием этого стыка на расстояние не менее 100 мм по обе стороны стыка.
3.50 Для устройства основного армирования, используются полотнища сетки из стекловолокна, обычно длиной от 3 до 5м. Они накладываются на только что нанесенный шпателем армирующий слой (рис.3.16) (размер зуба шпателя 8-10 мм), выравниваются и утапливаются в него.

Рисунок 3.16 – Нанесение армирующего слоя
3.51 Разглаживание стеклосетки производится с верху полотнища, по диагонали, вниз к краям, с нахлестом на соседние полотнища не менее чем на 100мм (рис.3.17). Армирующая сетка должна размещаться внутри армированного слоя, чуть ближе к наружной поверхности.


Рисунок 3.17 – Армирование основания
3.52 При утеплении цокольной части теплоизоляционный материал приклеивается сверху вниз, начиная от цокольного профиля. Утепление цоколя производится с наружной стороны и может быть выполнено тремя способами:
- утепление цокольной части, включая стены подвалов, находящихся ниже уровня грунта.
- утепление только надземной части здания, но всегда на уровне, как минимум 20см ниже от нижней плоскости перекрытия над подвалом (в случае домов с подвалами);
- утепление надземной части здания с изоляцией до уровня грунта.
3.53 В цоколе должна быть устроена горизонтальная гидроизоляция, препятствующая капиллярному подъему влаги, вызывающему увлажнение стены и цокольного перекрытия. Плиты утеплителя должны быть защищены от разрушительного воздействия окружающей среды, защитным штукатурным слоем. Наружный штукатурный слой не должен контактировать с влажным грунтом. Для этого удаляют грунт, прилегающий к цоколю, штукатурку находящуюся ниже уровня земли, защищают от влаги битумной мастикой, а образовавшуюся выемку засыпают гравием.
3.54 При утеплении стен подвалов, плиты утеплителя крепятся к наружной поверхности стен поверх защитного слоя (рекомендуется использовать битумные гидроизоляционные материалы). Монтаж утеплителя начинают не ранее чем через 5-7 дней после окончания гидроизоляционных работ (время полного испарения растворителей, содержащихся в гидроизоляционном составе). Для приклеивания теплоизоляционных плит необходимо применять клеевые составы на битумной основе без растворителей.
3.55 При водонасыщенных грунтах рекомендуется устроить дренаж для отвода воды из подвала. Дренажные трубы укладывают ниже уровня пола подвала на подушку из гравия с уклоном 3-5% и засыпают слоем гравия. Со стороны грунта утеплитель можно защитить дренажными плитами, после чего выемку вновь заполняют грунтом, предварительно удалив из него крупные камни. Для предотвращения заливания или засорения частичками грунта гравий защищают специальным фильтрующим геотекстильным материалом.
3.56 Для утепления цоколя и стен подвалов, необходимо применять утеплитель, имеющий близкое к нулю водопоглощение и способность сохранять теплозащитные свойства во влажной среде.
3.57 Термодеформационные швы в системе теплоизоляции необходимо устраивать над аналогичными швами в ограждающей конструкции здания. Деформационные швы между теплоизоляционными плитами заполняются уплотнительными лентами (жгутами) круглого сечения, а затем герметизирующим материалом, или же деформационный шов закрывается специальными деформационными пластинами (профилями). Сечение уплотнительных жгутов подбирается таким образом, чтобы после установки в стыки они были обжаты на 30%. На торцы плит утеплителя, которыми они обращены в сторону деформационного шва, наносится защитный клеевой слой, армированный сеткой из стекловолокна.
3.58 Кроме деформационных швов недопустимы иные сквозные трещины в основании (трещины в кладке, поврежденные или открытые межпанельные швы). Перед установкой системы теплоизоляции они должны заполняться эластичным материалом, ограничивающим нежелательное распространение влаги и тепла. Появившиеся трещины в основании, вызванные осадкой, просадкой грунтов и прочими факторами могут накрываться теплоизоляцией только после завершения процессов их стабилизации. Стабилизировавшиеся трещины должны быть тестированы. Мелкие (волосяные) трещины на поверхности основания обычно можно прикрывать системой теплоизоляции без особых мер предосторожности.
3.59 Заполнение швов герметизирующим материалом выполняется по истечении не менее 7-ми суток после устройства армирующего слоя при температуре окружающей среды от плюс 5°C до плюс 30°С. Герметизационные работы не допускается выполнять во время осадков.
3.60 К устройству защитно-декоративного слоя по поверхности системы теплоизоляции приступают по истечении не менее 3-х суток после устройства армированного защитного слоя. За 6 часов до нанесения отделочных растворных смесей гидрозащитный слой должен быть загрунтован адгезионной эмульсией «ANSERGLOB EG 62». Декоративная отделка поверхности должна предоставлять возможность оформления поверхности фасада и гарантировать защиту системы от неблагоприятных атмосферных воздействий.
3.61 В качестве растворных отделочных смесей используют тонкослойные штукатурки ТМ «ANSERGLOB» указанные в табл. 3.9.
Таблица 3.9 – Растворные отделочные смеси
| Наименование материала | Пропорция смеси, л.воды/кг. | Расход растворной смеси, кг./м2 | Время пригодности раствора к использованию, час |
| «ANSERGLOB ТМК 110» при толщине слоя 2,5мм 3,5мм | 0,18 - 0,20 | 3,2 4,0 | |
| «ANSERGLOB ТМК 112» при толщине слоя 2,5мм 3,5мм | 0,18 - 0,20 | 3,2 4,0 | |
| «ANSERGLOB ТМВ 120» при толщине слоя 2мм | 0,18- 0,20 | 4,0 |
3.62 Во время работы нельзя допускать пересыхания поверхности, а также необходимо защищать фасад от воздействия солнца, ветра и осадков.
3.63 Поверхность для нанесения штукатурки должна быть подготовлена заранее. Металлические детали на внешней поверхности системы должны быть защищены от коррозии. Места примыканий системы с выступающими, навесными элементами и с конструкциями здания должны быть герметично уплотнены. При нанесении штукатурки необходимо защищать прилегающие строительные конструкции от загрязнения.
3.64 Декоративная штукатурка на






