Резьбовым соединением называется соединение двух деталей с помощью резьбы, т.е. элементов деталей, имеющих один или несколько равномерно расположенных винтовых выступов резьбы постоянного сечения, образованных на боковой поверхности цилиндра или конуса.
Контур сечения канавок и выступов в плоскости, проходящей через ось резьбы, общий для наружной и внутренней резьбы, называется профилем резьбы.
В зависимости от профиля, т.е. от вида фигуры в сечении, резьба бывает треугольной (рис. 5.1, а), трапециедальной (рис. 5.1, б), пилообразной (рис. 5.1, в), круглой (рис. 5.1, г), прямоугольной (рис. 5.1, д).

Рис. 5.1. Профили резьбовых соединений
В зависимости от поверхности, на которой нанесена резьба, она разделяется на цилиндрическую и коническую (конусную). Кроме того, резьбы разделяют на наружные, которые часто для краткости называют болтом, и внутренние — часто называют гайкой. В дальнейшем мы тоже будем пользоваться и этими краткими терминами.
По эксплуатационному признаку, т.е. по области применения, резьбы бывают следующих видов:
1. Крепежная резьба, используемая для обеспечения разъемного соединения. К этим резьбам предъявляются требования в отношении прочности соединения при длительной эксплуатации. Она обычно имеет треугольный профиль и наиболее распространена.
2. Кинематическая резьба, используемая для преобразования вращательных движений в поступательные в так называемых винтовых механизмах. Такие резьбы используются на ходовых винтах станков, домкратах, прессах и т.д. Эти резьбы обычно имеют трапециедальный или круглый профиль. Основное требование к этим резьбам — обеспечение точного и плавного перемещения. Во многих случаях они должны обладать способностью выдерживать большие нагрузки.
3. Трубные и арматурные резьбы — цилиндрические и конические, используемые для соединения труб в нефтеперерабатывающей промышленности, сантехническом оборудовании и т.д. Основное требование к этим резьбам — обеспечение герметичности и прочности соединения.
По числу заходов (т.е. по числу винтовых выступов) резьбы бывают однозаходные и многозаходные.
В зависимости от используемых единиц измерения, в которых выражаются параметры, резьбы разделяются на метрические и дюймовые. Пожалуй, только в резьбовых соединениях еще широко используется во всем мире дюймовая система, которая в остальных разделах машиностроения постепенно заменяется даже в странах использующих эту систему (США, Англия).
Наибольшее распространение имеет резьба треугольная с углом профиля 60 °, нормирование точности которой будет рассмотрено в этой теме. Такая резьба известна во всем мире под названием "метрическая".
В США идет постепенный процесс замены дюймовой резьбы на метрическую. Было подсчитано, что для такого перехода потребуются затраты до 40 млрд. долларов, но при этом ожидается прибыль от 1 до 20 млрд. долларов в год.
5.1.2. Номинальный профиль метрической резьбы
и ее основные параметры
Основным профилем резьбы является общий для наружной и внутренней резьбы профиль, который называется номинальным и размеры его линейных и угловых элементов служат основой для определения номинальных профилей для болта и гайки.
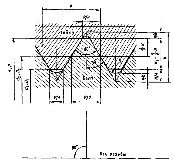
В основу профиля метрической резьбы положен треугольник (рис. 5.2), у которого срезаны вершины.
Для образования рабочей высоты профиля Н 1 из общей высоты равнобедренного треугольника Н в профиле резьбы предусмотрен срез вершины острых углов у гайки Н/ 4 и у болта Н/ 8. Исходная высота профиля Н установлена в зависимости от шага резьбы и равна 0,8660254 Р, где Р — шаг резьбы.
Реальный профиль впадин у наружной резьбы (болта) не должен выходить за линию плоского среза на расстоянии Н/ 4 от вершины исходного треугольника, а у внутренней резьбы (гайки) — на расстоянии Н/ 8.
Форма впадины у наружной резьбы (болта) не регламентируется и может быть плоскосрезанной или закругленной. При плоскосрезанной впадине у болта срез должен быть расположен на высоте от Н/ 4 до Н /8 от вершины исходного треугольника. При закругленной форме впадины радиус должен быть не менее 0,1 Р, а профиль располагается в зоне от Н/ 8 до 3 Н/ 16. Для гайки форма впадины резьбы вообще не регламентируется, но, в основном, делается закругленной и параметры ее определяются нормированием требований к резьбообрабатывающему инструменту, при изготовлении которого используются чаще всего, указанные радиусы закругления.

Рис. 5.2. Профиль метрической резьбы
и ее основные параметры
Закругленная форма впадин является предпочтительной по прочностным соображениям. При такой форме облегчается процесс изготовления резьбы накатыванием, который часто применяется для резьбовых деталей крепления. И при нарезании впадин закругленной формы достигается большая стойкость режущего инструмента по сравнению с обработкой плоскосрезанной впадины.
Для обеспечения эксплуатационных свойств резьбы при изготовлении и измерении из сложного профиля резьбы выделяется ряд элементов, которые являются одинаковыми для болта и гайки и используются при нормировании.
Этими элементами являются наружный диаметр болта d и гайки D, внутренний диаметр болта d1 и гайки D1 средний диаметр болта d2 и гайки D2, шаг резьбы Р и угол профиля резьбы α.
1. Наружный диаметр d и D (он же номинальный диаметр резьбы) — диаметр воображаемого цилиндра, описанного вокруг вершин наружной резьбы (болта) или по впадинам внутренней резьбы (гайки). Когда говорят, что резьба диаметром 20 мм, то это означает, что у нее наружный диаметр равен 20 мм (обратите внимание на расположение этих диаметров, особенно у гайки).
2. Внутренний диаметр d1 и D1 — диаметр воображаемого цилиндра, вписанного во впадины наружной резьбы (болта) или вершин внутренней цилиндрической резьбы (гайки).
Необходимо обратить внимание, что номинальные значения и расположения наружного и внутреннего диаметров совпадают для болта и для гайки, но с точки зрения геометрической фигуры термины "наружный" и "внутренний" соответствуют болту, у которого наружный диаметр действительно находится "снаружи", а внутренний — "внутри"; в то время, как у гайки, называемый наружный диаметр, находится внутри, а внутренний диаметр — снаружи. Если посмотреть на резьбу гайки, находящуюся внутри нее, можно увидеть "на просвет" внутренний диаметр, а наружный диаметр ее, практически, увидеть невозможно.
3. Средний диаметр d 2 и D 2 — диаметр воображаемого цилиндра, соосного с резьбой, каждая образующая которого пересекает профиль таким образом, что отрезок, образованный при пересечении с канавкой, равен половине номинального шага.
4. Шаг резьбы Р — расстояние по линии, параллельной оси резьбы, между средними точками ближайших одноименных боковых сторон, лежащих в одной осевой плоскости но одну сторону от оси резьбы.
В отношении шагов используется условное разделение их на крупные и мелкие. Дело в том, что на цилиндрической поверхности любого диаметра можно нарезать резьбу с разными шагами. В нормативных документах введено ограничение на значения шагов и указывается несколько шагов. Например, для диаметра 20 мм устанавливаются шаги 2,5; 2; 1,5; 1; 0,75; 0,5 мм. Самый большой шаг для номинального диаметра (в примере — это 2,5 мм) называют условно крупным шагом, а остальные — мелкими шагами.
Мелкие шаги используются для нарезания резьбы в тонкостенных деталях при ограниченной возможности в отношении длины свинчивания. Например, в фотоаппаратах для объектива используется диаметр резьбы 42 мм с шагом 1 мм — это мелкий шаг, так как стенка фотоаппарата небольшая. Крупный шаг для такой резьбы, равный 4,5 мм, потребовал бы толстой стенки камеры, увеличивая ее массу.
Для многозаходных резьб вместе с термином шаг используется еще термин ход — расстояние по линии, параллельной оси резьбы, между любой исходной средней точкой на боковой стороне резьбы и средней точкой, полученной при перемещении исходной средней точки по винтовой линии на угол 360 °. Другими словами, это шаг одной из винтовых линий, из которых состоит многозаходная резьба.
5. Угол профиля резьбы α — угол между смежными боковыми сторонами резьбы в плоскости осевого сечения. Для нормирования чаще используется угол α/2 — угол наклона между боковой стороной резьбы и перпендикуляром к оси резьбы. Это установлено для того, чтобы можно было выявить перекос резьбы из-за неточности установки инструмента. Иначе может оказаться, что профиль выдержан правильно, но относительно оси развернут и сопряжение может не произойти. Для метрической резьбы α = 60 °.
У некоторых резьб профиль делается не симметричным, в этом случае используется термин угол наклона боковой стороны резьбы β, γ — угол между боковой стороной резьбы и. перпендикуляром к оси резьбы в плоскости осевого сечения.
6. Длина свинчивания l — длина взаимного соприкосновения наружной и внутренней резьб в осевом направлении. Часто этот элемент называют высотой гайки.
Резьбовые соединения по характеру соединения бывают такими же, как и для гладких элементов деталей, т.е. посадки с зазором, натягом и переходные. Однако для условий крепления деталей наибольшее, если не сказать подавляющее, распространение имеют посадки с зазором. Поэтому последующие материалы по нормированию будут относиться к посадкам с зазором.
5.1.3. Нормируемые параметры метрической резьбы
для посадок с зазором
Взаимозаменяемость резьбы обеспечивается ограничением предельных контуров профиля резьбы, сопрягаемых элементов деталей на всей длине свинчивания. Допускаемые отклонения резьбы задаются от номинального профиля перпендикулярно оси резьбы "в тело" болта и гайки.
На рис. 5.3 показано расположение полей допусков на наружную резьбу (болт) и на внутреннюю (гайка) для наиболее распространенной посадки скольжения, у которой в предельном случае зазор может быть равен нулю.
Для метрической резьбы нормируется точность следующих элементов: точность наружного диаметра болта (Тd); внутреннего диаметра гайки (ТD1); среднего диаметра болта и гайки (Тd2), (ТD2). Таким образом, точность наружного диаметра гайки и внутреннего диаметра болта не нормируются совсем и ограничиваются размерами резьбообрабатывающего инструмента, в котором указаны нормы точности. Более строго, надо сказать, что для этих элементов нормируется только одно отклонение, соответствующее номинальному профилю, а именно, верхнее отклонение (еs) для d1 и нижнее отклонение (ЕJ) для D, и не нормируются нижнее отклонение еi для d1 и верхнее отклонение (ЕS) для D.
На рис. 5.3 везде обозначены только половины допусков нормируемых элементов, поскольку изображена не вся резьба, а только одна ее половина.

Рис. 5.3. Расположение полей допусков на наружную (а)
и внутреннюю (б) резьбы для образования посадки скольжения (с зазором)
Как видно из приведенных данных, для метрической резьбы не нормируются также требования к точности шага и угла профиля резьбы. Это объясняется тем, что нормирование точности этих элементов вязано с диаметральным элементом резьбы — средним диаметром. Допуск на средний диаметр является суммарным, т.е. он включает в себя допускаемые отклонения не только на средний диаметр (собственно средний диаметр), но и допуск на угол профиля и шаг. Очень часто обобщенный параметр — средний диаметр совместно с влиянием погрешности шага и профиля называют приведенным средним диаметром резьбы и для него нормируются точностные требования.