Механизм молекулярного перемешивания в газах приводит к выравниванию в пространстве неоднородности какой-либо физической характеристики φ.
В однородной, по концентрации молекул, системе может оказаться неравномерно (например по оси х) распределенным импульс молекул. В этом случае с течением времени будет наблюдаться процесс перераспределения импульса, стремящийся выравнять его значение в среднем по всему объему.
Свойство системы выравнивать возникающие неоднородности распределения импульса молекул называется вязкостью.
Возникающий при этом поток импульса Ір в соответствии с общим уравнением переносом определяется выражением

Здесь n0 – средняя числовая концентрация молекул,
– средняя скорость молекул,
- длина свободного пробега молекул, mu – импульс молекулы.
Коэффициент, стоящий в этом выражении перед градиентом величины скорости, и принято называть динамической вязкостью

здесь ρ = n0m – плотность газа.
Кроме динамической вязкости для описания свойств газа (жидкостей) используют также кинематическую вязкость ν, определяемую как отношение динамической вязкости к плотности среды 
Заметим, что для газов кинематическая вязкость совпадает с выражением для коэффициента диффузии 
Проще всего свойство вязкости проявляется при ламинарном течении двух слоев газа, перемещающихся в пространстве с различными скоростями V1 и V2. Пусть для определенности V1>V2, препад скоростей происходит на толщине Δх, а площадь поверхности раздела слоев S.
В результате обмена молекулами между слоями импульс быстродвижущегося слоя уменьшается, а более медленного увеличивается, то есть происходит торможение быстрого слоя и ускорение медленного.
В соответствии со вторым законом Ньютона скорость изменения импульса определяется силой, действующей на систему
. В данном случае – это сила трения, действующая между слоями жидкости. Ее величина определяется вязкостью газа. Действительно, по определению поток импульса можно записать:

и так как
, то
.
С другой стороны, для достаточно близких слоев (Δх → dx) поток импульса с точки зрения молекулярно-кинетической теории строения вещества выражается через коеффициент переноса
,
где под dV надо понимать перепад в скоростях движения газа, происходящего на толщине dx. С учетом последнего соотношения получаем выражение
,
представляющее формулировку закона Ньютона для вязких газов (жидкостей).
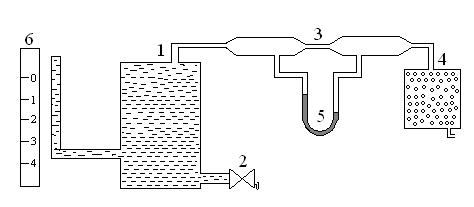
Для экспериментального определения вязкости газа используется методика продувки газа через капилляр длиной l и внутренним сечением S. Схема установки изображена на рис. 1.
|
Когда из аспиратора 1 через кран 2 выливается вода, давление в нем понижается и через капилляр 3 засасывается воздух, приходящий через осушительный фильтр 4 с CaCl2. Вследствие внутреннего трения (вязкости) давление на концах капилляра разное. Их разность Δр измеряется монометром 5. Объем, прошедшего через капилляр воздуха определяется по мерной шкале 6 аспиратора, проградуированной в литрах. Для изучения зависимости вязкости от температуры капилляр 3 помещают в термостат.
В соответствии с этой методикой для определения вязкости газа η используется формула Пуазейля:
(1)
где R – внутренний радиус капилляра, Δр – перепад давлений на концах капилляра, l – его длина, Q – объем прошедшего газа, t – время прохождения объема Q.
Все величины, входящие в формулу Пуазейля, экспериментально измеряемые. Формула справедлива для ламинарного течения несжимаемой жидкости (газа).
Рекомендуемый порядок проведения опыта
1. Параметры капилляра, его длина l и радиус R, измерены заранее. Их значения приводятся в паспорте установки вместе с ошибкой измерений.
2. Объем воздуха Qа,, вошедшего в аспиратор, измеряют по водомерной шкале. Используя его значение, по формуле
рассчитывают объем воздуха Q, прошедшего через капилляр. Температуры капилляра Т и окружающего воздуха Т0 определяют по показаниям термометров и термостата установленного в лаборатории.
3. Время прохождения через капилляр объема Q отсчитывают по секундомеру с точностью до 0,2 с.
4. Перепад давлений Δр рассчитывается по разности столбов жидкости Δh в манометре по формуле Δр = ρжgΔh, где ρж – плотность жидкости манометра при температуре проведения опыта Т.
5. Налейте воду в аспиратор до уровня несколько превышающего отметку 0 мерной шкалы. Герметично закройте пробкой аспиратор.
6. Откройте кран аспиратора и, когда уровень воды подойдет к отметке 0, включите секундомер. В момент подхода уровня жидкости к отметке 0,5 л выключите секундомер и запишите его показания t
7. Для измерения перепада давлений Δр зафиксируйте показания манометра Δh1 и Δh2 в моменты прохождения уровнем жидкости в аспираторе нулевой отметки и отметки 0,5 л. Тогда

8. Повторите измерения t и Δр пять раз, каждый раз доливая воду выше нулевой отметки. По средним значениям t и Δр рассчитайте по формуле (1) коэффициент вязкости η и определите погрешность ее определения.
9. Изучите по техническому описанию правила работы с термостатом. Убедитесь в его готовности к работе.
10. Проведите измерения t и Δр и рассчитайте η при температурах 35, 45, 55 С
11. Постройте график зависимости η от T.
12. Вычислите скорость газа при разных температурах

и соответствующие им числа Рейнольдса 
сравните с критическим значением Re = 1100. Сделайте вывод о структуре течения газа через капилляр.
13. С помощью оценки
атм проверьте справедливость допущения о несжимаемости жидкости.
14. Рассчитайте коэффициенты диффузии и кинематической вязкости газа
D = ν = η/ρ
15. Определите длину свободного пробега молекул

где
в соответствии с распределением Максвелла равно 
16. Расчитайте эффективный диаметр d молекул газа по формуле
