Вибрациями называют механические колебания упругих тел, характеризующиеся периодичностью изменения параметров. Повышенная вибрация, так же как и шум, отрицательно сказывается на здоровье работающих, что обусловливает возникновение профессиональных заболеваний и понижение производительности труда.
Вибрации, воздействующие на человека, делят на общие и локальные: общая вибрация вызывает колебания всего организма человека. Влиянию общей вибрации подвергаются люди, обслуживающие средства транспорта, станки и агрегаты. Передача колебаний человеку в этом случае осуществляется через жесткие связи и соединения источника вибрации с фундаментом и перекрытиями зданий, полом, сиденьем машин. Локальная вибрация вызывает колебания отдельных частей тела человека. Воздействию локальной вибрации в основном подвергаются люди, работающие с пневматическим и механическим ручным инструментом.
Термины и определения. Предельно допустимый уровень (ПДУ) вибрации - это уровень фактора, который при ежедневной (кроме выходных дней) работе, но не более 40 часов в неделю в течение всего рабочего стажа, не должен вызывать заболеваний или отклонений в состоянии здоровья, обнаруживаемых современными методами исследований в процессе работы или в отдаленные сроки жизни настоящего и последующих поколений. Соблюдение ПДУ вибрации не исключает нарушение здоровья у сверхчувствительных лиц. Классификация вибраций, воздействующих на человека.
|
|
|
По способу передачи на человека различают:
- общую вибрацию, передающуюся через опорные поверхности на тело сидящего или стоящего человека;
- локальную вибрацию, передающуюся через руки человека.
Примечание. Вибрация, передающаяся на ноги сидящего человека и на предплечья, контактирующие с вибрирующими поверхностями рабочих столов, относится к локальной вибрации.
По источнику возникновения вибраций различают:
- локальную вибрацию, передающуюся человеку от ручного механизированного инструмента (с двигателями), органов ручного управления машинами и оборудованием;
- локальную вибрацию, передающуюся человеку от ручного немеханизированного инструмента (без двигателей), например, рихтовочных молотков разных моделей и обрабатываемых деталей;
- общую вибрацию 1 категории - транспортную вибрацию, воздействующую на человека на рабочих местах самоходных и прицепных машин, транспортных средств при движении по местности, агрофонам и дорогам (в том числе при их строительстве). К источникам транспортной вибрации относят: тракторы сельскохозяйственные и промышленные, самоходные сельскохозяйственные машины (в том числе комбайны); автомобили грузовые (в том числе тягачи, скреперы, грейдеры, катки и т.д.); снегоочистители, самоходный горно-шахтный рельсовый транспорт;
|
|
|
- общую вибрацию 2 категории - транспортно-технологическую вибрацию, воздействующую на человека на рабочих местах машин, перемещающихся по специально подготовленным поверхностям производственных помещений, промышленных площадок, горных выработок. К источникам транспортно-технологической вибрации относят: экскаваторы (в том числе роторные), краны промышленные и строительные, машины для загрузки (завалочные) мартеновских печей в металлургическом производстве; горные комбайны, шахтные погрузочные машины, самоходные бурильные каретки; путевые машины, бетоноукладчики, напольный производственный транспорт;
- общую вибрацию 3 категории - технологическую вибрацию, воздействующую на человека на рабочих местах стационарных машин или передающуюся на рабочие места, не имеющие источников вибрации. К источникам технологической вибрации относят: станки металло- и деревообрабатывающие, кузнечно-прессовое оборудование, литейные машины, электрические машины, стационарные электрические установки, насосные агрегаты и вентиляторы, оборудование для бурения скважин, буровые станки, машины для животноводства, очистки и сортировки зерна (в том числе сушилки), оборудование промышленности стройматериалов (кроме бетоноукладчиков), установки химической и нефтехимической промышленности и др.
Общую вибрацию категории 3 по месту действия подразделяют на следующие типы:
а) на постоянных рабочих местах производственных помещений предприятий;
б) на рабочих местах на складах, в столовых, бытовых, дежурных и других производственных помещений, где нет машин, генерирующих вибрацию;
в) на рабочих местах в помещениях заводоуправления, конструкторских бюро, лабораторий, учебных пунктов, вычислительных центров, здравпунктов, конторских помещениях, рабочих комнатах и других помещениях для работников умственного труда;
- общую вибрацию в жилых помещениях и общественных зданиях от внешних источников: городского рельсового транспорта (мелкого залегания и открытые линии метрополитена, трамвай, железнодорожный транспорт) и автотранспорта; промышленных предприятий и передвижных промышленных установок (при эксплуатации гидравлических и механических прессов, строгальных, вырубных и других металлообрабатывающих механизмов, поршневых компрессоров, бетономешалок, дробилок, строительных машин и др.);
- общую вибрацию в жилых помещениях и общественных зданиях от внутренних источников: инженерно-технического оборудования зданий и бытовых приборов (лифты, вентиляционные системы, насосные, пылесосы, холодильники, стиральные машины и т.п.), а также встроенных предприятий торговли (холодильное оборудование), предприятий коммунально-бытового обслуживания, котельных и т.д.
По направлению действия вибрацию подразделяют в соответствии с направлением осей ортогональной системы координат:
- локальную вибрацию подразделяют на действующую вдоль осей ортогональной системы координат
где ось
параллельна оси места охвата источника вибрации (рукоятки, ложемента, рулевого колеса, рычага управления, удерживаемого в руках обрабатываемого изделия и т.п.), ось
перпендикулярна ладони, а ось
лежит в плоскости, образованной осью
и направлением подачи или приложения силы (или осью предплечья, когда сила не прикладывается);
- общую вибрацию подразделяют на действующую вдоль осей ортогональной системы координат
где
(от спины к груди) и
(от правого плеча к левому) - горизонтальные оси, направленные параллельно опорным поверхностям;
- вертикальная ось, перпендикулярная опорным поверхностям тела в местах его контакта с сиденьем, полом и т.п.
|
|
|
По характеру спектра вибрации выделяют:
- узкополосные вибрации, у которых контролируемые параметры в одной 1/3 октавной полосе частот более чем на 15 дБ превышают значения в соседних 1/3 октавных полосах;
- широкополосные вибрации - с непрерывным спектром шириной более одной октавы.
По частотному составу вибрации выделяют:
- низкочастотные вибрации (с преобладанием максимальных уровней в октавных полосах частот 1-4 Гц для общих вибраций, 8-16 Гц - для локальных вибраций);
- среднечастотные вибрации (8-16 Гц - для общих вибраций, 31,5-63 Гц - для локальных вибраций);
- высокочастотные вибрации (31,5-63 Гц - для общих вибраций, 125-1000 Гц - для локальных вибраций).
По временным характеристикам вибрации выделяют:
- постоянные вибрации, для которых величина нормируемых параметров изменяется не более чем в 2 раза (на 6 дБ) за время наблюдения;
- непостоянные вибрации, для которых величина нормируемых параметров изменяется не менее чем в 2 раза (на 6 дБ) за время наблюдения не менее 10 мин при измерении с постоянной времени 1 с, в том числе:
а) колеблющиеся во времени вибрации, для которых величина нормируемых параметров непрерывно изменяется во времени;
б) прерывистые вибрации, когда контакт человека с вибрацией прерывается, причем длительность интервалов, в течение которых имеет место контакт, составляет более 1 с;
в) импульсные вибрации, состоящие из одного или нескольких вибрационных воздействий (например, ударов), каждый длительностью менее 1 с.
Колебания очень низкой частоты (ниже 1 Гц) ощущаются как качка и могут вызывать неприятные ощущения (морскую болезнь), но не вибрационную болезнь. Низкочастотные колебания (от 20 Гц) вызывают в системе «Человек-машина» чрезвычайно неприятные резонансы, а при длительном воздействии — и вредные. Систематическое воздействие таких вибраций может быть причиной вибрационной болезни. Собственные частоты тела человека (положение стоя и сидя) находятся в области 4…6, 10…12 и 20…25 Гц (бедро и голова).
|
|
|
При действии на организм человека общей вибрации в первую очередь страдает центральная нервная система. Отмечаются жалобы на головную боль, нарушение сна, повышенную утомляемость, раздражительность. Наблюдаются многообразные отклонения в работе со стороны внутренних органов, в частности функциональные нарушения сердечно-сосудистой системы; особенно опасны общие вибрации с частотами, совпадающими с собственными частотами внутренних органов, головы и конечностей человека. Такие частоты называют резонансными.
|
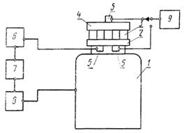
| Рис. 7.1. Блок-схема установки для определения динамического модуля упругости: 1 — электродинамический вибратор; 2 — столик вибратора; 3 — испытываемый образец; 4 — груз; 5 — акселерометры; 6 —измерительный усилитель; 7 — измерительный генератор; 8 — усилитель мощности; 9 — виброизмеритель |
При длительном воздействии локальных вибраций возникает вибрационная болезнь, характеризующаяся сужением кровеносных сосудов рук, ощущением боли, онемения, а также усталости.
Порядок проведения испытаний: Параметры вибраций, при которых следует производить испытания, должны находиться в пределах величин, указанных в табл. 7.1.
Таблица 7.1
| Амплитуда | Пределы изменения амплитуд, не более | Погрешность измерения амплитуд, % не более |
| Ускорение, м/с2 | ||
| Скорость, м/с | 3·10-2 | |
| Смещение, м | 3·10-5 |
При каждом испытании должен быть вычислен коэффициент потерь по формуле:
, (1)
где a1 — амплитуда ускорения, м/с2 (или скорости, м/с, или смещения, м) столика вибратора при частоте колебания 5 Гц;
а2 — амплитуда ускорения, м/с2, груза (или скорости м/с, или смещения, м) при частоте резонанса f.
Вычисления следует производить с погрешностью до 0,001.
Для каждой партии материалов следует находить среднее арифметическое значение величин
.






