Безопасная работа пожарных на высотах при спасании людей обеспечивается двумя группами факторов: заложенными в конструкциях АЛ средствами, обеспечивающими безопасность их эксплуатации, а также регламентированными условиями их применения и обслуживания.
Обеспечение безопасности труда в конструкциях АЛ. НПБ 188-2000 установлены жесткие требования к статической и динамической прочности АЛ для обеспечения их безопасной эксплуатации, в том числе:
при установке на поверхности до 6о;
при работе с лафетным стволом с расходом 20 л/с и напором 0,6 МПа, или с тремя генераторами пены ГПС-600, или с одним ГПС-2000, установленными на вершине неприслоненной лестницы или в люльке;
при скорости ветра на вершине лестницы (люльки) не более 10 м/с.
Динамический коэффициент грузовой устойчивости определяется по формуле
, (11.10)
где М у – суммарный момент от собственной массы АЛ (АПК), удерживающий их от опрокидывания; М 0 – суммарный момент от собственной массы части стрелы АЛ (АПК), полезной нагрузки и дополнительных нагрузок. Для АЛ (АПК) величина Кg ≥ 1,4.
Статический коэффициент грузовой устойчивости определяется таким же образом, но без учета дополнительных нагрузок, указанных выше. Его величина должна быть К с = 1,15. Коэффициент поперечной статической устойчивости должен находится в пределах, установленных для базовых шасси.
При достигнутом уровне совершенства и надежности конструкции АЛ их безопасность в работе осуществляется в установленной определенной зоне обслуживания (поле движения). В этой зоне автоматически выключаются все элементы лестницы при достижении границ ее безопасной работы. Кроме того, предусмотрено автоматическое боковое выравнивание выдвигаемой лестницы, а также ограничение нагрузки на лестницу, люльку и ее поддержание в горизонтальном состоянии.
Зона обслуживания. Для каждой автолестницы определено поле движения (или зона обслуживания) – зона, находясь в которой вершина лестницы может быть нагружена полностью (рис. 11.20).
Устойчивость АЛ при работе зависит от опрокидывающего момента, действующего на лестницу. Его величина не может превышать расчетного значения. Поэтому вылет лестницы не может быть больше установленного и ограничивается при работе автоматикой.
Вылет – это расстояние от оси поворотного основания до проекции вершины лестницы на горизонтальную плоскость.
Для современных АЛ в зоне обслуживания определены две зоны с различными значениями вылетов и допустимого нагружения вершины лестницы. Например, для АЛ-30(4310) 1 и 2 зоны обслуживания характеризуются вылетами 18 и 24 м при максимальных нагрузках на вершину лестницы, равных массе 350 и 100 кг, соответственно.
В зоне обслуживания граничные условия работы обеспечиваются специальным прибором блокировки.
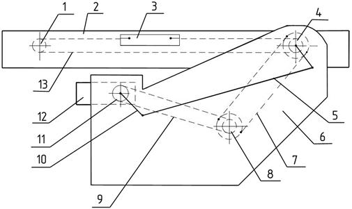
Привод прибора блокировки обеспечивает передачу движения от комплекта колен к прибору блокировки (рис. 11.21).
![]() |

Рис. 11.21. Схема привода прибора блокировки:
1, 4, 8, 11 – звездочки; 2 – подъемная рама; 3 – кронштейн; 5 – тяга; 6 – поворотная
рама; 7, 9, 13 – цепи; 10 – рычаг; 12 – прибор блокировки
Угол подъема подъемной рамы 2 передается на прибор блокировки 12 рычагом 10 с тягой 5. Рычаг 10 и штырь на подъемной раме 2 идентичны, следовательно, на приборе блокировки повторяется угол подъема или опускания колен. При достижении предельного значения угла подъема произойдет автоматическое выключение механизма подъема.
Блокировка выдвигания и сдвигания колен лестницы осуществляется с помощью цепной передачи. Она включает набор звездочек и цепей, расположенных так, как показано на рис. 11.21. Цепи опоясывают звездочки. На цепи закреплен кронштейн 3, прикрепленный к штоку гидроцилиндра выдвигания (гироцилиндр выдвигания установлен в подъемной раме). При перемещении кронштейна 3 движение цепями 13, 7 и 9 будет передаваться на звездочку 11, а затем на прибор блокировки. При достижении предель-
ной величины выдвигания прибор блокировки осуществит отключение
механизма выдвигания лестницы.
Прибор блокировки обеспечивает автоматическое отключение:
механизма подъема лестницы при достижении максимального угла 73о;
механизма выключения и опускания при достижении вершиной лестницы вылета 24 м (то же при вылете 18 м);
переключение системы бокового выравнивания на автоматическую работу при угле наклона более 10о.
При выключении механизмов автоматически включается световая и звуковая сигнализация.
Механизм бокового выравнивания АЛ предназначен для улучшения условий подъема по лестнице. Для исключения дополнительных нагрузок при установке АЛ на наклонной площадке служат механизмы бокового выравнивания, обеспечивающие горизонтальность ступеней в пределах 6о.
Этот тип механизма бокового выравнивания использовался на АЛ типа АЛ-30(131)ПМ-506 (рис. 11.22). Последнее колено 1 автолестницы соединено с подъемной рамой 2 осью (шкворнем) 5. К нижней части колена 1 присоединен гидроцилиндр 3, а его штоки соединены с боковинами подъемной рамы 2.
Механизм бокового выравнивания включается при угле подъема выше 30о, он управляется ртутными переключателями, следящими за горизонтальностью ступеней колен.
Гидроцилиндр снабжен захватами, аналогичными захватам цилиндров подъема. При поперечном наклоне влево комплект колен разворачивается вправо, и наоборот. Управление гидроцилиндром бокового выравнивания производится автоматически при помощи электромагнитного крана с гидрозамком. На современных АЛ и АПК выравнивание осуществляется опорами по уровням.
Обеспечение безопасной работы АЛ на пожарах. Безопасная работа на АЛ обусловливается ее устойчивостью, которая должна обеспечиваться при подготовке к ее функционированию, работе на ней и спасании людей.
Устойчивость, заложенная в конструкции АЛ, обусловлена исключением ее бокового наклона, т.е. установки ее на строго горизонтальную поверхность. На практике, в ряде случаев, это трудно осуществимо. Поэтому наклон площадки, на которой устанавливается АЛ, не должен превышать 6о. При наклонах меньше 6о механизм бокового наклона обеспечит устойчивость АЛ.
На устойчивость АЛ большое влияние может оказывать ветер. При его скорости более 10 м/с устойчивость обеспечивать небезопасно. Для ее улучшения должны использоваться растяжные веревки. В транспортном положении АЛ они находятся на катушках, установленных по бокам четвертого колена.
Перед подъемом лестницы растяжные веревки закрепляются за ушки, приваренные ко второму колену и удерживаются пожарными. Они становятся по обе стороны лестницы на расстоянии от нее не менее 10 – 15 м и, натягивая веревки, способствуют обеспечению устойчивости АЛ.
Устойчивость АЛ требует четкой организации подъема людей. Перед подъемом людей лестница должна быть установлена по всем правилам, а двигатель – заглушен.
На неприслоненной лестнице разрешается перемещение одновременно 8 человек, при условии нахождения на каждом колене по 2 человека. Допускается перемещение одновременно 3 человек на одном из первых трех колен.
Эвакуация людей может проводиться с использованием люльки, лифта и эластичных спасательных рукавов.
В люльке, в зависимости от мощности АЛ (высота подъема лестницы), могут находиться от 2 до 4 человек, в лифтах – 2 человека.
Спасательные рукава закрепляются в люльках АЛ. Люлька с рукавами подводится в зону эвакуации (к балкону, окну). При нахождении в люльке одного человека в рукаве может быть только один человек. Если в люльке людей нет, то в рукаве одновременно может быть не более 2 человек.
Продолжительность спасания людей зависит от технических возможностей средств спасания, организации работ, высоты, с которой проводится эвакуация и от численности спасаемых (табл. 11.7).
Таблица 11.7
| Средство спасания | Условия эвакуации | Высота, м | Кол-во эвакуированных, человек | Продолжительность, с | С, с (м×человек) |
| Эластичный рукав Эластичный рукав Автолестница Коленчатый подъемник | Из окна Из колен. подъемн. Из балкона Из окна | 0,197 0,213 1,36 0,35 |
Приспособленность технических средств для эвакуации людей целесообразно оценивать параметром эффективности С, с/(м×чел.):
(11.11)
Чем меньше значение С, тем эффективнее средство спасания, тогда можно ориентировочно оценивать продолжительность эвакуации Т э, мин, людей различными средствами.
Т э = Сi h n k/ 60, (11.12)
где Сi – параметр эффективности применяемого средства; k – коэффициент, учитывающий задержки на вход в спасательное средство (около 1,2).
Таким образом, параметр С позволяет сравнивать возможности различных средств по спасанию людей и ориентировочно оценивать продолжительность эвакуации в заданных условиях.







