Пожарные автоподъемники (АПК), как и АЛ, имеют неповоротную и поворотную части. Неповоротные части и механизмы поворота АЛ и АПК идентичны. Основное их различие заключается в устройстве механизмов выдвижения люльки.
АПК могут быть (рис. 11.25) с шарнирными соединениями колен, телескопическими и комбинированными. Все они имеют одинаковое устройство: шасси 1, опоры 2, механизм блокировки рессор 3, поворотная рама 4, механизм подъема колен 5, комплект колен 6 и люлька 7.
В дальнейшем будет рассматриваться вариант б.

Рис. 11.25. Автоподъемники коленчатые (АПК):
а – с шарнирным соединением колен; б – с телескопическим соединением колен;
в – с шарнирно-телескопическим соединением колен
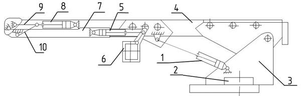
Особенности конструкций АПК. Управление стрелами и люлькой осуществляется гидравлическими цилиндрами. Их размещение показано на рис. 11.26. Цилиндр 1 (их на АПК по два) с размерами 160´110´1200 мм (диаметр поршня, штока, ход поршня) обеспечивает подъем комплекта стрел: телескопической 4 и шарнирной 7. Гидроцилиндр 8 (160´110´1440) подъема шарнирной стрелы 7 обеспечивает рычагами 9 и 10 ее подъем на 180о. На каждой стреле 7 установлен гидроцилиндр 5 выравнивания люльки 6. Его осуществляет специальный блок управления горизонтированием (БУГ).
|
|
|

Рис. 11.26. Принципиальная кинематическая схема подъема и выдвигания люльки:
1 – гидроцилиндр подъема комплекта стрелы; 2 – механизм поворота; 3 – поворотная
рама; 4 – телескопическая стрела; 5 – гидроцилиндр выравнивания люльки; 6 – люлька;
7 – шарнирная стрела; 8 – гидроцилиндр подъема шарнирной стрелы; 9, 10 – рычаги
Люлька грузоподъемностью 300 кг вмещает 4 человека. Она поворачивается специальным гидроцилиндром поворота вправо и влево на 45о.
В люльке имеется лафетный ствол с подачей 20 л/с. Ствол может поворачиваться влево и вправо на 50о, а вверх и вниз соответственно на 65о и 40о.
Подача воды к лафетному стволу осуществляется по специальным водоводам телескопического устройства, размещенным внутри стрел, имеющих коробчатое прямоугольное сечение.
Люлька оборудована устройством, ограничивающим грузоподъемность.
В люльке имеется пульт управления.
Телескопическая стрела 4 (см. рис. 11.26) состоит из трех секций, размещенных одна в другой. Принципиальная схема ее устройства представлена на рис. 11.27.
Все секции телескопической стрелы перемещаются относительно друг друга по роликам и скользунам. Шток 11 гидроцилиндра 12 закреплен к торцу основания телескопа 6, а гидроцилиндр 12 свободно перемещается, опираясь скользуном 14 на поверхность первой секции 1. При выдвигании гидроцилиндр 12 перемещается влево и вытягивает вторую секцию, жестко связанную с гильзой. Одновременно вытягивается цепью 13 и первая секция. Вытягивание первой секции 1 происходит через ролик 5 с помощью цепи 13. Один конец цепи крепится на первой секции, а второй посредством тяги 10 закрепляется на торце телескопа 6.
|
|
|
При сдвигании секций гидроцилиндр 12 перемещается вправо, втягивает вторую секцию 4. Одновременно через ролик 9 цепью 7, соединенной с первой секцией, вся система будет втягиваться в телескоп 6. Натяжение цепи 7 производится натяжником 3.
Время маневров люльки при максимальной скорости движения и полной нагрузке представлено для некоторых АПК в табл. 11.9.

Рис. 11.27. Схема выдвигания телескопических секций:
1 – первая секция; 2, 14 – скользун; 3 – натяжник; 4 – вторая секция; 5, 9 – ролики;
6 – основание телескопа; 7 – цепь сдвигания; 8, 15, 16 – ролики; 10 – тяга; 11 – шток;
12 – гидроцилиндр; 13 – цепь выдвигания
Таблица 11.9
| Маневры | Размерность | АПК-32(4310) | АПК-50(6923) |
| Подъем на полную высоту Опускание на землю Поворот на 360о Время установки на выносные опоры Глубина опускания люльки | с с с с м | 120±10 110±10 | 220±10 210±10 120±10 |
Промышленность страны выпускает ряд АПК, технические характеристики которых представлены в табл. 11.10.
Таблица 11.10
| Показатель | Размер-ность | АПК-50 | АПК-50 | АПК-35 | АПК-32 | АПК-30 |
| Шасси | - | «МАН» | КамАЗ, «МАН», «Ивеко» | |||
| «Татра» «Скания» (8х8) | МТКЗ «РЕНО» (6х4); (8х4) | «РЕНО» (4х2) (6х6) | «Скания» 6х4 | |||
| Высота подъема люльки | м | |||||
| Грузоподъемность | кг | |||||
| Вылет стрелы: с люлькой; пеногенераторами | - | - | - | |||
| Угол поворота стрелы | град | |||||
| Угол поворота люльки | град | ±30 | ±45 | |||
| Количество пеногенераторов ГПС-2000 | шт. | - | ||||
| Масса полная, не более | кг | |||||
| Габаритные размеры | м | 12,0´2,5´ ´3,8 | 13,0´2,5´ ´3,8 | 11´2,5´ ´3,5 | 11´2,5´ ´3,8 | 14´2,5´ ´3,8 |
Примечание. На АПК устанавливают лафетные стволы с подачей 20 л/с.
Обеспечение боевой готовности и надежность АПК. Для эффективного использования АПК или АЛ предусматривается техническое обслуживание и техническое освидетельствование.
Техническое обслуживание включает все виды проводимых обслуживаний, как и для АЛ. Перечень работ регламентируется заводскими инструкциями.
Техническое освидетельствование АПК. Техническое освидетельствование проводится в целях обеспечения надежной работы всех механизмов АПК. Проверка работы всех устройств автоматики. Блокировку и сигнализацию проводят по всей границе поля движения люльки, называемого зоной обслуживания.
Зона обслуживания устанавливается заводом-производителем. Она включает область безопасной работы полностью нагруженной люльки и охватывает высоту подъема и вылет стрелы (рис. 11.28).
Техническое освидетельствование проводит владелец. Установлено два вида технического освидетельствования: частичное – не реже одного раза в год, полное – не реже одного раза в три года. Кроме того, производится не реже одного раза в шесть месяцев испытание ограничителя грузоподъемности.
Установлено полное внеочередное техническое освидетельствование в случае замены расчетных элементов и сборочных единиц, а также после капитального ремонта АПК.
Полное техническое
освидетельствование
включает: внешний осмотр, испытание без нагрузки, провер-
ку работы устройств автомати-
ки, блокировки и сигнализации, статическое и динамическое испытания.
При частичном техническом освидетельствовании проводят: внешний осмотр, проверку работы устройств автоматики, блокировки и сигнализации и динамические испытания.
При внешнем осмотре проверяют состояние АПК в целом, его механизмов, элементов конструкций, электропроводку.
Испытанию без нагрузки трехкратно подвергаются все механизмы. Для этого АПК должен быть установлен на опоры. Испытания проводят в пределах зоны обслуживания.
|
|
|
Проверка работы устройств автоматики, блокировки и сигнализации проводится по всей границе поля обслуживания. При достижении границы зоны обслуживания должна срабатывать автоматика и все движения прекращаются.
Проверка блокировки движений стрелы проводится при невыставленных опорах. В этом случае невозможно поднять, выдвинуть или повернуть стрелу.
Статические испытания (ограничитель грузоподъемности должен быть отключен) осуществляют в целях проверки грузовой устойчивости и прочности всех элементов АПК. Их проводят в двух положениях (рис. 11.29).
При испытаниях следует:
повернуть стрелу на 90о относительно продольной оси;
загрузить люльку на 110 % от номинальной грузоподъемности;
закрепить к центру люльки стальной трос диаметром 8 –
10 мм, установить стрелу в положение 1 (рис.11.29);
подвесить груз с 40%-ной нагрузкой от номинальной грузоподъемности, поднять его на 100 – 200 мм, выдержать 10 мин и снять.
Установить АПК в положение 2 и произвести описанные действия. Испытания проводят один раз. АПК считается выдержавшим испытания, если не обнаружено опускание груза и повреждений механизмов и металлоконструкций.
Динамические испытания проводят грузом на 10 % превышающим грузоподъемность люльки. Проводится не менее трех циклов при всех возможных движениях люльки.
Испытания положительны, если не наблюдалось отказов в работе и не обнаружено повреждений в системах АПК.
Проверка ограничителя грузоподъемности проводится грузом, превышающим номинальный на 10 %. Ограничитель должен четко сработать и надежно отключать систему гидропривода. После его срабатывания невозможно включить движение стрелы. Испытания проводят не менее трех раз.
Проверка времени маневров проводится при максимальных скоростях движения полностью нагруженной люльки. Проверяют выдвигание опор, подъем и опускание люльки, ее поворот. Время маневров должно соответствовать нормативным значениям.
О проведении технического освидетельствования производится запись в формуляре.
|
|
|






