Содержание работы:
1. Генератор трехфазного тока.
2. Асинхронный короткозамкнутый электродвигатель.
3. Трансформаторы однофазные и трехфазные.
4. Трансформаторные подстанции 6…10/0,38 кВ.
Генератор трехфазного тока пр е д н а з н а ч е н для преобразования первичных видов энергии в электрическую.
По источнику первичной энергии различают электростанции:
· тепловые (ТЭС);
· гидроэлектрические (ГЭС);
· атомные (АЭС).
В качестве первичных двигателей используют паровые и газовые турбины; двигатели внутреннего сгорания; гидротурбины на гидроэлектростанциях.
На атомных электростанциях используют ядерное топливо, которое вследствие цепной реакции ядерного распада выделяет теплоту, расходуемую на нагрев и превращение воды в пар, подаваемый к паровой турбине. В остальном, атомные электростанции подобны тепловым.
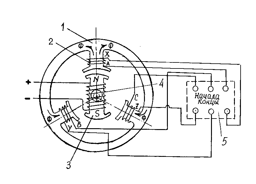
У с т р о й с т в о генератора (рис. 94): его главными составляющими частями являются статор – неподвижная часть, и ротор – подвижная часть.
На сердечнике статора 1 расположены три обмотки (фазы статора 2). Они сдвинуты по отношению одна к другой на 120о. Начало и концы фаз статорной обмотки выведены наружу к зажимам на корпусе машины 5. На роторе 3 располагается обмотка возбуждения 4, питаемая постоянным током от аккумуляторов или небольшого по мощности дополнительного генератора (на рис. не показаны).
|
|
|

А, В, С – начало фаз статорной обмотки
X, Y, Z – соответствующие концы фаз статорной обмотки
1 – сердечник статора; 2 – статорная обмотка; 3 – ротор;
4 – обмотка возбуждения; 5 – доска зажимов генератора
Рисунок 94 – Принципиальная схема генератора трехфазного тока
П р и н ц и п р а б о т ы: постоянный ток, обтекая катушку возбуждения при замыкании ее цепи, создает постоянное магнитное поле ротора. При вращении ротора его магнитное поле пересекает проводники обмоток статора и по закону электромагнитной индукции наводит (индуктирует) в них равные по значению и частоте ЭДС. Но эти ЭДС сдвинуты одна относительно другой на 120о (рис. 95).

Рисунок 95 – Совместная диаграмма ЭДС еА, еВ, еС,,
генерируемых в трех фазах обмоток генератора
Фазы статорной обмотки генератора соединяют двумя разными схемами под названием – «звезда» и «треугольник». На рис. 96 приведена схема соединения фаз генератора звездой.

UАВ, UАС, UВС – линейные напряжения
UФА, UФВ, UФС – фазные напряжения
Рисунок 96 – Схема соединения обмоток генератора звездой
Напряжение между любой из фаз и нейтральным проводом (NN) называют фазным и обозначают UФ. Напряжение между двумя фазными проводами называют линейным и обозначают символом UЛ. Таким образом, в трехфазной четырехпроводной системе различают два напряжения: UФ – фазное и UЛ – линейное. Математическая связь между ними выражается формулой:
|
|
|
UЛ =
(18.1)
В сельском хозяйстве получило распространение трехфазная четырехпроводная система 380/220В, то есть система с линейным напряжением UЛ = 380В и фазным UФ = 220В. Три фазы с напряжением между ними 380В используют для питания электрических двигателей и трехфазных нагревательных установок. Напряжение UФ = 220В используют для питания источников освещения и бытовых электроприборов.
Соединения обмоток генератора по схеме «треугольник» применяют главным образом на передвижных электростанциях небольшой мощности с ограниченной по протяженности сетью (например, для питания электростригальных агрегатов на выгульных пастбищах).
Трехфазный асинхронный короткозамкнутый электродвигатель п р е д н а з н а ч е н для преобразования электрической энергии, получаемой из трехфазной сети, в механическую и приведения в действие рабочей машины.

1– вал ротора; 2, 4 – крышки подшипника; 3 – подшипник; 5 – корпус;
6,7,12 – обмотка, сердечник и выводы статора; 8, 13 – сердечник ротора и его обмотка;
9 – вентилятор; 10 – кожух; 11 – коробка выводов; 14 – лопатка; 15 – кольцо
Рисунок 97 – Устройство трехфазного асинхронного
короткозамкнутого электродвигателя
У с т р о й с т в о (рис. 97): асинхронный двигатель с о с т о и т из двух основных частей: статора (неподвижной части) и ротора (подвижной части).
Статор состоит из корпуса 5, во внутреннюю полость которого запрессован сердечник с продольными пазами 7. Сердечник набран из отдельных друг от друга штампованных пластин (рис. 98, а) электротехнической стали толщиной 0,35…0,50 мм. В пазы сердечника статора уложены три совершенно одинаковые обмотки (фазы) 6, оси которых находятся в пространстве под углом 120о.
Ротор короткозамкнутого электродвигателя состоит из вала 1, наборного сердечника 8 из отдельных штампованных пластин электротехнической стали с внешними пазами (рис. 98, б) 8 и обмотки 13. Обмотка ротора состоит из алюминиевых стержней круглого или прямоугольного сечения, замкнутых по концам двумя кольцами 15 с лопатками 14. Так что внешне короткозамкнутая обмотка ротора напоминает беличье колесо.
Ротор помещается внутри статора с некоторым, очень небольшим зазором (1,5…3 мм). Вал ротора вращается в подшипниках, укрепленных в боковых подшипниковых щитах 2,4.
П р и н ц и п р а б о т ы: при включении обмотки статора в трехфазную сеть в нем создается вращающееся магнитное поле. Магнитные силовые линии вращающегося поля статора пересекают стержни обмотки ротора и индуктируют в них электродвижущую силу. Под действием этой наведенной ЭДС в замкнутых накоротко стержнях ротора протекают токи. Поэтому вокруг стержней обмотки ротора возникает собственное магнитное поле, которое, взаимодействуя с вращающимся магнитным полем статора, создает усилие, которое приводит ротор во вращение в том же направлении что и магнитное поле статора.
Скорость вращения n магнитного поля статора зависит от частоты колебаний переменного тока f и от числа пар плюсов одной обмотки статора p:
n = 60 ∙ f / p, мин -1 (18.2)
где f – стандартная частота переменного тока, 50 Гц.
При принятой в российских энергосистемах стандартной частоте переменного тока 50 Гц числитель выражения (18.2) всегда равен 3000 мин -1. Следовательно, скорость вращения магнитного поля статора зависит только от числа пар полюсов:
n = f(p).

а - внешний вид пластины сердечника статора;
б - внешний вид пластины сердечника ротора
Рисунок 98 – Вид пластин сердечников электродвигателя
Ротор асинхронного электродвигателя вращается несколько медленнее магнитного поля статора, так как только в этом случае магнитные силовые линии вращающегося поля статора пересекают обмотку ротора, что в конечном итоге, приводит ротор во вращение.
|
|
|
Величина S, характеризующая относительное отставание ротора от вращающегося магнитного поля статора, называется скольжением. Она обычно выражается в процентах и может быть определена из формулы:
S = 0,01 (n - n 1 )/n, (18.3)
где n – скорость вращения магнитного поля статора, мин -1;
n 1 – скорость вращения ротора, мин -1.
Для обычных асинхронных электродвигателей при номинальной загрузке скольжение составляет 3…8 %.

а б
а – звезда; б – треугольник
Рисунок 99 – Схемы включения электродвигателя в сеть
Включение трехфазного асинхронного электродвигателя в сеть: обмотки электродвигателя соединяют по двум схемам: «звезда» и «треугольник» в зависимости от напряжения в электрической сети. Начало и конец каждой фазы обмотки статора выведены к зажимам на клеммном щитке непосредственно на корпусе двигателя и имеют обозначение: С1, С2, С3 – начало обмоток, С4, С5, С6 – концы соответствующих обмоток. Правила выбора схемы включения двигателя в сеть следующие:
· если напряжение сети соответствует большему напряжению, указанному в паспорте двигателя, то обмотки следует соединять в звезду (рис. 99, а);
· если напряжение сети совпадает с меньшим напряжением, указанном в паспорте двигателя, то обмотки следует соединять по схеме треугольник (рис. 99, б);
· если напряжение сети не совпадает ни с одним из паспортных напряжений двигателя, то его включить в эту сеть нельзя.
Асинхронные двигатели – самые распространенные в производстве и в быту. Однако некоторые электрические двигатели промышленного исполнения нельзя использовать в сельскохозяйственном производстве, особенно в животноводстве, из-за большой влажности, перепада температур, существенных колебаний напряжений в сети, большой концентрации в воздушной среде аммиака, углекислого газа, сероводорода и ряда других причин. Поэтому в сельскохозяйственном производстве в основном используют в настоящее время асинхронные двигатели единой серии 4А специализированного и узкоспециализированного исполнения, которые отличаются буквами в конце обозначения. Например, 4А 160S2CX означает двигатель четвертой единой серии, закрытого обдуваемого исполнения с высотой оси вращения 160 мм, S – установочный размер по длине станины; 2 – число полюсов; СХ – сельскохозяйственного назначения.
|
|
|
Трансформаторы напряжения. Передача электроэнергии от электрической станции к потребителям на большие расстояния с целью уменьшения потерь мощности производится при высоком напряжении, которое в месте потребления понижают до напряжения токоприемников. Поэтому есть необходимость в применении специальных аппаратов, выполняющих эту задачу под названием трансформаторов.
Трансформатор – это статический электромагнитный аппарат, который п р е д н а з н а ч е н для преобразования (повышения или понижения) напряжения в сетях переменного тока.
По числу фаз переменного тока трансформаторы бывают однофазные и трехфазные.
У с т о й с т в о (рис. 100, а): в простейшем виде олнофазный трансформатор представляет собой устройство, в котором на сердечнике 2, собранном из пластин электротехнической стали, намотаны две обмотки. Одна из них – первичная обмотка 1 подключена к источнику однофазного переменного тока, к другой – вторичной 3 – присоединен потребитель-нагрузка 4.
П р и н ц и п д е й с т в и я: ток, протекающий в первичной обмотке, создает в сердечнике переменный магнитный поток Ф, индуктирующий во вторичной обмотке электродвижущую силу Е2 (U2). Для любого трансформатора отношения напряжений первичной U1 и вторичной U2 обмоток при холостом ходе приблизительно равно отношению чисел их витков:
, (18.4)
где К – коэффициент трансформации;
w1 и w2 – соответственно число витков первичной и вторичной
обмоток
Трансформатор, у которого К > 1, называется понижающим, при К < 1 – повышающим.
Один и тот же трансформатор можно использовать в качестве понижающего и повышающего. Значение коэффициента трансформации, указанного в паспорте трансформатора, определено как отношение высшего напряжения к низшему.

а б
а – однофазный трансформатор:
1 – первичная обмотка; 2 – сердечник; 3 – вторичная обмотка; 4 – нагрузка
б – трехфазный силовой трансформатор:
1 – сердечник; 2 – первичная обмотка; 3 – вторичная обмотка; 4 – пробка для спуска масла; 5 – бак; 6 – переключатель напряжения; 7 – вывод переключателя; 8 – термометр; 9 – выводы высшего напряжения; 10 – вводы низшего напряжения;
11 – пробка для заливки масла; 12 – маслоуказатель; 13 – расширитель; 14 – радиатор
Рисунок 100 – Трансформаторы напряжения
Мощности в первичной и вторичной обмотках прмерно равны между собой и тогда для однофазного трансформатора выполняется следующее равентсво:
Р = U1 ∙ I1 ≈ U2 ∙ I2. (18.5)
Таким образом, коэффициент трансформации из формул 18.4 и 18.5 будет равен:
. (18.6)
Следовательно, токи в обмотках трансформатора обратно пропорциональны напряжениям, и значит, числам витков. С учетом этой инфомации обмотку высшего напряжения всегда делают из большего числа витков провода с меньшей площадью сечения. Тогда как обмотку низшего напряжения выполняют из провода большей площадью сечения, но меньшим числом витков.
Для трансформирования трехфазного тока используют трехфазный трансформатор.
У с т р о й ст в о (рис. 100, б): сердечник трехфазного трансформатора 1 с о с т о и т из трех стержней, которые по концам замкнуты стальными ярмами (на рис. показаны, но не обозначены). На каждом стержне находится по две обмотки одной из трех фаз – первичная и вторичная. Такие трансформаторы называют двухобмоточными. Сердечник и ярма набирают также из отдельных листов специальной электротехнической стали, хорошо проводящей магнитные потоки. Листы стали изолируют друг от друга. Это уменьшает вихревые токи в сердечнике, снижает тепловые потери в нем, вследствие чего увеличивается коэффициент полезного действия трансформатора.
Магнитопроводную систему с обмотками двухобмоточного трансформатора помещают в бак 5, заполненный трансформаторным маслом, с целью улучшения охлаждения обмоток. Для этой же цели предусмотрен радиатор 14. Для контроля температуры масла служит термометр 8. Уровень резервного масла в расширительном бачке 13 контролируют с помощью маслоуказателя 12.
П р и н ц и п ы д е й с т в и я трехфазного и однофазного трансформаторов анологичны друг другу.
Трансформаторные подстанции 6…10/0,38 кВ, которые часто называют потребительскими, п р е д н а з н а ч е н ы для питания трехфазных четырехпроводных с заземленной нейтралью распределительных линий напряжением 0,38 кВ. Наибольшее распространение для сельскохозяйственных потребителей получили комплектные трансформаторные подстанции (КТП) тупикового типа.

а б
а – электрическая схема соединения распределительного устройства;
б – общий вид КТП
1 – разрядник; 2 – предохранитель; 3 – трансформатор; 4 – площадка для
обслуживания; 5 – шкаф РУ напряжением 0,38 кВ; 6 – выводы линии
напряжением 0,38 кВ; 7 – лестница
Рисунок 101 – Мачтовая трансформаторная подстанция напряжением 6…10 / 0,38 кВ
На рис. 101 представлены:
· электрическая схема соединения распределительного устройства (РУ) напряжением 10/0,38кВ (рис. 101, а);
· схема устройства КТП (рис. 101, б).
У с т р о й с т в о (рис. 101, б): все оборудование КТП размещено на П-образной опоре.
Трансформатор 3 установлен на огражденной площадке 4 на высоте 3…3.5 м. Напряжение трансформатору подается через линейный распределительный пункт и предохранители 2.
РУ напряжением 0,38 кВ представляет собой металлический шкаф 5 брызгозащищенного исполнения с установленной внутри аппаратурой. Ввод в шкаф трансформатора и выводы 6 к линиям напряжением 380/220 В выполнены в трубах. Для подъема на площадку служит складная металлическая лестница 7, которую так же, как дверцы шкафа и привод разъединителя, запирают на замок. Для защиты ТП от перенапряжения установлены вентильные разрядники 1.
Контрольные вопросы
1. Назначение и устройство трехфазного генератора.
2. Объяснить принцип работы трехфазного генератора.
3. Назовите схемы соединения статорных обмоток генератора.
4. Назвать виды напряжений в трехфазной четырехпроводной системе. Какая между ними зависимость?
5. Как устроен трехфазный асинхронный короткозамкнутый электродвигатель?
6. Объяснить принцип действия трехфазного короткозамкнутого электродвигателя.
7. Что такое скольжение и как его определяют?
8. Назвать схемы включения асинхронного короткозамкнутого электродвигателя в сеть.
9. Назвать правила выбора схемы включения асинхронного короткозамкнутого электродвигателя в сеть.
10. Назначение и устройство однофазного трансформатора.
11. Что такое коэффициент трансформации? С помощью каких формул находят его величину?
12. Назначение и устройство трехфазного трансформатора.
13. Назначение и устройство комплектной трансформаторной подстанции КТП 6…10/0,38 кВ.






