Содержание работы:
1. Источники электрического освещения.
2. Источники инфракрасного (ИК) излучения.
3. Источники ультрафиолетового (УФ) излучения.
4. Установки для УФ и ИК облучения молодняка и взрослых сельскохозяйственных животных и птиц.
Одним из основных факторов, влияющих на продуктивность скота и птицы, помимо температуры, влажности и состава воздуха, является освещенность помещений. Создавая определенные режимы дня и ночи, можно не только повышать яйценоскость кур, гусей, уток, но и ускорять созревание меха у пушных зверей, рост шерсти у овец, а также увеличивать привесы у свиней и надои у коров.
В практике нашли применение два разных по принципу действия типа электрических ламп: накаливания и разрядные лампы низкого давления (люминесцентные лампы).
Лампы накаливания – наиболее распространенный источник света.
У с т р о й с т в о: в стеклянной колбе параболической формы помещена нить накаливания из тугоплавкого металла, например вольфрама.
П р и н ц и п д е й с т в и я: электрический ток, проходя по нити накала, разогревает ее, и она начинает излучать свет. В спектре излучения этих ламп преобладают желтые лучи.
|
|
|
Промышленность выпускает разнообразные типы ламп накаливания на различные номинальные напряжения. Номинальным называют напряжение, на которое рассчитана лампа и при котором она потребляет из сети расчетную мощность.
Срок службы ламп накаливания – средняя продолжительность горения всех типов ламп накаливания общего назначения при заданном напряжении до выхода из строя; составляет не менее 1000 ч.
Люминесцентные лампы также п р е д н а з н а ч е н ы для превращения электрической энергии в световую.

1 – штыревые токоподводы; 2 – цоколь; 3 – стеклянная ножка;
4 – электрод; 5 – колба; 6 – люминофор
Рисунок 108 – Устройство люминесцентной лампы
У с т р о й с т в о (рис. 108): люминесцентная лампа п р е д с т а в - л я е т собой запаянную цилиндрическую стеклянную колбу 5 в форме трубки, внутренняя поверхность которой покрыта слоем люминофора 6 – вещества, способного светиться под действием УФ лучей. У концов колбы расположены спиральные фольфрамовые электроды 4 с выводами наружу в виде штырьков 1. Лампа заполнена аргоном и содержит несколько капель ртути.
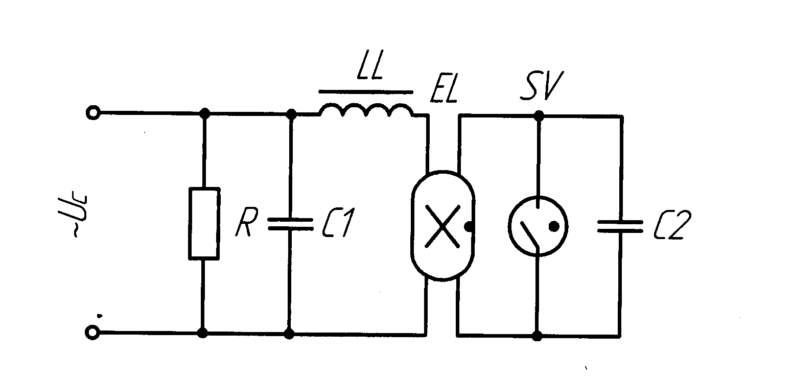
Для работы люминисцентных ламп необходима пускорегулирующая аппаратура в виде дросселя, стартера и двух конденсаторов.
Стартер (SV) – неоновая лампа тлеющего разряда. В ней один из электродов – биметаллическая пластинка, которая может замыкать и размыкать цепь электродов лампы. Поэтому стартер с л у ж и т для автоматического замыкания на некоторое время цепи электродов ламп и для мгновенного разрыва этой цепи после разогрева электродов.
|
|
|
Дроссель (LL) – индуктивное сопротивление, которое с л у ж и т для ограничения тока лампы, для создания импульса повышенного напряжения, необходимого для зажигания лампы.
Конденсатор (С2), подсоединенный параллельно стартеру, с л у- ж и т для снижения радиопомех, предотвращения возникновения дуги между контактами стартера в момент их размыкания, увеличения импульса зажигания лампы.
Конденсатор (С1), подключенный параллельно цепи, с л у ж и т для повышения коэффициента мощности схемы с 0,5…0,6 до 0,9.
Сопротивление (R) с л у ж и т для разряда конденсаторов С1 и С2 после отключения лампы от сети.
П р и н ц и п д е й с т в и я: при включении люминесцентной лампы в сеть электрический ток нагревает ее электроды до температуры 800…9000С. При этом, вследствие возникновения явления термоэлектронной эмиссии из электродов начинают вылетать электроды, образующие около каждого электрода электронные облачка. Находящаяся внутри лампы ртуть способствует появлению паров ртути.

Рисунок 109 – Схема включения люминесцентной лампы
Затем к электродам прикладывается импульс повышенного напряжения, создаваемый дросселем, вследствии чего возникает электрический пробой внутреннего пространства, ток начинает протекать между электродами, и лампа зажигается. В результате прохождения тока пары ртути излучают ультрафиолетовые лучи, которые, действуя на люминофор, заставляют его светиться дневным светом. Спектр излучения лампы зависит от химического состава люминофора. Схема включения люминесцентной лампы в сеть представлена на рис. 109.
Источники инфракрасного излучения. Источники ИК-излучений в зависимости от спектрального диапазона излучения принято делить на светлые с λ = 750…1400 нм (коротковолновые) и тёмные с λ = 1400…10000 нм (длинноволновые).
К числу наиболее распространённых светлых источников ИК-излучения относятся кварцевые лампы накаливания с йодным (галогенным) циклом КГ-220-1000-1.
У с т р о е н ы они следующим образом (рис. 110): в колбу цилиндрической формы 3, выполненную из кварцевого стекла, хорошо пропускающего ИК-излучение, помещена вольфрамовая спираль 4, прикреплённая к двум молибденовым электродам 2. В кварцевую колбу ламп с галогеновым циклом вводится дозированное количество йода.
П р и н ц и п д е й с т в и я: в обычной лампе накаливания вольфрамовая нить накала постепенно распыляется, и её частицы оседают на внутренней поверхности колбы, уменьшая её прозрачность. В инфракрасной лампе частицы вольфрама, отрываясь от раскалённой нити накала, оседают на стенках колбы, где соединяются с йодом, образуя газообразное соединение йодид вольфрама. Вследствие интенсивного перемешивания в зоне высоких температур вблизи нити накала йодид вольфрама распадается на вольфрам и йод. Вольфрам выпадает на нить накала, а частицы йода возвращаются к стенкам колбы и вновь принимают участие в регенеративном йодном цикле.

1 – плоская ножка; 2 – молибденовый электрод; 3 – кварцевая колба;
4 – нить накала; 5 – вольфрамовые держатели; 6 – контактная пластинка
Рисунок 110 – Инфракрасная галогенная лампа КГ-220-1000-1
Срок службы галогенных ламп вдвое больше, чем обычных ламп накаливания, спектральный состав излучения более близок к естественному, световая отдача на 18…20% больше. Габаритные размеры этих ламп значительно меньше, что позволяет существенно уменьшить размеры и массу осветительных приборов. Для галогенных ламп характерны высокая прочность и термостойкость. Они выдерживают большое внутреннее давление и без последствий переносят в рабочем состоянии обливание холодной водой. Особенность эксплуатации галогенных ламп в том, что их монтируют только в горизонтальном положении.
|
|
|
Инфракрасные зеркальные лампы накаливания ИКЗК-220-250, ИКЗК-220-500, ЗС-1, ЗС-3 п р е д н а з н а ч е н ы для локального обогрева молодняка сельскохозяйственных птиц и животных.
У с т р о й с т в о инфракрасных зеркальных ламп аналогично обычным лампам накаливания, но имеются отличия: колба этих ламп имеет параболоидную форму и более высокую температуру нити накаливания. На внутреннюю поверхность колбы нанесено зеркальное покрытие, а на купол изнутри – специальное цветное покрытие, позволяющее получать излучение в инфракрасном диапазоне спектра. Нижняя часть колбы ИКЗК покрыта красным термостойким лаком, что снижает интенсивность видимого излучения. Нижняя часть колбы ламп ЗС выполнена прозрачной.
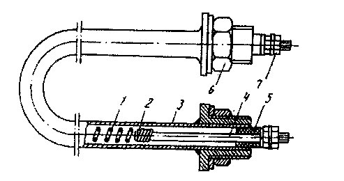
К числу тёмных источников ИК-излучения относятся трубчатые нагревательные элементы, так называемые ТЭНы (рис. 111).
У с т р о й с т в о: нагреватель с о с т о и т из металлической трубки 2, в которую вмонтирована нихромовая спираль. Концы спирали приварены к выводным шпилькам 4, которые предназначены для подключения ТЭНа к электрической сети. Спираль изолируют от стенок трубки наполнителем 3 в виде периклаза (кристаллическая окись магния MgO), обладающего хорошими электроизоляционными свойствами и теплопроводностью. После засыпки наполнителя в трубку её опрессовывают под давлением, в результате чего периклаз превращается в твёрдый монолитный материал, надёжно фиксирующий и изолирующий спираль внутри трубки.

1 – нихромовая спираль; 2 – трубка; 3 – наполнитель; 4 – выводная шпилька;
5 – герметизирующая втулка; 6 – гайка; 7 – выводы
Рисунок 111 – Трубчатый электронагреватель (ТЭН) герметичного исполнения
П р и н ц и п д е й с т в и я: при протекании тока по нагревательному элементу выделяется теплота Q равная:
Q = I 2 · R · t, (20.1)
где I – ток, А;
R – сопротивление нагревательного элемента, Ом;
t – время работы, с.
Выделившаяся теплота за счёт теплопроводности наполнителя и металлической трубки нагревает среду, в которую помещён ТЭН, в том числе воду и воздух.
Срок службы ТЭНов 10 тыс. часов. Они вибропрочны. Температура нагрева поверхности до 700ºС.
|
|
|
Области применения самые разнообразные: в водонагревателях, калориферах, установках лучистого нагрева, электрообогреваемых полах и др.
Источники ультрафиолетового излучения. УФ-излучение условно подразделяют на три области:
· УФ-А с λ = 380…315 нм, обладает небольшой биологической активностью, вызывает пигментацию кожи у человека и свечение некоторых веществ, называемое люминесценцией;
· УФ-В с λ = 315…280 нм, обладает биологической активностью и при попадании на кожу человека вызывает её покраснение (эритему), а затем пигментацию в виде загара; обладает антирахитным действием, поскольку способствует усвоению организмом фосфорно-кальциевых соединений, которые влияют на прочность костной системы животных, птицы и человека;
· УФ-С с λ менее 280 нм обладает большой биологической активностью и оказывает бактерицидное воздействие на болезнетворные микроорганизмы, находящиеся в воде, воздухе, почве.
В сельскохозяйственном производстве для технологического воздействия на живые организмы широко применяют специальные источники ультрафиолетового излучения, которые подразделяют на три типа:
· общего УФ-излучения с λ = 380…100 нм;
· витального с λ =315…280 нм;
· бактерицидного действия с λ = 254 нм.
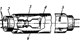
Источником общего УФ-излучения является дуговая ртутно-кварцевая трубчатая лампа высокого давления (ДРТ). Она п р е д с т а в - л я е т собой (рис. 112) трубку из кварцевого стекла небольших размеров. Кварцевое стекло хорошо пропускает ультрафиолетовое излучение. В торцы трубки впаяны вольфрамовые электроды. Внутрь неё вводится дозированное количество ртути и аргона.
После загорания лампа разогревается в течение 5…10 минут, вследствие чего давление аргона увеличивается, и по оси трубки образуется ярко светящийся шнур разряда с температурой 5700…7700ºС. Повторное зажигание лампы, в случае ее погасания, возможно лишь, когда она достаточно остынет (через 5…10 минут).
Промышленность выпускает лампы ДРТ мощностью 230, 400 и 1000 Вт со сроком службы более 1500 часов.

1 – кварцевая трубчатая колба; 2 – электрод; 3 – держатели лампы;
4 – лента из медной фольги для облегчения зажигания разряда
Рисунок 112– Лампа ДРТ
Источники витального действия: эритемные люминесцентные лампы низкого давления типов ЛЭ-15, ЛЭ-30, ЛЭР-30, ЛЭР-40. По устройству они аналогичны обычным люминесцентным лампам типов ЛБ или ЛД, но отличаются от них составом люминофора, излучающего световой поток УФ- области с длиной волны 315…280 нм. Они, как и люминесцентные лампы включатся в сеть с помощью стартера и дросселя. Лампы типа ЛЭР – рефлекторные (с отражающим слоем), предназначены для помещений с повышенной запыленностью. Мощность выпускаемых эритемных ламп витального действия 15, 30 и 40 Вт.
Источники бактерицидного действия – дуговые газоразрядные лампы низкого давления типа ДБ. Эти лампы по конструкции не отличаются от люминесцентных ламп низкого давления, но колбы их изготавливаю из специального увиолевого стекла с легирующими присадками, которое хорошо пропускает УФ-излучение с длиной волны 254 нм. Кроме того, колба ламп не покрыта люминофором. Включают в сеть, так же как и люминесцентные лампы, с помощью пускорегулирующих устройств.
Мощность бактерицидных ламп аналогична мощности эритемных ламп, то есть 30 и 40 Вт.
Инфракрасные нагревательные установки: светлые источники ИК-излучения обладают большей проникающей способностью в ткани животных и оказывают на них тепловое воздействие. Поэтому их используют в установках для:
·обогрева молодняка животных и птиц в первые дни рождения до начала работы собственной системы терморегуляции организма с помощью установок типа ИКУФ, «Луч» и электрического брудера БП-1 (рис. 113);
Электрический брудер БП-1 п р е д н а з н а ч е н для одновременного обогрева 500…600 цыплят до 30-суточного возраста при напольном содержании. Под металлическим зонтом формы шестигранной усеченной пирамиды, изготовленный из оцинкованной стали, установлены четыре ТЭНа мощностью по 250 Вт, термореле, лампы освещения. Под зонтом автоматически с помощью терморегулятора поддерживается заданная температура в диапазоне 14…38ºС. Сигнальная лампа контролирует работу нагревательных элементов;
| 1 – колпак; 2 – лампа; 3 – отражатель; 4 – стойка; 5 – регулятор температуры; 6 - шторка; 7 – электронагреватель; 8 - вилка со шнуром; 9 – груз; 10- канат; 11 – блок; 12 – крышка; 13 – рама; 14 – клеммная колодка; 15 – сальник; 16 – проволока; 17 – подвеска; 18 - сигнальная лампа; 19 – предохранитель; 20 – обогреватель; 21 – крышка; 22 - секция Рисунок 113 – Электрический брудер БП-1 |
· дезинсекции зерна, мешкотары при температуре выше 43,5ºС, когда насекомые – вредители нагреваются быстрее и сильнее зерна и погибают.
Темные источники ИК-излучения (ТЭНы) п р и м е н я ю т в установках для электрического нагрева воды и воздуха.
| 1 – винт для зануления; 2 – сливная пробка; 3 – обратный клапан; 4 – ТЭНы; 5 – термодатчик; 6 – теплоизоляция; 7 – кожух; 8 – термометр; 9 – предохранительный клапан Рисунок 114 – Электронагреватель УАП-200/0,9-И2 |
Элементный водонагреватель УАП-200/0,9-И2 (рис. 114) выполнен в виде цилиндрического резервуара 7, на поверхности которого уложен теплоизоляционный синтетический пеноматериал 6, благодаря чему температура воды при отключении напряжения снижается на 0,8ºС за 1 час. Резервуар установлен на трех ножках. В правой нижней боковой части резервуара посредством патрубка с фланцем укреплены три ТЭНа 4 мощностью по 2 кВт. С помощью датчика и температурного реле, размещенных на фланце, осуществляется автоматический режим работы водонагревателя и поддержание постоянства температуры воды 90ºС.
С целью обеспечения безаварийной работы элементного водонагревателя и исключения его взрыва, на крышке резервуара установлен предохранительный клапан 9, который срабатывает при повышении давления внутри резервуара выше допустимого значения.
Разбор воды из электроводонагревателя осуществляется путем перелива, при этом нагретая вода вытекает через верхний разборный патрубок резервуара за счет давления холодной воды, поступающей из водопровода через нижний приточный патрубок. Это исключает возможность «сухой» работы водонагревателя, так как разбор горячей воды и нагрев поступающей холодной воды происходит одновременно.
Электрокалориферные установки п р е д н а з н а ч е н ы для подогрева воздуха в системах вентиляции, установках для создания микроклимата на животноводческих фермах и птицефабриках, вентиляции картофелехранилищ и теплиц.
| 1 – электрический калорифер; 2 – переходной патрубок; 3 – мягкая вставка; 4 – вентилятор; 5 – электродвигатель; 6 – виброгасители; 7 – рама Рисунок 115 – Электрический калориферный агрегат СФОЦ |
Электрокалориферный агрегат СФОЦ (рис. 115) п р е д с т а в л я - е т собой прямоугольный каркас из швеллеров, внутри которого в три ряда расположены оребренные ТЭНы. Они собираются в ряды, каждый ряд – это автономная электрическая секция, в которой нагреватели соединены в звезду. Кроме коробки калорифера на небольшой металлической раме крепится другая основная часть агрегата – центробежный вентилятор 4 серии Ц4-70 в сборе с электродвигателем 5. Калорифер и вентилятор соединяются между собой посредством переходного патрубка 2 и мягкой вставки 3.
П р и н ц и п р а б о т ы электрокалориферной установки заключается в следующем: холодный воздух снаружи через заборное устройство всасывается вентилятором и прогоняется через электрокалорифер. В нем воздух, омывая оребренные ТЭНы, нагревается, а затем подается в распределительную систему воздуховодов или непосредственно в помещение.
Для облучения животных и птиц УФ-излучением используют различные облучатели и установки, которые могут быть:
· стационарными;
· передвижными.
К числу стационарных установок относятся:
· эритемный облучатель ЭОР1-30 М, предназначенный для УФ-облучения сельскохозяйственных животных;
· ртутно-кварцевый облучатель ОРК-2 для облучения небольших групп животных, птицы и инкубационных яиц с целью профилактического и лечебного воздействия.
К числу самоходных установок принадлежит установка для облучения кур УОК-1 (рис. 116). Эта установка п р е д н а з н а ч е н а для ультрафиолетового облучения кур и цыплят при многоярусном клеточном содержании.
| 1 – самоходное шасси; 2 – привод; 3 – облучатели с лампами ДРТ-400; 4 – штанга; 5 – панель управления; 6 – конечные выключатели Рисунок 116 – Установка для облучения кур УОК-1 |
П р и н ц и п р а б о т ы: установка, приводимая в движение от электродвигателя мощностью 0,27 кВТ и ременной передачи, совершает возвратно-поступательное перемещение вдоль проходов между клетками. В процессе ее движения УФ-облучатели с лампами ДРТ-400 одновременно облучают птиц двух ярусов. Высоту установки облучателей можно регулировать.
Для обеззараживания воздуха в животноводческих помещениях ультрафиолетовым излучением применяют стационарную установку ОБУ-2-30М. Этот облучатель имеет отражатель, покрытый специальной краской, и бактерицидную лампу ДБ-30. Облучатель подвешивают к потолку или укрепляют на стене помещения.
Контрольные вопросы
1. Как устроена и работает лампа накаливания?
2. Как устроена люминесцентная лампа?
3. Назвать пускорегулирующую аппаратуру, необходимую для работы люминесцентной лампы.
4. Перечислить светлые источники ИК- излучения.
5. Как устроена и работает кварцевая лампа накаливания с йодным циклом?
6. Назначение инфракрасных зеркальных ламп накаливания.
7. Как устроены лампы типа ИК3К и ЗС? В чем сходство и различие их с обычными лампами накаливания?
8. К какому типу ИК-излучения относятся ТЭНы? Как они устроены?
9. На чем основан принцип действия ТЭНа?
10. На какие области делится весь спектр УФ-узлучения? Назвать их и указать действие их на живой организм.
11. Перечислить источники УФ-излучения.
12. Назвать светлые и темные источники ИК-излучения. Указать область их применения.
13. Назначение и устройство электрического брудера БП-1.
14. Как устроен и работает элементный водонагреватель УАП-200/0,9-И2?
15. Как устроен и работает электрический калориферный агрегат СФОЦ?
16. С какой целью в животноводстве и птицеводстве используют стационарные УФ-облучатели?
17. С какой целью используют в птицеводстве самоходную установку УОК-1? Как она устроена и работает?






