Обмен газов в легких. Легкие представляют собой герметичные мешки, соединенные с трахеей с помощью крупных воздухоносных путей — бронхов. Атмосферный воздух через носовую и ротовую полость проникает в гортань и далее в трахею, после чего разделяется на два потока, один из которых идет к правому легкому, другой к левому (рис. 20). Трахея и бронхи состоят из соединительной ткани и каркаса из хрящевых колец, которые не позволяют этим трубкам перегибаться и перекрывать воздухоносные пути при различных изменениях положения тела. Войдя в легкие, бронхи разделяются на множество ответвлений, каждое из которых вновь делится, образуя так называемое «бронхиальное дерево». Самые тонкие веточки этого «дерева» называются бронхиолами, и на их концах располагаются легочные пузырьки, или альвеолы (рис. 21). Количество альвеол достигает 350 млн., а их общая площадь — 150 м2. Именно эта поверхность и представляет собой площадь для обмена газами между кровью и воздухом. Стенки альвеолы состоят из одного слоя эпителиальных клеток, к которому вплотную подходят тончайшие кровеносные капилляры, также состоящие из однослойного эпителия. Такая конструкция благодаря диффузии обеспечивает сравнительно легкое проникновение газов из альвеолярного воздуха в капиллярную кровь (кислород) и в обратном направлении (углекислый газ). Этот газообмен происходит в результате того, что создается градиент концентрации газов (рис. 22). Находящийся в альвеолах воздух содержит относительно большое количество кислорода (103 мм рт. ст.) и малое количество углекислого газа (40 мм рт. ст.). В капиллярах, наоборот, концентрация углекислого газа повышена (46 мм рт. ст.), а кислорода понижена (40 мм рт. ст.), поскольку в этих капиллярах находится венозная кровь, собранная уже после того, как она побывала в тканях и отдала им кислород, получив взамен углекислый газ. Кровь по капиллярам протекает непрерывно, а воздух в альвеолах обновляется при каждом вдохе. Оттекающая от альвеол обогащенная кислородом (до 100 мм рт. ст.) кровь содержит сравнительно мало углекислого газа (40 мм рт. ст.) и вновь готова к осуществлению тканевого газообмена.
|
|
|

Рис. 21. Схема строения легких (А) и легочных альвеол (Б)
А: ] — гортань; 2 — трахея; 3 — бронхи; 4 — бронхиолы; 5 — легкие;
Б: 1 — сосудистая сеть; 2, 3 — альвеолы снаружи и в разрезе; 4 —
бронхиола; 5 — артерия и вена

Рис. 22. Схема ветвления воздухоносных путей (слева). В правой части рисунка приведена кривая суммарной площади поперечного сечения воздухоносных путей на уровне каждого ветвления (3). В начале переходной зоны эта площадь начинает существенно возрастать, что продолжается и в дыхательной зоне. Бр — бронхи; Бл — бронхиолы; КБл — конечные бронхиолы; ДБл — дыхательные бронхиолы; АХ — альвеолярные ходы; А — альвеолы
|
|
|

Рис. 23. Обмен газов в легочных альвеолах: через стенку легочной альвеолы О2 вдыхаемого воздуха поступает в кровь, а СО2 венозной крови — в альвеолу; газообмен обеспечивается разностью парциальных давлений (Р) СО2 и О2 в венозной крови и в полости легочных альвеол
Чтобы мельчайшие пузырьки — альвеолы — не спадались во время выдоха, их поверхность изнутри покрыта слоем специального вещества, вырабатываемого легочной тканью. Это вещество — сурфактант — уменьшает поверхностное натяжение стенок альвеол. Обычно оно вырабатывается в избыточном количестве, чтобы гарантировать максимально полное использование поверхности легких для газообмена.
Диффузионная способность легких. Градиент концентраций газов по обе стороны альвеолярной стенки является той силой, которая заставляет молекулы кислорода и углекислого газа диффундировать, проникать сквозь эту стенку. Однако при одном и том же атмосферном давлении скорость диффузии молекул зависит не только от градиента, но и от площади соприкосновения альвеол и капилляров, от толщины их стенок, от наличия сурфактанта и ряда других причин. Для того чтобы оценить все эти факторы, с помощью специальных приборов измеряют диффузионную способность легких, которая в зависимости от возраста и функционального состояния человека может изменяться от 20 до 50 мл О2/мин/мм рт. ст.
Вентиляционно-перфузионное отношение. Газообмен в легких происходит только в том случае, если воздух в альвеолах периодически (в каждом дыхательном цикле) обновляется, а через легочные капилляры непрерывно течет кровь. Именно по этой причине остановка дыхания, как и остановка кровообращения, в равной мере означают смерть. Непрерывный ток крови через капилляры называется перфузией, а ритмическое поступление новых порций атмосферного воздуха в альвеолы — вентиляцией. Следует подчеркнуть, что воздух в альвеолах по составу весьма существенно отличается от атмосферного: в альвеолярном воздухе гораздо больше углекислого газа и меньше кислорода. Дело в том, что механическая вентиляция легких не затрагивает наиболее глубоких зон, в которых расположены легочные пузырьки, и там газообмен происходит только благодаря диффузии, а потому несколько замедленно. Тем не менее каждый дыхательный цикл приносит в легкие новые порции кислорода и уносит избыток углекислоты. Скорость перфузии легочной ткани кровью должна точно соответствовать скорости вентиляции, чтобы между этими двумя процессами устанавливалось равновесие, иначе либо кровь будет перенасыщена углекислотой и недонасыщена кислородом, либо, наоборот, углекислота будет вымываться из крови. И то и другое плохо, так как дыхательный центр, расположенный в продолговатом мозге, генерирует импульсы, заставляющие дыхательные мышцы осуществлять вдох и выдох, под воздействием рецепторов, измеряющих содержание СО2 и О2 в крови. Если уровень СО2 в крови падает, дыхание может остановиться; если же растет — начинается одышка, человек ощущает удушье. Соотношение между скоростью кровотока через легочные капилляры и скоростью потока воздуха, вентилирующего легкие, называется вентиляционно-перфузионным отношением (ВПО). От него зависит соотношение концентраций О2 и СО2 в выдыхаемом воздухе. Если прибавка СО2 (по сравнению с атмосферным воздухом) в точности соответствует уменьшению содержания кислорода, то ВПО=1, и это повышенный уровень. В норме ВПО составляет 0,7—0,8, т. е. перфузия должна быть несколько интенсивнее, чем вентиляция. Величину ВПО учитывают при выявлении тех или иных заболеваний бронхолегочной системы и системы кровообращения.
|
|
|
Если сознательно резко активизировать дыхание, делая максимально глубокие и частые вдохи-выдохи, то ВПО превысит 1, а человек вскоре почувствует головокружение и может упасть в обморок — это результат «вымывания» избыточных количеств СО2 из крови и нарушения кислотно-щелочного гомеостаза. Напротив, если усилием воли задержать дыхание, то ВПО составит менее 0,6 и через несколько десятков секунд человек почувствует удушье и императивный позыв к дыханию. В начале мышечной работы ВПО резко изменяется, сначала снижаясь (усиливается перфузия, так как мышцы, начав сокращаться, выдавливают из своих вен добавочные порции крови), а через 15—20 с стремительно увеличиваясь (активизируется дыхательный центр и возрастает вентиляция). Нормализуется ВПО только через 2—3 мин после начала мышечной работы. В конце мышечной работы все эти процессы протекают в обратном порядке. У детей подобная перенастройка системы кислородного снабжения происходит немного быстрее, чем у взрослых, так как размеры тела и соответственно инерционные характеристики сердца, сосудов, легких, мышц и других участвующих в этой реакции структур у детей существенно меньше.
Тканевый газообмен. Кровь, приносящая к тканям кислород, отдает его (по градиенту концентрации) в тканевую жидкость, а оттуда молекулы О2 проникают в клетки, где и захватываются митохондриями. Чем интенсивнее происходит этот захват, тем быстрее уменьшается содержание кислорода в тканевой жидкости, тем выше становится градиент между артериальной кровью и тканью, тем быстрее кровь отдает кислород, отсоединяющийся при этом от молекулы гемоглобина, которая служила «транспортным средством» для доставки кислорода. Освободившиеся молекулы гемоглобина могут захватывать молекулы СО2, чтобы нести их к легким и там отдавать альвеолярному воздуху. Кислород, вступая в цикл окислительных реакций в митохондриях, в конечном счете оказывается соединенным либо с водородом (образуется Н2О), либо с углеродом (образуется СО2). В свободном виде кислород в организме практически не существует. Весь образующийся в тканях углекислый газ выводится из организма через легкие. Метаболическая вода также частично испаряется с поверхности легких, но может выводиться, кроме того, с потом и мочой.
|
|
|
Дыхательный коэффициент. Соотношение количеств образовавшегося СО2 и поглощенного О2 называется дыхательным коэффициентом (ДК) и зависит от того, какие субстраты окисляются в тканях организма. ДК в выдыхаемом воздухе составляет от 0,65 до 1. По сугубо химическим причинам при окислении жиров ДК=0,65; при окислении белков — около 0,85; при окислении углеводов ДК=1,0. Таким образом, по составу выдыхаемого воздуха можно судить о том, какие вещества используются в настоящий момент для выработки энергии клетками организма. Естественно, обычно ДК принимает какое-то промежуточное значение, чаще всего близкое к 0,85, но это не значит, что окисляются белки; скорее это результат одновременного окисления жиров и углеводов. Величина ДК тесно связана с ВПО, между ними есть почти полное соответствие, если не считать периодов, когда ВПО подвергается резким колебаниям. У детей в покое ДК обычно выше, чем у взрослых, что связано со значительно большим участием углеводов в энергетическом обеспечении организма, особенно деятельности нервных структур.
При мышечной работе ДК также может существенно превышать ВПО, если в энергообеспечении участвуют процессы анаэробного гликолиза. В этом случае гомеостатические механизмы (буферные системы крови) приводят к выбросу из организма добавочного количества СО2, что обусловлено не метаболическими нуждами, а гомеостатическими. Такое добавочное выделение СО2 называют «неметаболическим излишком». Его появление в выдыхаемом воздухе означает, что уровень мышечной нагрузки достиг некоего порога, после которого необходимо подключение анаэробных систем энергопродукции («анаэробный порог»). Дети от 7 до 12 лет обладают более высокими относительными показателями анаэробного порога: у них при такой нагрузке выше частота пульса, легочная вентиляция, скорость кровотока, потребление кислорода и т. п. К 12 годам нагрузка, соответствующая анаэробному порогу, резко снижается, а после 17—18 лет не отличается от соответствующей нагрузки у взрослых. Анаэробный порог — один из важнейших показателей аэробной производительности человека, а также та минимальная нагрузка, которая способна обеспечить достижение тренировочного эффекта.
Внешнее дыхание — это проявления процесса дыхания, которые хорошо заметны без всяких приборов, поскольку воздух входит в воздухоносные пути и выходит из них только благодаря тому, что изменяется форма и объем грудной клетки. Что же заставляет воздух проникать вглубь организма, достигая, в конечном счете, мельчайших легочных пузырьков? В данном случае действует сила, вызванная разницей в давлении внутри грудной клетки и в окружающей атмосфере. Легкие окружены соединительно-тканной оболочкой, которая называется плеврой, причем между легкими и плевральным мешком находится плевральная жидкость, которая служит смазкой и герметиком. Внутриплевральное пространство герметично, не сообщается с соседними полостями и проходящими через грудную клетку пищеварительными и кровеносными трубами. Герметична и вся грудная клетка, отделенная от брюшной полости не только серозной оболочкой, но и крупной кольцевой мышцей — диафрагмой. Поэтому усилия дыхательных мышц, приводящие даже к небольшому увеличению ее объема во время вдоха, обеспечивают достаточно существенное разряжение внутри плевральной полости, иименно под действием этого разряжения воздух входит в ротовую и носовую полость и проникает далее через гортань, трахею, бронхи и бронхиолы в легочную ткань.
Организация дыхательного акта. Три группы мышц участвуют в организации дыхательного акта, т. е. в перемещении стенок грудной клетки и брюшной полости: инспираторные (обеспечивающие вдох) наружные межреберные мышцы; экспираторные (обеспечивающие выдох) внутренние межреберные мышцы и диафрагма, а также мышцы брюшной стенки. Слаженное сокращение этих мышц под управлением дыхательного центра, который расположен в продолговатом мозге, вызывает перемещение ребер несколько вперед и вверх относительно их положения в момент выдоха, грудина приподнимается, а диафрагма вжимается внутрь брюшной полости. Таким образом, общий объемгрудной клетки существенно увеличивается, там создается довольновысокое разряжение, и воздух из атмосферы устремляется внутрь легких. В конце вдоха импульсация из дыхательного центра к этим мышцам прекращается, и ребра под силой собственной тяжести, а диафрагма в результате ее расслабления возвращаются в «нейтральное» положение. Объем грудной клетки уменьшается, там повышается давление, и лишний воздух из легких выбрасывается через те же трубки, через которые он входил. Если по каким-то причинам выдох затруднен, то для облегчения этого процесса подключаются экспираторные мышцы. Работают они и в тех случаях, когда дыхание усиливается или ускоряется под воздействием эмоциональных либо физических нагрузок. Работа дыхательных мышц, как и любая другая мышечная работа, требует затрат энергии. Подсчитано, что при спокойном дыхании на эти нужды расходуется чуть больше 1 % потребляемой организмом энергии.
В зависимости от того, связано ли расширение грудной клетки при нормальном дыхании преимущественно с поднятием ребер или уплощением диафрагмы, различают реберный (грудной) и диафрагмальный (брюшной) типы дыхания. При грудном типе дыхания диафрагма смещается пассивно в соответствии с изменением внутригрудного давления. При брюшном типе мощные сокращения диафрагмы сильно смещают органы брюшной полости, поэтому при вдохе живот «выпячивается». Становление типа дыхания происходит в возрасте 5—7 лет, причем у девочек оно становится, как правило, грудным, а у мальчиков — брюшным.
Легочная вентиляция. Чем крупнее организм и чем сильнее работают дыхательные мышцы, тем большее количество воздуха проходит через легкие за каждый дыхательный цикл. Для оценки легочной вентиляции измеряют минутный объем дыхания, т.е. среднее количество воздуха, которое проходит через дыхательные пути за 1 мин. В покое у взрослого человека эта величина составляет 5—6 л/мин. У новорожденного ребенка минутный объем дыхания составляет 650—700 мл/мин, к концу 1 года жизни достигает 2,6—2,7 л/мин, к 6 годам — 3,5 л/мин, в 10 лет — 4,3 л/мин, а у подростков — 4,9 л/мин. При физической нагрузке минутный объем дыхания может очень существенно увеличиваться, достигая у юношей и взрослых 100 л/мин и более.
Частота и глубина дыхания. Дыхательный акт, состоящий из вдоха и выдоха, имеет две основные характеристики — частоту и глубину. Частота — это количество дыхательных актов в минуту. У взрослого человека эта величина обычно составляет 12—15, хотя она может изменяться в широких пределах. У новорожденных частота дыхания во время сна достигает 50—60 в минуту, к годовалому возрасту снижается до 40—50, затем по мере роста происходит постепенное снижение этого показателя. Так, у детей младшего школьного возраста частота дыхания составляет обычно около 25 циклов в минуту, а у подростков — 18—20. Прямо противоположную тенденцию возрастных изменений демонстрирует дыхательный объем, т.е. мера глубины дыхания. Он представляет собой среднее количество воздуха, которое поступает в легкие за каждый дыхательный цикл. У новорожденных он очень мал — всего 30 мл или даже меньше, к годовалому возрасту увеличивается до 70 мл, в 6 лет становится свыше 150 мл, к 10 годам достигает 240 мл, в 14 лет — 300 мл. У взрослого дыхательный объем в покое не превышает 500 мл. Минутный объем дыхания представляет собой произведение дыхательного объема на частоту дыхания.
Если человек выполняет любую физическую нагрузку, ему требуется дополнительное количество кислорода, соответственно увеличивается минутный объем дыхания. У детей до 10 лет это увеличение обеспечивается в основном учащением дыхания, которое может стать в 3—4 раза более частым, чем дыхание в покое, тогда как дыхательный объем увеличивается только в 1,5—2 раза. У подростков, а тем более у взрослых увеличение минутного объема осуществляется главным образом за счет дыхательного объема, который может увеличиться в несколько раз, а частота дыхания обычно не превышает 50—60 циклов в минуту. Считается, что такой тип реакции системы дыхания более экономичен. По различным критериям эффективность и экономичность внешнего дыхания с возрастом существенно увеличивается, достигая максимальных величин у юношей и девушек 18—20 лет. При этом дыхание юношей, как правило, организовано более эффективно, чем у девушек. На эффективность дыхания и его экономичность большое влияние оказывает физическая тренированность, особенно в тех видах спорта, в которых кислородное обеспечение играет решающую роль. Это стайерский бег, лыжи, плавание, гребля, велосипед, теннис и другие виды, связанные с проявлением выносливости.
При выполнении циклической нагрузки ритм дыхания обычно «подстраивается» под ритм сокращения скелетных мышц — это облегчает работу дыхания и делает ее более эффективной. У детей усвоение ритма движений дыхательной мускулатурой происходит инстинктивно без вмешательства сознания, однако учитель может помочь ребенку, что способствует быстрейшей адаптации к такого рода нагрузке.
При выполнении силовой и статической нагрузки наблюдается так называемый феномен Линдгардта — задержка дыхания во время натуживания с последующим увеличением частоты и глубины дыхания после снятия нагрузки. Не рекомендуется использовать тяжелые силовые и статические нагрузки в тренировке и физическом воспитании детей до 13—14 лет, в том числе и по причине незрелости системы дыхания.
Спирограмма. Если на пути воздуха, входящего в легкие и выходящего из них, установить резиновые меха или легкий колокол, погруженный в воду, то благодаря действию дыхательных мышц это приспособление будет увеличивать свой объем при выдохе и уменьшать при вдохе. Если все соединения при этом будут герметичны (для герметизации ротовой полости используют специальный резиновый загубник или маску, надеваемую на лицо), то можно, прикрепив к подвижной части устройства пишущий инструмент, записать все дыхательные движения. Такой прибор, изобретенный еще в XIX в., называется спирограф, а сделанная с его помощью запись — спирограмма (рис. 23). С помощью спирограммы, сделанной на бумажной ленте, можно количественно измерить важнейшие характеристики внешнего дыхания человека. Легочные объемы и емкости. Благодаря спирограмме можно наглядно увидеть и измерить различные легочные объемы и емкости. Объемами в физиологии дыхания принято называть те показатели, которые динамически изменяются в процессе дыхания и характеризуют функциональное состояние системы дыхания. Емкость — это не изменяемый в короткое время резервуар, в рамках которого происходит дыхательный цикл и газообмен. Точкой отсчета для всех легочных объемов и емкостей является уровень спокойного выдоха.
Легочные объемы. В покое дыхательный объем мал по сравнению с общим объемом воздуха в легких. Поэтому человек может как вдохнуть, так и выдохнуть большой дополнительный объем воздуха. Эти объемы носят название соответственно резервный объем вдоха и резервный объем выдоха. Однако даже при самом глубоком выдохе в альвеолах и воздухоносных путях остается некоторое количество воздуха. Это — так называемый остаточный объем, который не измеряется с помощью спирограммы (для его измерения используется достаточно сложная техника и расчеты, применяются инертные газы). У взрослого человека он составляет около 1,5 л, у детей — существенно меньше.

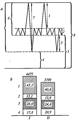
Рис. 24. Спирограмма: емкость легких и ее компоненты
А — схема спирограммы: 1 — резервный объем вдоха; 2 — дыхательный объем; 3 — резервный объем выдоха; 4 —- остаточный объем; 5 — функциональная остаточная емкость; 6 — емкость вдоха; 7 — жизненная емкость; 8 — общая емкость легких; Б — объемы и емкости легких: /— юные спортсмены; // — нетренированные школьники (средний возраст 13 лет) (по А. И.Осипову, 1964). Цифры над столбиками — средние величины общей емкости. Цифры в столбиках — средние величины легочных объемов в процентах от общей емкости; цифры слева от столбиков соответствуют обозначениям на спирограмме
Жизненная емкость легких. Суммарная величина резервного объема вдоха, дыхательного объема и резервного объема выдоха составляет жизненную емкость легких (ЖЕЛ) — один из наиболее важных показателей состояния системы дыхания. Для ее измерения используются разнообразной конструкции спирометры, в которые необходимо сделать максимально глубокий выдох после максимально глубокого вдоха — это и будет ЖЕЛ. ЖЕЛ зависит от размеров тела, а потому и от возраста, а также весьма существенно зависит от функционального состояния и физической тренированности организма человека. У мужчин ЖЕЛ выше, чем у женщин, если ни те, ни другие не занимаются спортом, особенно упражнениями на выносливость. Величина ЖЕЛ существенно различается у людей разного телосложения: у брахиморфных типов она сравнительно мала, а у долихоморфных — очень велика. Принято использовать ЖЕЛ в качестве одного из показателей физического развития детей школьного возраста, а также призывников. Измерить ЖЕЛ можно только при активном и сознательном участии ребенка, поэтому данные о детях до 3-летнего возраста практически отсутствуют.
Таблица 9