Требования, предъявляемые к оборудованию для производства ИС по «безмасляности» вакуума т.е. ограничению или полному отсутствию в спектре остаточных газов тяжелых углеводородов, определили появление механических безмасляных насосов. Сложность создания таких насосов заключается в герметизации подвижных элементов насосов без использования жидкой вакуумной смазки. Поэтому сначала появились двухроторные насосы Рутса (см. рис.) вообще без уплотнительных элементов. Двухроторные насосы не требуют смазки, т.к. их роторы 14, 17 и статор 18 не соприкасаются благодаря сохранению во время вращения небольшого зазора. Обусловленная этими зазорами негерметичность уменьшает быстродействие и повышает предельное давление, однако «чистота» получаемого вакуума и высокая быстрота действия из-за большой частоты вращения роторов является важным достоинством насосов типа Рутса. Роторы насоса имеют такой вид, что при их синхронном вращении (в направлении стрелок) зазоры 15 между ними всегда достаточно малы (десятые доли миллиметра); мал также и зазор 13 между роторами и статором. Роторы должны быть точно изготовлены и хорошо центрированы, т.к. они вращаются с частотой несколько тысяч оборотов в минуту. Производительность насоса определяется как разность прямого потока газа из откачиваемого объема и обратного потока, вызванного негерметичностью зазоров.
|
|
|
| Тип и марка насоса | SH 103, м3/с | p`, Па | Рвып, кПа |
| Пластинчато-статорный и золотниковый ВН-461М, РВН-20, ВН-2МГ, ВН-7 | 0,78…500 | (0,8…3)10-3 | |
| Пластинчато-роторный ВН-01, ВН-494, 2НВР-1Д, 2НВР-5Д | 0,1…5 | 10-2…10-4 | |
| Двухроторный типа Рутса ДВН-5-1 …ДВН-500 | 5…500 | (1…5)10-3 | 10-3 |
| Безмасляной поршневой 01-П-12-001 | 6,65 |
Турбомолекулярные насосы обеспечивают безмасляную откачку, быстро запускаются, нечувствительны к резкому повышению давления (вплоть до атмосферного), имеют широкий диапазон рабочих давлений (10-7 – 10-1 Па) и примерно одинаковую быстроту действия для большинства газов, а также высокую степень (1015) сжатия газов большой молекулярной массы.
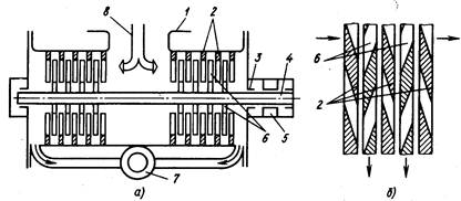
Турбомолекулярный насос (рис. а) представляет собой набор неподвижных статорных 2 и подвижных роторных 6 дисков, закрепленных в корпусе 1 на валу 4, который вращается в опорных подшипниках встроенным электродвигателем с частотой более 10000 об/мин. Опорные подшипники вала насоса и электродвигателя смазываются под давлением. Насос соединяется патрубком 8 с откачиваемым объемом, а патрубком 7 – с форвакуумным насосом, имеющим масляное уплотнение. Статорные и роторные диски, имеющие наклонные (под углом 15-40 к плоскости) радиально расположенные косые пазы, направленные друг к другу, образуют рабочий механизм насоса (рис. б).







