4.1 Цель работа
Изучение методики расчета параметров катушечного высевающего аппарата и приобретение навыков по составлению схемы алгоритма расчета.
4.2 Содержание занятия
Практическое занятие выполняется как расчетно-графическая работа, посвященная самостоятельному решению задачи под руководством преподавателя во время аудиторных занятий в кабинете, оснащенном необходимыми наглядными пособиями и методическими указаниями.
4.3 Исходные данные и краткие методическиеуказания по выполнению
практическогозанятия
По исходным данным, приведенным в таблице 5 и в соответствии с заданным вариантом необходимо рассчитать основные параметры катушки и семенной коробки высевающего аппарата, вычертить их в масштабе и проставить необходимые размеры. По окончании расчета необходимо составить схему алгоритма расчета и вычертить ее в соответствии с принятыми стандартами.
4.3.1 Расчет параметров лопастной катушки
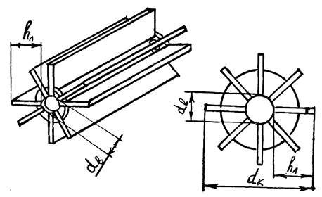
Схема катушки приведена на рисунке 9. Расчет размеров катушки ведут в указаннойниже последовательности.
|
|
|
Определяют глубину желобков (высоту лопастей) катушки
, (60)
где В - средняя ширина высеваемых семян,см;
С - средняя толщина семян.
Высота лопастей должна удовлетворять следующему условию
, (61)
где Вmax - максимальная ширина высеваемых семян,см;
Таблица 5 - Исходные данные
| № ва- | Показатели | ||||
| рианта | Порода семян | Тип семян | Q | Q | V |
| Алыча | 27,2 | 0,56 | |||
| Боярышник | 0,83 | ||||
| Гледичая | 0,69 | ||||
| Дуб черешчатый | 0,56 | ||||
| Сосна кедровая сибирская | 0,83 | ||||
| Каштан конский | 1,1 | ||||
| Лещина | 0,69 | ||||
| Лох узколистный | 19,2 | 1,1 | |||
| Орех грецкий | 0,56 | ||||
| Клен остролистный | крылатые | 0,83 | |||
| Клен татарский | крылатые | 0,69 | |||
| Ясень обыкновенный | крылатые | 12,8 | 1,1 | ||
| Ясень зеленый | крылатые | 9,6 | 0,56 | ||
| Вяз | крылатые | 0,83 | |||
| Алыча | 27,2 | 1,1 | |||
| Боярышник | 0,56 | ||||
| Лещина | 1,1 | ||||
| Клен татарский | крылатые | 0,6 | |||
| Гледичая | 1,1 | ||||
| Дуб черешчатый | 0,83 | ||||
| Сосна кедровая сибирская | 0,56 | ||||
| Каштан конский | 0,69 | ||||
| Орех грецкий | 1,1 | ||||
| Алыча | 0,7 | ||||
| Боярышник | 0,63 | ||||
| Гледичая | 0,5 | ||||
| Дуб черешчатый | 0,7 | ||||
| Сосна кедровая сибирская | 0,93 | ||||
| Каштан конский | 0,9 | ||||
| Лещина |

Рисунок 9 - Схема к расчету лопастной катушки высевающего аппарата
|
|
|

Рисунок 10 - Схема к расчету семенной коробки
Сmax - максимальная толщина семян, см.
Размеры семян разных видов лесных пород приведены в таблице 6.
Определяют расстояние между соседними лопастями, обеспечивающее свободное выпадение семян
. (62)
Рассчитывают диаметр рабочей катушки
, (63)
гдеzл - число лопастей катушки,zл = 8…12;
d л - толщина лопасти, dл = 1…1,5 мм.
Определяют площадь поперечного сечения межлопастного пространства катушки
, (64)
где dв - диаметр вала, dв = 1,2…2 см.
Определяют максимальный рабочий объем катушки
, (65)
где G - приведенная толщина активного слоя семян; выбирается для каж-
дого типа семян на основании опытных данных (таблица 6);
lр max - рабочая длина катушки при максимальной норме высева;
по конструктивным соображениям lр max = 0,85 lк; lк =dк.
Частота вращения катушки при максимальной норме высева равна
, (66)
где Wmax - объем семян, высеваемый на 1 погонный метр бороздки при
максимальной норме высева, см3 /м.
, (67)
где r - плотность высеваемых семян, г/см3 (таблица 6).
- максимальная (минимальная) масса семян, высеваемых
на 1 метр длины бороздки, г/м. Максимальная окружная скорость
вращения катушки рассчитывается по формуле
. (68)
Полученное значение скорости не должно превышать максимально допустимого определяемого из выражения
, (69)
где f1 - коэффициент трения семян о катушку;
зависит от материала катушки (таблица 6).
В случае если условие (71) не выполняется, необходимо произвести корректировку конструктивных параметров катушки, полученных в предыдущих расчетах.
Уменьшение заданной нормы высева обычно осуществляется за счет уменьшения длины рабочей части катушки, частота вращения и скорость движения агрегата остаются неизменными. При минимальной норме высева длина рабочей части катушки рассчитывается по формуле
, (70)
где Wmin - объем семян, высеваемых на 1 м бороздки при минимальной
норме высева.
Чтобы не допустить повреждения семян, минимальная длина рабочей части катушки должна удовлетворять условию:
, (71)
где В - средняя ширина семян, см.
4.3.2 Расчет семенной коробки высевающего аппарата
Семенная коробка прикреплена под выпускным отверстием дна бункера. В ней размещена лопастная катушка, сопрягаемая с холостой муфтой. Схема семенной коробки приведена на рисунке 10.
Расчет ведется в следующей последовательности
- определяется ширина семенной коробки в верхней части
; (72)
- ширина коробки в нижней части
; (73)
- высота семенной коробки
, (74)
где h1 - критическая ширина щели для прохода семян при нижнем высеве.
, (75)
где F1 - критическая площадь сечения выпускного отверстия для прохода
семян при нижнем высеве.
, (76)
где
- зазор в верхней части коробки, необходимый для
осуществления верхнего высева семян
, (77)
По окончанию расчетов на основании полученных данных строят проекцию семенной коробки на поперечную и продольную вертикальную плоскости (рисунок 10).
4.3.3 Разработка схемы алгоритма расчета
Схема алгоритма расчета должна давать ясное представление о последовательности действий при проектировании катушечного высевающего аппарата. Приведенные выше расчетные зависимости и величины, подлежащие вводу и выводу, помещаются в символы регламентированные ГОСТ 19.003.80. Правила выполнения схем алгоритмов регламентированы ГОСТ 19.002-80.
Таблица 6 - Характеристика лесных семян
| Размеры семян, мм | При- | Коэфф. | |||||||
| Порода | длина | ширина | толщина | Плот- | веденная | трения | |||
| семян | ность, | толщина | семян | ||||||
| L | ± s | B | ± s | C | ± s | г/см3 | активно- | о сталь | |
| го слоя, мм | |||||||||
| Алыча | 13,9 | 1,1 | 9,4 | 0,8 | 6,9 | 0,6 | 0,43 | 0,28 | |
| Боярышник | 8,4 | 1,1 | 6,0 | 0,8 | 5,1 | 0,9 | 0,22 | 0,25 | |
| Вишня | 8,9 | 0,4 | 8,8 | 0,4 | 7,0 | 0,3 | 0,16 | 0,24 | |
| Гледичая | 10,1 | 2,3 | 7,2 | 1,1 | 4,3 | 0,7 | 0,47 | 0,29 | |
| Дуб черешчатый | 21,3 | 5,6 | 14,0 | 2,1 | 11,3 | 1,8 | 0,63 | 0,31 | |
| Сосна кедровая сибирская | 10,5 | 1,8 | 8,2 | 1,0 | 7,1 | 0,5 | 0,28 | 0,26 | |
| Каштан конский | 30,2 | 3,9 | 23,2 | 2,4 | 18,3 | 2,1 | 0,56 | 0,25 | |
| Лещина | 15,2 | 3,1 | 12,3 | 2,4 | 11,5 | 1,5 | 0,36 | 0,21 | |
| Лох узколистный | 10,5 | 1,6 | 4,1 | 0,5 | 3,8 | 0,4 | 0,40 | 0,26 | |
| Орех грецкий | 32,3 | 3,9 | 28,9 | 5,5 | 26,4 | 4,8 | 0,35 | 0,22 | |
| Крылатые семена | |||||||||
| Клен остролистный | 47,3 | 4,4 | 14,9 | 1,6 | 2,4 | 0,40 | 0,10 | 0,33 | |
| Клен татарский | 27,4 | 2,9 | 7,5 | 1,4 | 2,4 | 0,5 | 0,19 | 0,39 | |
| Ясень обыкновенный | 34,7 | 2,2 | 6,7 | 0,9 | 1,5 | 0,2 | 0,13 | 0,38 | |
| Ясень зеленый | 39,2 | 3,3 | 5,1 | 0,8 | 1,9 | 0,3 | 0,09 | 0,42 | |
| Вяз | 13,9 | 2,0 | 10,8 | 0,2 | 0,9 | 0,2 | 0,03 | 0,54 |
4.4 Оформление отчета
|
|
|
Отчет по практической работе выполняется на стандартных листах формата А4 и включает:
- расчетные зависимости с расшифровкой входящих в них переменных;
- результаты расчетов;
- эскизы лопастей катушки и семенной коробки с проставленными размерами;
- схему алгоритма расчета.
5 Практическая работа № 5






