
Из ранее полученных расчетов:
на шестерне:
окружная сила
Н;
радиальная сила
Н;
осевая сила
Н;
на колесе:
окружная сила
Н;
радиальная сила
Н;
осевая сила
Н.

Из первого этапа компоновки редуктора:
мм;
мм;
мм.
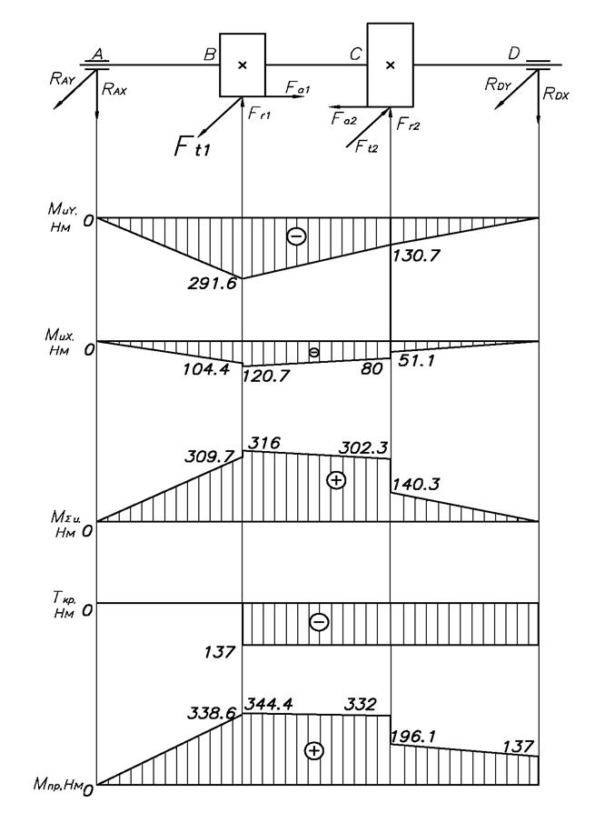
Определение реакций опор:
Плоскость YOZ:
;
;
;
;
;
;
;
;
Проверка:
;
;
;
.
Плоскость XOZ:
;
;
;
;
;
;
;
;
Проверка:
;
;
;
.
Изгибающие моменты:
Плоскость YOZ:
;
Нм;
Нм;
.
Плоскость XOZ:
;
Нм;
Нм;
Нм;
Нм;
.
По найденным значениям строят эпюры изгибающих моментов.
Суммарные изгибающие моменты:
;
;
Нм;
;
Нм;
;
Нм;
;
Нм;
.
По найденным значениям строят эпюру суммарных изгибающих моментов.
Построение эпюры крутящего момента:
Крутящий момент на промежуточном валу:

Определяют приведенные моменты:
;
;
Нм;
Нм;
Нм;
Нм;
.
По полученным значениям строят эпюру приведенных моментов.

Рис 1.5 Эпюры моментов промежуточного вала:
Определение диаметра вала в предположительно опасном сечении:
Наиболее опасное сечение – под шестерней B.

мм.
Из предварительного расчета валов диаметр вала под шестерней
мм,
условие прочности выполняется.
|
|
|






