
Из ранее полученных расчетов:
окружная сила
Н;
радиальная сила
Н;
осевая сила
Н;

Из первого этапа компоновки редуктора:
мм;
мм;
мм;
Давление муфты на вал
,
где
– окружная сила на муфте.
Для двухступенчатых редукторов
,
где
– крутящий момент на тихоходном валу редуктора,
;
;
.
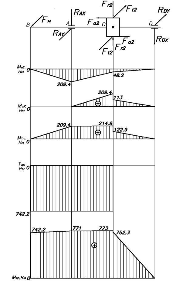
Определение реакций опор:
Плоскость YOZ:
;
;
;

;
;
;
;
Проверка:
;
;
;
.
Плоскость XOZ:
;
;
;
;
;
;
;
;
Проверка:
;
;
;
.
Изгибающие моменты:
Плоскость YOZ:
.
;
;
.
Плоскость XOZ:
;
;
Нм;
Нм;
Нм.
По найденным значениям строят эпюры изгибающих моментов.
Суммарные изгибающие моменты:
;
;
Нм;
;
Нм;
;

Рис. 1.6 Эпюры моментов тихоходного вала
Нм;
.
По найденным значениям строят эпюры изгибающих моментов.
Построение эпюры крутящего момента:
Крутящий момент на тихоходном валу:
Нм.
Определяют приведенные моменты:
;
Нм;
Нм;
Нм;
Нм;
.
По полученным значениям строят эпюру приведенных моментов.
Определение диаметра вала в предположительно опасном сечении:
Наиболее опасное сечение – под колесом в точке С.
;
мм.
Из предварительного расчета валов диаметр вала под колесом
мм, условие прочности выполняется.
|
|
|






