ПЫЛЕУЛАВЛИВАЮЩИЕ АППАРАТЫ С ПРОМЫВКОЙ ГАЗА ЖИДКОСТЬЮ
В зависимости от способа диспергирования жидкости пылеулавливающие аппараты этого типа делят на три группы:
а)форсуночные скрубберы, где диспергирование жидкости осуществляется с помощью форсунок за счет энергии орошающей жидкости;
б) скрубберы Вентури, в которых дробление жидкости происходит за счет энергии турбулентного потока;
в) динамические газопромыватели, где разбрызгивание жидкости происходит за счет механической энергии вращающегося ротора.
В форсуночных скрубберах достаточно эффективно улавливаются частицы пыли размером > 10—15 мкм. Частицы размером меньше 5 мкм практически не улавливаются. Скрубберы получили широкое распространение в металлургии, преимущественно для охлаждения и увлажнения газа, необходимых для последующей тонкой очистки газа.
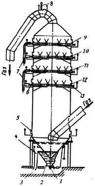
Устройство и работа. В верхней части скруббера (рис. 8.1) размещено несколько поясов орошения с большим числом форсунок, создающих равномерный поток мелко диспергированных капель, движущихся под действием силы тяжести вниз. Нижняя часть скруббера, оканчивающаяся конусом, заполнена водой, уровень которой поддерживается постоянным. Подводимый запыленный газ направляют на зеркало воды для осаждения наиболее крупных частиц пыли, после чего, распределяясь по всему сечению скруббера, газ движется вверх навстречу потоку капель воды. В процессе промывки капли жидкости захватывают частицы пыли и коагулируют. Образовавшийся шлам собирается в нижней части скруббера, откуда непрерывно удаляется промывочной водой.
|
|
|

Рис. 8.1. Общий вид форсуночного скруббера для охлаждения и увлажнения доменного газа: 1 — клапан с контргрузом; 2 — смывной патрубок; 3 — сливной канал; 4 — гидрозатвор; S — люк; 5 — регулирующие задвижки; 7 — подвод воды к зонам орошения; 8 — свеча; 9—12— зоны орошения; 13 — промывочные задвижки.
Параллельно с очисткой газ, проходящий через скруббер, охлаждается чаще всего до 40—50 °С и увлажняется обычно до состояния насыщения. Скорость газа в скруббере принимают равной 0,8— 1,5 м/с. При больших скоростях начинается капельный унос влаги, что способствует образованию отложений на выходном патрубке скруббера и в газопроводах.
Удельный расход воды на скруббер обычно составляет 3— 6 дм3/м3 газа. Гидравлическое сопротивление полых скрубберов не превышает 250 Па
Процессы тепло- и массообмена в скруббере. При орошении горячего газа холодной водой в скруббере естественно идут тепло- и массообменные процессы. Так как газ входит в скруббер обычно не насыщенным влагой, то в нижней части скруббера, идет испарительное охлаждение. Испаряющаяся вода увеличивает влагосодержание газа до тех пор, пока при какой-то температуре он не становится насыщенным. Все это время охлаждение газа протекает при постоянной энтальпии, так как образующийся пар подмешивается к газу, возвращая ему тепло, затраченное в процессе парообразования. Температура воды все это время также остается постоянной и равной температуре мокрого термометра, так как тепло, получаемое водой от газа, полностью расходуется на парообразование. В момент достижения газом состояния насыщения парообразование прекращается. В период испарительного охлаждения температура газа снижается наиболее интенсивно.
|
|
|
В верхней части скруббера протекает процесс конденсационного охлаждения. С момента насыщения газа водяными парами дальнейшее охлаждение его вызывает конденсацию части паров. Выделяющееся при этом тепло, как и тепло, передаваемое воде за счет разности температур газа и воды, затрачивается на ее нагрев, который продолжается до тех пор, пока температура воды не достигнет температуры мокрого термометра. Эта стадия процесса сопровождается уменьшением энтальпии и влагосодержания газа.
Кривые, характеризующие изменения температуры газа и воды, энтальпии (теплосодержания) и влагосодержания газа по высоте скруббера, приведены на рис. 8.2, а. Эти же процессы весьма наглядно могут быть изображены на диаграмме Т — х (рис. 8.2, б).
Граница между испарительным и конденсационным режимами охлаждения газа в скруббере зависит от плотности орошения, представляющей собой количество орошающей воды, приходящейся на 1 м2 сечения скруббера в единицу времени [обычно м3/(м2ч)].

Рис.8.2. Схематическое изображение процессов в форсуночном скруббере: а — по высоте скруббера; б — в координатах Т — х, 1, 2 – испарительное охлаждение, 2,3 — конденсационное охлаждение.
Количество тепла Q, кВт, передаваемого в скруббере от газа воде, пренебрегая потерями тепла, может быть подсчитано из выражения
, (8.1)
где V о.с— объемный расход сухих газов, м3/с; I 1 и I 2 —энтальпия газов на входе в скруббер и выходе из него, кДж/м3; с p — теплоемкость сухих газов при постоянном давлении кДж/(м3·°С); T 1 и T 2 — начальная и конечная температуры газов, °С; i 1 и i 2 — начальная и конечная энтальпии водяных паров, содержащихся в газах, кДж/м3; i 1=(2480+1,96 Т 1), i 2=(2480+1,96 Т 2); x 1 —начальное влагосодержание газа, кг/м3.
Среднюю разность температур между газом и водой Т ср находят, принимая конечную температуру воды Т к близкой к температуре мокрого термометра Т м (обычно Т к на 5—10° ниже):
, (8.2)
где Т н — начальная температура воды. Наиболее неопределенной величиной является коэффициент теплопередачи в скруббере, так как поверхность, к которой его следует относить (суммарная поверхность капель), трудноопределима и в значительной степени условна. Поэтому при расчетах приходится пользоваться полученными на практике для аналогичных условий значениями коэффициента теплопередачи, отнесенного к единице объема скруббера [К0=60 - 240 Bт/(м3·K)
При приближенных подсчетах для определения величины К0 можно пользоваться эмпирической формулой
, (8.3)
где М ж и М г — массовые расходы жидкости и газа соответственно, кг/с; T ср — средняя температура газа в скруббере, °С.
Объем скруббера V скр, м3, определяют исходя из условий теплообмена по известному выражению
(8.4)
Необходимый расход воды М в на скруббер исчисляют по количеству тепла, переданного от газа воде:

, (8.5)
где φ — коэффициент испарения воды (обычно φ≈0,5); i n — энтальпия насыщенного пара при температуре Т2, кДж/кг; i н, i к — соответственно начальная и конечная энтальпии воды, кДж/кг.
Влагосодержание газа на выходе из скруббера х 2 находят по количеству испаренной в скруббере воды:
(8.6)
Объемный расход газа на выходе из скруббера, м3/с, равен
|
|
|
(8.7)
Задаваясь скоростью газа на выходе из скруббера по условиям допустимого капельного уноса воды в пределах w скр = 0,8-1,5 м/с, определяют необходимый диаметр скруббера D. По известному диаметру скруббера и его расчетному объему находят активную высоту скруббера.
По данным практики оптимальное соотношение между высотой скруббера Н и его диаметром D равно —2,5.
Улавливание пыли в скруббере. Как уже указывалось выше, эффективность скруббера как пылеулавливающего аппарата невысока. Влияние различных факторов на процесс пылеулавливания может быть установлено в результате рассмотрения процессов, происходящих в элементарном объеме, и последующего интегрирования полученных дифференциальных уравнений.
Количество газа, проходящего снизу вверх через элементарный объем скруббера (рис. 8.3, а), имеющий поперечное сечение F и высоту D Н, равно V=Fw г/

Рис. 8.3. Улавливание пыли в форсуночном скруббере
Расход жидкости в каждый данный момент через элементарный объем скруббера.
, (8.8)
где υ¢к — доля элементарного объема скруббера, занятая жидкостью; w к— абсолютная скорость движения капель, м/с.
Количество капель в элементарном объеме
, (8.9)
где V к — объем капли.
Число частиц пыли, захватываемых всеми каплями, находящимися в элементарном объеме, за счет кинематической коагуляции
(8.10)
Уравнение материального баланса в элементарном объеме скруббера имеет вид
(8.11)
После простых преобразований и интегрирования в пределах от z1 до z2 и от 0 до H получим
(8.12)
Таким образом, степень очистки газа в скруббере возрастает с увеличением его активной высоты Н, относительной скорости движения частиц пыли и капель воды w о = w к + w ч и удельного расхода воды V ж/ V г и уменьшается с увеличением диаметра капель d к и их скорости w к. Оптимальный размер капель в скруббере 0,8—1 мм.
При ориентировочных подсчетах эффективности улавливания пыли можно пользоваться энергетическим методом расчета. Общая степень очистки газа в скруббере, работающем в системе очистки доменного газа, не превышает обычно 60—70%.
|
|
|
Конструкции полых скрубберов. Во избежание отложений шлама и образования настылей внутри скруббера не должно быть площадок, кронштейнов, решеток и каких-либо других конструктивных элементов. Коллекторы зон орошения (рис. 8.4, а) рекомендуется располагать снаружи. Форсунки присоединяют к коллекторам так, чтобы, не отключая скруббер, можно было прочистить, продуть и сменить каждую из форсунок.

Рис 8.4. Узлы конструкции скруббера: а — отвод воды в скруббере повышенного давлении; б — зона орошения, 1 — клапан, 2 — присоединительная трубка, 3 — поплавковая камера, 4 — система рычагов, 5 — сливная труба, 6 — дроссельный клапан; 7 — поплавок, 8 — задвижка форсунки, 9 — задвижка продувки форсунки, 10 — задвижка промывки коллектора, 11 — форсунка.
В доменных скрубберах чаще всего применяют эвольвентные форсунки с диаметром отверстия 12—40 мм, для которых не требуется очень чистая вода. В каждом ярусе устанавливают 8—16 форсунок, размещая их так, чтобы все сечение было равномерно перекрыто диспергированной водой и количестве, соответствующем заданному удельному расходу воды. Орошение обычно осуществляется в двух—четырех ярусах с направлением факелов форсунок нижних поясов вверх, а верхних — вниз.
Поддержание постоянного уровня воды в скруббере нормального давления осуществляют с помощью гидрозатвора. При повышенном давлении газа уровень воды регулируют с помощью поплавковых регуляторов (рис. 8.4, б). Изменение положения поплавка влияет на степень открытия дроссельного клапана, в результате чего уровень воды автоматически поддерживается постоянным. В целях резервирования каждый скруббер снабжается двумя подобными устройствами.
Для обслуживания поясов орошения, регуляторов уровня, клапанов и свечей с наружной стороны скруббера размещают лестницы и площадки.
Поддержание постоянного уровня воды в скруббере нормального давления осуществляют с помощью гидрозатвора. При повышенном давлении газа уровень воды регулируют с помощью поплавковых регуляторов. Изменение положения поплавка влияет на степень открытия дроссельного клапана, в результате чего уровень воды автоматически поддерживается постоянным. В целях резервирования каждый скруббер снабжается двумя подобными устройствами.
Для обслуживания поясов орошения, регуляторов уровня, клапанов и свечей с наружной стороны скруббера размещают лестницы и площадки.






