Уровни
Уровни и компенсаторы наклона
Уровни относятся к установочным приспособлениям второй группы и служат для приведения тех или иных узлов (чаще осей) геодезических приборов в вертикальное или горизонтальное положение, а также для измерения малых углов отклонения этих узлов от желаемого. По принципу действия различают уровни: электронные: Упругие.
В настоящем параграфе рассмотрены жидкостные уровни.
По форме ампул жидкостные уровни разделяют на: цилиндрические и круглые (рис. 28).
Цилиндрические уровни служат для точной, а круглые — для приближенной (но быстрой) установки узлов приборов в заданное положение. Важный показатель уровней точностные характеристики, по которым их можно классифицировать следующим образом:
установочные — приводящие узлы инструментов в фиксированное положение с точностью 5... 10’
технические — с ценой деления около одной минуты,
точные — с ценой деления не более З0”;
высокоточные — с ценой деления не более 10”.
В соответствии с ГОСТ 2.386-73 для геодезических инструментов изготовляют уровни с ценой деления 10±2/ 5±1/ 45±5// 30±3// 20±2// 15±1,5// Цена деления уровня служит мерой его чувствительности. Чувствительность уровня, то есть способность его пузырька быстро и точно принимать наивысшее положение в ампуле, находится в пределах 0,15—0,04 τ и зависит от:
|
|
|
1) длины пузырька; 2) качества шлифовки; 3) свойств наполнителя ампулы; 4) температуры уровня; 5) диаметра ампулы d (номинально d = 1/6 – 1/9 часть длины ампулы) и некоторых других факторов.
Цену деления и чувствительность уровней определяют путем их исследования по специальным программам и на специальных установках (экзаменатор, угломерный прибор — марка, нивелир-рейка). Все способы основаны на измерении одного и того же вертикального угла дважды — при помощи уровня и каким-либо другим методом, независимым от уровня (i измер.):
(49)
где n - число делений перемещения середины пузырька уровня при наклоне его оси на угол i.
Круглые уровни относятся к классу установочных, имеют цену деления 5 или 10’ и служат для приближенной (но быстрой) установки узлов приборов в заданное положение.
Конструктивно круглый уровень состоит из корпуса 1, внутри которого расположена стеклянная ампула 2 в форме вертикального цилиндра, заполненная жидкостью 3. К прибору уровень крепится тремя юстировочными винтами
4. Внутренняя верхняя поверхность ампулы отшлифована под сферу с радиусом для установки пузырька уровня на его крышке наносят одну или несколько (через интервалы 2 мм) окружностей, расположенных концентрически относительно «нормальной точки», то есть нуль-пункта. Нормаль к внутренней сферической поверхости уровня, проведенная через нуль-пункт, называется осью круглого уровня. При хорошей юстировке ось круглого уровня занимает вертикальное положение.
|
|
|
Уровнями называются устройства для установки линий или плоскостей в горизонтальное или вертикальное положение. Уровни предназначены для ориентирования вертикальных (горизонтальных) осей геодезических приборов относительно отвесной линии. Уровни могут служить также для измерения малых вертикальных углов.
Основными частями уровня являются: ампула, наполненная жидкостью, оправа для предохранения ампулы и для ее установки на приборе. В зависимости от формы ампулы уровни бывают круглые и цилиндрические. Внутренняя часть ампулы круглого уровня имеет сферическую поверхность. Осью круглого уровня является радиус сферической поверхности, проходящей через нульпункт. Ампулы цилиндрического уровня изготавливают из молибденового стекла. Оно имеет большую твердость, меньшую шероховатость шлифованной поверхности, в меньшей степени адсорбирует газы. Все это значительно снижает возможность образования на внутренней поверхности ампулы твердых налетов перекисных соединений.
Наполнителем для ампул высокой и средней точности является эфир этиловый наркозный или его смесь с этиловым ректификованным спиртом (в количестве от 10 до 50%), а для ампул низкой точности τ=5÷10' – спирт этиловый.
После заполнения горячей жидкостью ампула запаивается, при остывании объем ее уменьшается и остается пузырек с парами жидкости. Обычно пузырек составляет 0,3÷0,4 длины ампулы при t=20ºC. Внутренняя поверхность ампулы шлифуется по радиусу. Проведем нормаль к внутренней поверхности цилиндрической ампулы в центре среднего штриха, (штрихи наносят обычно через 2 мм) в точке N. Точка N называется нульпунктом уровня. Осью уровня называется касательная к внутренней поверхности ампулы в нульпункте. При симметричном расположении пузырька уровня относительно нульпункта ось цилиндрического уровня занимает горизонтальное положение. Угол, на который надо наклонить ампулу, чтобы пузырек уровня переместился на одно деление называется τ ценой деления уровня.
где ℓ=2мм.
При цене деления уровня τ=20" радиус кривизны ампулы должен быть
м.
К ампуле уровня предъявляются следующие требования:
1. Ампула уровня должна иметь цену деления, соответствующую номинальному значению, с допуском, определяемым ГОСТ 2386-73. В таблице представлен ряд значений цены делений ампул с допускаемыми отклонениями.
| Номинальная цена деления | Предельное значение средней цены деления | Номинальная цена деления | Предельное значение средней цены деления | ||
| от | до | от | до | ||
| 10' 45" | 8' 40" | 12' 50" | 20" | 18" 13,5 | 22" 16,5 |
2. Радиус кривизны рабочей поверхности ампулы должен быть постоянным по всей ее длине.
Постоянство радиуса кривизны по всей длине ампулы достигается при изготовлении и должно сохраняться в течение всего времени эксплуатации. На радиус кривизны влияют температурные изменения, деформирующие ампулу; изменение может произойти в результате «старения» ампулы, то есть из-за снятия внутренних напряжений, возникающих во время изготовления ампулы.
3. Чувствительность уровня должна быть не более 0,1 от цены деления по всей рабочей длине ампулы.
Чувствительность зависит от качества шлифовки внутренней поверхности ампулы, свойств наполнителя, длины пузырька. Она изменяется также, причем неравномерно, при одностороннем нагреве ампулы, ее деформации, при изменении состояния внутренней поверхности со временем.
В уровнях, применяемых в геодезических приборах, используются ампулы: цилиндрические простые (АЦП), компенсированные (АЦК), регулируемые (АЦР).
Ампулы типа АЦП выполняются с τ=10÷90". Диаметр таких ампул колеблется в пределах от 7,5 до 14 мм, а длина – от 23 до 84 мм.
|
|
|
Ампулы типа АЦК выполняются с τ=4÷40". Диаметр ампул колеблется от 11 до 14 мм, а длина – от 72 до 124 мм. Внутри ампулы помещена стеклянная компенсационная палочка, диаметр которой приблизительно равен половине наружного диаметра ампулы, а длина – незначительно короче ампулы. Назначение компенсационной палочки – уменьшить объем жидкости с целью уменьшения температурных изменений длины пузырька.
Цилиндрические камерные ампулы (АЦР) с регулируемой длиной пузырька имеют в конце ампулы неполную стеклянную перегородку, образующую камеру. В камеру, наклоняя ампулу, перемещают часть пузырька, регулируя, таким образом, его длину.
Ампула уровня должна быть закреплена в своей оправе неподвижно.

Рис. 28. Конструкции уровней
Конструкция юстировочного устройства должна гарантировать неизменность положения оси уровня во время измерений и при переносе прибора с одной точки на другую.
Наиболее простой способ закрепления ампулы в оправе – заливка гипсом (для уровня с ценой более 30"). Для уровней с τ<20" применяют конструкцию «плавающего» соединения ампулы с оправой. На ампулу одевают с двух концов колпачки с тремя сферическими выдувками из тонкой латуни или алюминиевого сплава, закрепленные на ней лаком или глетоглицериновым клеем. Колпачки плотно прижимают ампулу к оправе.
Один конец оправы соединяется с корпусом шарнирно, а второй – хвостовик связан с корпусом через юстировочные винты или через рычажное устройство. Шарнир может быть сферическим, на центрах или полужестким, в котором гибким элементом служит сам корпус уровня. В случае применения сферического шарнира вводится элемент, который устраняет зазор в шарнире. В теодолите Т30 таким элементом является регулировочная гайка.
С целью увеличения точности и удобства установки пузырька уровня в нульпункт широко применяется контактный уровень (рис.), который снабжается специальным оптическим центром, включающим блок призм – сфероидов с системой дополнительных призм и микрообъективов для наблюдения за изображением противоположных концов пузырька ампулы уровня. Контактные уровни при одной и той же цене деления уровня позволяют с большей точностью установить пузырек уровня в нульпункт, чем обычные, так как взаимное расхождение двух концов пузырька уровня хорошо заметно.
|
|
|
Ошибка установки визирной оси в горизонтальное положение с помощью контактного уровня, может быть вычислена по формуле профессора Чеботарева.

В зрительных трубах нивелиров концы пузырька уровня рассматриваются под увеличением, тогда 
Увеличение β выбирается так, чтобы второй член формулы был меньше первого не более чем в три раза: 
Кроме жидкостных уровней в настоящее время все более широкое применение находят электронные уровни. Принцип их работы может быть основан на изменении индуктивности L1 и L2 катушек К1 и К2 выполненных на ферритовых сердечниках, при изменении их положения относительно маятника, подвешенного в зазоре между катушками индуктивности.
Катушки индуктивности включены в мостовую схему. При равенстве индуктивности ток в диагонали моста становится равным 0. К другой диагонали подводится переменное напряжение. Наклон основания, на котором укреплен уровень, отсчитывают по шкале микроамперметра. Электронные уровни могут быть очень точными (0,1"), если их электронные схемы выполнены по принципу мостовых схем. Однако на их точность оказывают влияние изменение влажности, температура и другие факторы. Это относится и к жидкостным уровням.
Исследование уровней производится с целью определения цены деления, чувствительности и качества, правильности шлифовки внутренней поверхности. Наиболее точно τ можно определить на специальных приборах – экзаменаторах (рис. 29). Принципиальное устройство экзаменаторов простое: на станине, снабженной тремя подъемными винтами и горизонтальной осью, установлен уровень и пластина, которую можно наклонять с помощью наводящего устройства, а величину наклона фиксировать по лимбу, каждое деление которого соответствует малому углу наклона, например, 1÷5". В экзаменаторе пластину наклоняют с помощью высокоточного винта, а угол наклона фиксируют по показаниям оптиметра.
Исследуемый уровень располагается на пластине; определив величину перемещения n пузырька уровня по делениям на ампуле и, измерив угол наклона пластины γ=(a2-a1), легко подсчитать цену деления уровня:
где a2 и a1 – отсчеты по лимбу экзаменатора; μ – цена одного деления лимба; n – величина перемещения пузырька в делениях уровня.
В полевых условиях τ нивелира определяют по рейке. При этом делают два отсчета по уровню при двух положениях пузырька и соответствующие отсчеты по рейке (ℓ1 и ℓ2); зная расстояние S до рейки, величину τ вычисляют по формуле:
где n – число делений, на которое сместился пузырек уровня при наклоне визирной оси нивелира.
Цена деления уровня при алидаде вертикального круга теодолита может быть определена по отсчетам по вертикальному кругу.
Чувствительность уровней – важная характеристика, которая определяется наименьшим углом, на который надо наклонить уровень, чтобы пузырек получил смещение, заметное на глаз. Она зависит от τ, качества обработки внутренней поверхности ампулы, вязкости наполнителя и длины пузырька.
Экзаменатор























































































4 5
3 6
1 8
Рис. 29. Экзаменатор:
1 – станина; 2 – уровень; 3 – горизонтальная ось;
4 – исследуемый уровень; 5 – наводящее устройство; 6 – лимб;
7 – пластина; 8 – подъемные винты.
В настоящее время широкое применение находят геодезические приборы (нивелиры, теодолиты и др.), в которых уровень заменяется автоматическим устройством – компенсатором наклона визирной оси, или «регулятором» положения визирной оси. Нивелир снабжается только круглым уровнем для грубого приведения визирной оси в горизонтальное положение, горизонтальность линии визирования обеспечивается с необходимой точностью автоматическим компенсатором наклона. Компенсаторы наклона позволяют повысить точность и производительность труда, дают возможность работать на неустойчивых грунтах. Сущность работы компенсатора заключается в следующем.












а


А
С0
f
б
![]() | |||
![]() | |||
А







γ С1



В β







S










f С0
в

В S С1

γ β


С0






f
Рис. 30. Сущность работы компенсатора
При горизонтальном положении визирной оси трубы по средней нити сетки производят правильный отсчет А (рис. 30), соответствующий горизонту инструмента. При наклоне зрительной трубы на угол γ горизонтальный луч, соответствующий отсчету А, смещается вверх или вниз относительно средней нити сетки на величину С0С1=∆=f∙sinγ≈f∙γ/ρ". Для того, чтобы отсчет А по средней нити сетки не изменялся, нужно либо изменить положение сетки нитей из положения С0 в С1 (механический компенсатор, рис.30, б), либо изменить направление горизонтального луча, соответствующего отсчету А так, чтобы этот луч снова попал на среднюю нить сетки (оптико-механический компенсатор, рис. 30, в).
Смещение сетки нитей или изменение положения визирного луча осуществляется с помощью расположенного в точке В специального устройства – компенсатора наклона зрительной трубы на величину ∆=S∙sinβ. Отсюда следует основное уравнение компенсации
f∙sinγ=S∙sinβ. (1)
Существует еще одна группа компенсаторов – жидкостные, основанные на свойстве поверхности жидкости под действием силы тяжести устанавливаться нормально к отвесной линии. В геодезических приборах жидкостные компенсаторы применяют редко. Они действуют также по схеме оптико-механических компенсаторов. Угол β отклонения луча и местоположение точки В рассчитываются таким образом, чтобы удовлетворялось основное уравнение компенсации. Отношение f/S=β/γ=n называется угловым увеличением компенсатора. Для того, чтобы геометрические размеры компенсатора были невелики, точку В стремятся расположить внутри зрительной трубы (n≥1).
Компенсаторы наклона содержат подвижный элемент, находящийся в определенном положении под действием силы тяжести, неподвижный оптический элемент (например, отклоняющую призму) и демпфирующее устройство (демпфер) воздушного или магнитного типа. Жидкостные демпферы не используются в нивелирах с компенсатором.
В геодезии наиболее широко применяются оптико-механические компенсаторы маятникового типа, которые, в свою очередь, подразделяются на линзовые, зеркальные, призменные. В мире выпущено более 70 типов компенсаторов, поэтому вышеприведенное разделение на виды весьма условно.
Все компенсаторы можно сгруппировать в соответствии с их расположением в нивелире:
-с компенсатором перед объективом – НСМ2А (СССР);
-с подвижным объективом или сеткой нитей – Сальмойраш 5172 и 5173 (Италия);
-с компенсатором между основным и фокусирующим компонентами телеобъектива – Ni-002 (ГДР), Ni-А31 (ВНР), Никон (Япония) и др.;
-с компенсатором между фокусирующей линзой и сеткой нитей – Ni-025, Ni-007 (ГДР), Ni-В3 (ВНР), НС3 (СССР) и др.;
-с компенсатором, служащим фокусирующим компонентом – Н-10КЛ.
Механическим компенсатором является качающаяся сетка на трех металлических нитях, имеющая длину, равную f (f=S, n=1). Под действием силы тяжести перекрестие сетки нитей занимает такое положение, что визирная ось системы отвесна (нивелир 5190 фирмы «Филотехника Сальмораж», Италия).
Наиболее часто используются оптико-механические компенсаторы в виде свободно подвешенных зеркал, призм, линз. Если зеркало подвесить на маятнике так, чтобы оно составляло с горизонтальной плоскостью всегда одинаковый угол, то его можно использовать в качестве компенсатора, у которого f=2S, следовательно, n=2.
В ряде приборов, например, в нивелире завода «Аскания», подвешенное зеркало компенсатора располагается между объективом и сеткой нитей.
Наиболее широко в нивелирах применяются призменные компенсаторы. В частности, отечественный нивелир Н-3К (НС3) снабжен призменным компенсатором оптико-механического типа, обеспечивающим автоматическую компенсацию наклона зрительной трубы в пределах ±15'. Зрительная труба нивелира ломаная, ее оптическая схема приведена на рисунке.
Принцип действия оптико-механического компенсатора показан на рис. 31. Здесь: при горизонтальном положении визирная ось проходит через точку П на рейке, центр объектива (главную точку Н объектива) и перекрестие сетки нитей С. Однако, во время работы с прибором зрительная труба может наклониться на угол γ, поэтому отсчет П будет смещен относительно перекрестия сетки нитей и составит П1.
Компенсатор, установленный в точке К, приводит изображение точки П автоматически в перекрестие сетки нитей С,. При этом выполняется основное уравнение компенсации (1). Из геометрии видно, что:
f sin g = S sinb
![]() |
Рис. 31. Схема оптико-механического компенсатора
При расчетах схем компенсаторов, из-за малого значения углов g и b, используют уравнение вида:
| (2) |
¦g = Sb
Чтобы получить необходимый для компенсации угол b при наклоне зрительной трубы на угол g, в большинстве случаев используют маятниковые системы подвески компенсаторов, и которых оптическая деталь (призма, зеркало или линза) подвешена или на тонких бериллиевых нитях, модуль нормальной упругости которых равен 31000 кг/мм2, или на плоской пружине (как в нивелирах НИК-2 и НИК-2М).
И настоящее время известны схемы нитяных подвесок компенсаторов, изображенные на рис. 32. На схемах приведен коэффициент механической компенсации Км = b/g.
В общем случае для схем подвесок, приведенных на рис. 32, получена приближенная формула для расчета Км в зависимости от геометрических размеров подвески и положения цетра тяжести:
Км= 4ab 2c/4b 2c 2+c(a-c)3+4hL(a-c)2, (3)
где а = АВ, с=СД, в =АД=ВС – для подвесок на параллельных нитях и виде трапеции, в= АС= ДВ – для подвесок на скрещивающихся нитях; h - расстояние между основанием СД подвески и корпусом АВ,
(4)
L - расстояние от центра тяжести подвешенной части до основания СД (положительно, если центр тяжести находится ниже основания СД, отрицательно, если центр тяжести выше основания СД). Знак " + " в формуле (2) соответствует подвескам на параллельных нитях, знак " - " – подвескам на скрещивающихся нитях.
|
а б

в г
В В
е


Рис. 32. Схемы нитяных подвесок компенсаторов:
а, в, г - обратный шарнирный четырехугольник;
б, д, е - прямой шарнирный четырехугольник
В соответствии с уравнением (1) работает и схема с жидкостным компенсатором, приведенная на рис. 33.

Рис. 33. Принципиальная схема работы жидкостного компенсатора:
1,3 - призмы АР-90"; 2 - кювета с жидкостью, содержащей 1,4-1,8%
этилового спирта и 98,6-98,2% бензилацетата
Преимущество схемы состоит в том, что она может стабилизировать ось в пространстве сразу по двум координатам. Жидкостной компенсатор используют в лазерных нивелирах, приборах вертикального проектирования и электронных тахеометрах.
Рассмотрим принципиальную схему с линзовым компенсатором (рис. 34).
Компенсатор представляет собой положительную 2 и отрицательную 1 линзы. Линза 1 жестко скреплена со штангой 3, подвешенной на нитях. Линза 2 закреплена в оправе объектива.

Рис.34. Принципиальная схема с линзовым компенсатором
Линзы компенсатора имеют фокусные расстояния, отличающиеся между собой на значение зазора между ними, что позволяет не нарушать телескопичность зрительной трубы при смещении отрицательной линзы компенсатора.
Уравнение компенсации для этой схемы имеет вид:
¦/ l =a/b=KK’=Kм (5)
где f - фокусное расстояние объектива; а = АВ - расстояние между точками закрепления нитей к трубе; b= ED - расстояние между точками закрепления к рычагу 3; l - расстояние от главной точки подвижной линзы компенсатора до середины между точками Е и Д крепления нитей к рычагу 3; K' - постоянный коэффициент, зависящий от упругости нитей, нагрузки на них и положения центра тяжести нагрузки; Км = b/g= 2,3 -коэффициент механической компенсации.
Схема с линзовым компенсатором использована в нивелире НСМ-2А.
На рис. 35 приведена принципиальная схема нивелира Ni-007 предприятия "Карл Цейс" с компенсатором маятникового типа. Умножительная призма 5 при наклоне зрительной трубы на угол g смещает визирный луч на значение D = ¦g, уравнение компенсации для данного компенсатора имеет вид:
l=¦’/2, (6)
где l - длина маятника.

Рис. 35. Принципиальная схема нивелира Ni-007:
1 - пентапризма; 2 - объектив; 3 - фокусирующая линза; 4 - призма-крыша
(служит для получения прямого изображения); 5 - призма БР-180";
6 - маятник; 7 - сетка нитей; 8 - окуляр; 9 - защитное стекло.
Оптическая схема отсчитывания по лимбу не показана
Диапазон работы такого компенсатора порядка ±10'. Поворачиваемая пентапризма 1 служит оптическим микрометром.
На рис. 36 показаны принципиальная схема и принцип работы призменного компенсатора, подвешенного на бериллиевых нитях

Рис. 36. Принципиальная схема (а) и схема действия (б)
призменного компенсатора:
1 - объектив; 2 - фокусирующая линза; 3 - призма-компенсатор;
4 - бериллиевые нити; 5 - призма АР-90°; 6 - сетка нитей; 7 - окуляр;
8 - воздушный демпфер
Эту схему используют в точных нивелирах типа Н-3К. Здесь Км < -1. При наклоне зрительной трубы на угол g перекрестие сетки нитей С смещается в положение С1. Компенсатор сдвигает изображение правильного отсчета П в новое положение перекрестия сетки нитей на значение
D = D1 + D2 (7)
Полагают, что, из-за малости угла наклона g, изменение расстояний l и S мало, и записывают уравнение компенсации в виде:
¦’g =2 l KMg + 2Sa(KM+1)
или
KM = ¦-2S/2(l+S)
Задаваясь значениями ¦, S и l, вычисляют геометрические размеры подвески компенсатора. Для нивелира Н-ЗК значения Км = 2,62:/: 3,143. При сборке прибора изменяют значение S до тех пор, пока погрешность компенсации не будет минимальна.
На этом принципе разработаны схемы нивелиров 3Н-3КЛ (рис. 37) и 4Н-2КЛ (рис. 38).

Рис. 37. Принципиальная оптико-механическая схема нивелира 3Н-3КЛ:
1 - объектив; 2 - фокусирующая линза; 3 - призма-компенсатор АР-60";4 - призма БкУ-60°; 5 - сетка нитей; 6 - окуляр; 7 — подвижные опоры;8 - бериллиевые нити; 9,15 – магнитоиндукционные демпфер (поз. 15 одновременно выполняет роль балансира); 10 - грузики; 11 - стопорный винт; 12 - маятник; 13 - винт; 14 - прокладка
В нивелире 4Н-2КЛ (см. рис. 38) световой поток через клин 1 (служит для исправления главного условия нивелира) попадает на объектив 2 и через него на плоское зеркало 3 (компенсатор), изображение предмета получают в плоскости сетки нитей, выгравированной на плоской поверхности призмы 4, призма 4 приклеена к плоской поверхности линзы объектива 2. Изображение предмета рассматривается через микроскоп с увеличением 30х, состоящий из пентапризмы 5, микрообъектива 6, полевой диафрагмы 7 и окуляра 8. Фокусировку по предмету осуществляют перемещением оправы 12 вместе с компенсатором 3. Зеркало-компенсатор подвешено на нитях, при этом коэффициент механической компенсации выбирают в соответствии со схемой, приведенной на рис. 32, в. При совмещении главной плоскости объектива 2 с плоскостью сетки нитей может быть применена схема, приведенная на рис. 32, а. Для устранения систематической погрешности компенсации предусмотрена возможность регулировки зазора L (см. рис. 38).

Рис. 38. Принципиальная оптико-механическая схема нивелира 4Н-2КЛ:
1 - клин; 2 - объектив; 3 - плоское зеркало-компенсатор; 4 - призма АР-90° с сеткой нитей; 5 - пентапризма; 6 - микрообъектив; 7 - полевая диафрагма; 8 - окуляр; 9 - четыре бериллиевые нити; 10 - опоры; 11 - демпфер; 12 - подвижная оправа
На рис. 39 показан функциональный блок призменного маятникового типа компенсатора нивелира Н-ЗКЛ, на рис. 40 – ход лучей в его призмах.
|
Рис. 39. Функциональная схема блока компенсатора нивелира Н-ЗКЛ:
1 - призма АР-900 (расположена за призмой 2; показана на рис. 69); 2 – призма БР-180";3 - призма компенсатора БР-180°; 4 - призма АР-90°; 5 - маятник;6 - четыре бериллиевые нити; 7 - балансир для регулировки чувствительности компенсатора; 8 - корпус блока компенсатора; 9 - три регулировочных винта стакана 10 демпфера; 11 - регулировочный винт чашки,12 демпфера; 13 – ось ограничивающая маятник от разворотов в горизонтальной плоскости и обрыванитей; 14 - четыре отверстия крепления блока компенсатора к корпусу трубы;15 - кронштейн для крепления призмы 4; 16 - винт устранения систематической погрешности работы компенсатора; 17 - гайка балансира
Расчет компенсатора выполняют согласно уравнению (5).
Перемещение подвижной детали компенсатора, как в нивелире 4Н-2КЛ, автоматически исключает возможное при фокусировании колебание визирной оси.
В процессе измерений на нивелиры оказывают влияние вибрации почвы, ветер, перемещения наблюдателя и другие динамические нагрузки. Указанные факторы вызывают колебания чувствительного элемента компенсатора и затрудняют процесс измерений.

Рис. 40. Ход лучей в призменной системе компенсатора нивелира Н-ЗКЛ:
1,4- призмы АР-90"; 2 - призма БР-1800; 3 - призма БР-1800 (компенсатор)
ГОСТ 10528-76 регламентирует время затухания tK - продолжительность свободных колебаний или до полного успокоения чувствительного элемента, или до таких его амплитуд, которые не влияют на точность отсчитывания (не воспринимаются глазом наблюдателя).
Для геодезических приборов в основном используют три типа демпферов, гасящих колебания: воздушные (крыльчатые и поршневые (например, в нивелире Н-ЗКЛ)), жидкостные и магнитоиндукционные (например, в нивелире 4Н-2КЛ).
Ось 1 нивелира (рис. 41) с двух сторон опирается на закаленные полированные шайбы 2 и 4, плавность поворота ее во втулке 3 регулируют зажатием гайки 5. Для уменьшения силы трения во втулке 3 делают выборку 6. Доступ к осевой системе нивелира осуществляют после отделения подставки, вывинчивания стопорного винта гайки 5 и самой гайки, а также четырех винтов основания.

Рис.41. Осевая система нивелира Н-3КЛ
Для регулировки выполнения главного условия и углового смещения сетки нитей необходимо снять защитный колпачок, легко обхватив его и вращая против хода часовой стрелки.
Невыполнение главного условия в нивелире Н-ЗКЛ исправляют смещением сетки нитей в вертикальной плоскости двумя винтами, расположенными над и под оправой окуляра (в нивелире Н-ЗК с одной стороны оправа сетки нитей подпружинена). При этом для смещения сетки нитей, например, вниз необходимо ослабить нижний винт примерно на четверть оборота, затем довернуть верхний винт примерно на столько же, одновременно наблюдая за смещением изображения рейки с горизонтальной нити до правильного отсчета, вычисленного при выполнении поверки главного условия нивелира. По окончании юстировки оба винта должны быть затянуты и повторно выполнена поверка.
Смещение сетки нитей от отвесной линии исправляют разворотом оправы окуляра после ослабления четырех винтов крепления в пределах предусмотренных для этого пазов, например, по отвесу – по вертикальной нити, или по удаленной точке предмета – по смещению ее с горизонтальной нити (смещение должно быть не более чем три толщины нити).
Для юстировки чувствительности компенсатора снимают крышку, затем, придерживая отверткой балансир 7, вращают гайку 17 (см. рис. 39).
Для ремонта компенсатора необходимо снять заштифтованную крышку вместе с окуляром, вывинтив для этого соответствующие винты крепления крышки.
Исправление систематической погрешности работы компенсатора осуществляют ввинчиванием или вывинчиванием отверткой винта 16 (см. рис. 39), тем самым, изменяя расстояние S (см. рис. 31).
Корпус блока компенсатора 8 закреплен четырьмя винтами (два из них работают и как штифты – необходимо запомнить их расположение), вывинтив которые, можно снять блок компенсатора.
Призмы блока компенсатора 1, 2, 4 жестко связаны с корпусом 8 (призмы 1 и 4 приклеены, призма 2 закреплена через прокладку двумя винтами), смещая призму 2, изменяют соотношение между f’ и l.
Регулировку зазора между стаканом и чашкой демпфера осуществляют, ослабив регулировочный винт 11.
Неисправность наводящего винта, как правило, возникает после ослабления закрепительного винта в рукоятке, что, как следствие, приводит к выталкиванию винта и смещению подпружиненной полугайки.
Ремонт наводящего винта и горизонтального круга осуществляют, вывинтив четыре винта крепления основания нивелира.
В нивелире Н-3КЛ определенную сложность вызывает замена и регулировка положения круглого уровня, закрепленного через толстую прокладку тремя винтами. Регулировка может быть выполнена одновременно с исследованием диапазона работы компенсатора в двух взаимно перпендикулярных плоскостях. При этом середина диапазона работы компенсатора должна соответствовать нулевому положению пузырька круглого уровня. Пузырек круглого уровня приводится в нулевое (верхнее) положение тремя исправительными (закрепительными) винтами.


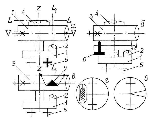
Рис. 42. Типы нивелиров:
а – 1 подставка, 2 круглый уровень, 3 зрительная труба, 4 цилиндрический уровень. 5 подъемный винт; б – 1 подставка, 2 круглый уровень, 3 зрительная труба, 4 цилиндрический уровень, 5 подъемный винт. 6 элевационный винт; в – 1подставка, 2 круглый уровень, 3 зрительная труба, 5 подъемный винт, 7 компенсатор









