Схема пуска
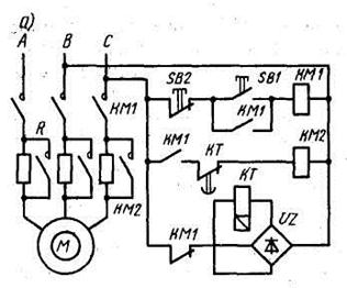
Схема автоматического пуска асинхронного электродвигателя в функции времени
через пусковые резисторы приведена на рис. 121.

Рис. 121. Схема автоматического пуска асинхронного электродвигателя в функции времени через пусковые резисторы
На рис. 121 приняты такие обозначения:
1. А, В, С – линейные провода;
2. КМ1.1…КМ1.3 – главные контакты линейного контактора КМ1;
3. R
- пусковые резисторы (3 шт., по одному в каждом линейном проводе);
4. SB1, SB2 – кнопки соответственно «Пуск» и «Стоп»;
5. КМ1 – линейный контактор;
6. КМ2 – контактор ускорения;
7. КТ – электромагнитное реле времени (с демпфером);
8. UZ – выпрямительный мостик (мостик Греца).
Для подготовки схемы к работе подают питание на линейные провода А, В, С.
При этом переменное напряжение от фаз В и С поступает на вход выпрямительного
мостика UZ по цепи:
провод С – размыкающий контакт КМ1.6 линейного контактора – левый вывод мо
стика – правый вывод мостика – провод В.
На выходе мостика появляется выпрямленное напряжение с полярностью: «плюс»
на верхнем выводе, «минус» на нижнем, вследствие чего через катушку КТ потечет ток по цепи - «плюс» на мостике – катушка КТ - «минус» на мостике.
Реле КТ включается и мгновенно размыкает контакт КТ1 в цепи катушки контакто-
ра ускорения КМ2.
Таким образом, в исходном состоянии включено только реле времени КТ.






