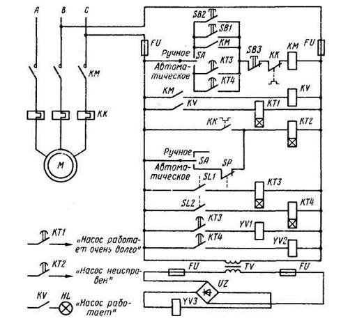
Принципиальная схема управления электроприводом осушительного насоса
Основные сведения
Осушительные насосы предназначены для удаления воды, стекающей в осушитель
ные колодцы машинного отделения с деки – металлической палубы, расположенной выше второго дна.
Вода на деку попадает в результате конденсации нагретого воздуха машинного от-
деления при его соприкосновении с холодными бортами, а также в результате утечек забортной и пресной воды из трубопроводов различных судовых систем – балластной, охлаждения главного и вспомогательных двигателей и т.п.
Таким образом, осушительные колодцы не дают стекающей на деку воде свободно
перемещаться по деке и вызывать опасный крен судна.
В машинном отделении любого судна таких колодцев – 4, по 2 в носу и корме. Такое расположение обеспечивает накопление воды в колодцах при любом положении корпуса судна, например, при крене на любой из бортов или дифференте (наклоне) на нос или на корму.

Рис. 11.5. Принципиальная схема автоматического управления электроприводом осушительного насоса
Элементы схемы
В силовой части схемы показаны:
1. А, В, С – питающие провода;
2. КМ – главные контакты линейного контактора КМ;
3. КК – нагревательные элементы теплового реле, предназначенного для защиты электродвигателя насоса от токов перегрузки;
4. М – асинхронный электродвигатель с короткозамкнутым ротором.
В схеме управления показаны:
1. переключатель видов управления SA, имеет 2 контакта и может занимать одно из
3-х положений: «выключено» (как на схеме), при котором работа насоса невозможна;
«ручное управление», при котором оба контакта переключаются в верхнее положение; «автоматическое управление», оба контакта переключаются в нижнее положение;
2. кнопки SB1 и SB2 «Пуск», для ручного пуска насоса с двух постов (один пост
рядом с насосом в машинном отделении, второй – в коридоре вне шахты машинного отделения – используется для пуска, если нельзя попасть в машинное отделение, напри
мер, при пожаре);
3. кнопка SB3 «Стоп» в машинном отделении для остановки насоса;
4. SL1, SL2 – контакты реле уровня воды в колодцах; замыкаются при повышении уровня воды в колодце;
5. YV1, YV2 – катушки электромагнитных клапанов на всасывании из колодца ЛБ и ПБ;
6. YV3 – катушка электромагнитного клапана на сливе;
7. SP – контакты реле давления; при нормальном давлении воды на сливе разомкнуты,
при понижении давления до минимально допустимого замыкаются;
8. TV – понижающий трансформатор, для питания катушки сливного клапана YV3;
9. UZ – выпрямительный мостик, для получения постоянного тока катушки YV3;
10. KV – промежуточное реле для сигнализации о том, что насос работает и для включения реле времени КТ1;
11. КТ1 – реле времени с таймером, выдержка времени – 50 мин, для сигнализации о том, что насос работает дольше 50 мин;
12. КТ2 - реле времени с таймером, выдержка времени – 5-8 с, для сигнализации об
отключении насоса тепловым реле КК или о недопустимом снижении давления воды на сливе;
13. КТ3, КТ4 – реле времени с таймером, выдержка времени – 6-8 с, для исключения
ложных включений насоса при кратковременном повышении воды в колодцах, напри
мер, при качке;
14. FU – предохранители, для защиты цепей управления от токов короткого замыкания.
Для подготовки схемы к работе:
1. устанавливают переключатель видов управления SA в положение «ручное» или
«автоматическое»;
2. включают на распределительном щите автоматический выключатель (на схеме не
показан), при этом на линейных проводах А, В, С появляется напряжение 380 В.
Это напряжение с линейных проводов В и С поступает на первичную обмотку тран
сформатора TV, вследствие чего на вторичной обмотке появляется пониженное напряже-
ние, которое выпрямляется мостиком UZ и подается на катушку сливного клапана YV3, последний открывается.
Из сказанного следует, что сливной клапан открывается с момента подачи питания
на схему и вне зависимости от режима работы насоса – «ручное» или «автоматическое».






