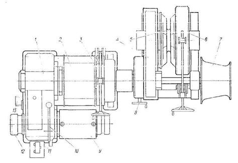
Якорно-швартовные лебедки представляют собой комбинированный механизм с общим электроприводом, избирательно работающим или на якорную звездочку, или на швартовный барабан (рис. 12.2)..
В некоторых случаях, учитывая технологию комплектации, такие устройства назы-
вают швартовными лебедками с якорной приставкой.
Лебедка имеет устройство измерения натяжения и может работать при удержании судна на швартовах в автоматическом режиме.

Рис. 12.2. Автоматическая швартовная лебедка с якорной приставкой:
1 - редуктор лебедки; 2 - грузовой барабан; 3 - ленточный тормоз; 4 – редуктор
привода якорной звездочки; 5 - якорная звездочка; 6 - ленточный тормоз звездо
чки; 7 - швартовный турачек; 8 - привод расцепления якорной звездочки; 9 - элек
тродвигатель; 10 - переключатель редуктора для работы на барабан или турачек;
11- командо-аппарат измерителя натяжения; 12 - муфта ускоренного хода; 13 - аппарат контроля предельной длины вытравленного каната