Автоматизированные устройства включения резерва типа УВР предназначены для выдачи сигналов в следующих случаях: при увеличении нагрузки на базовом генераторе до (0,85-0,90)Рном (по сигналу устройства происходит пуск резервного ГА с последующим включением резервного СГ на шины); при уменьшении нагрузки на каждом из параллельно работающих генераторов до (0.3+0,4)РНОМ (включаются световая и звуковая сигнализации, а решение об отключении резервного генератора принимает оператор). Таким образом, применение подобных устройств обеспечивает практически бесперебойное и экономичное производство электроэнергии на судах.
Конструктивно устройства могут выполняться в виде отдельного унифицированного устройства (например УВР-1) или входить в состав устройств с расширенными функциональными возможностями (БКЗГ).
Блок контроля загрузки генераторов БКЗГ.
Предназначен для формирования сигналов при увеличении (уменьшении) активной мощности генератора до заданного значения на вход блока БКЗГ подается напряжение с выхода первого канала блока БИАТ. Этот вход образован параллельно
|
|
|

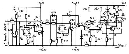
Рисунок 17 - Принципиальная схема канала контроля загрузки генератора с уставкой 0,9
включенными входами шести каналов контроля загрузки генератора: первый из каналов срабатывает при снижении активной мощности генератора до 0,ЗРН остальные - при повышении активной мощности до 0,7; 0,7 (0,8); 0,9 (1,0); 1,0 (1,1) и 1,3 (1,5)Рном.
Рассмотрим работу канала повышения нагрузки до 0,9 (1,0)РНОМ (рисунок 17). Канал построен на интегральных операционных усилителях DA1 и DA2 типа К1УТ401Б и транзисторной матрице DD1 типа К1НТ251. Каждый ОУ имеет два входа 9 и 10 и один выход 5. Входы ОУ, обозначенные знаками "+" и "-", называются соответственно прямым (10) и инвертирующим (9). Если напряжение сигнала поступает на прямой вход, то полярность (фаза) напряжений на входе и выходе ОУ совпадает. При использовании инвертирующего входа полярность (фаза) напряжений на входе и выходе противоположна. Чтобы выходное напряжение ОУ могло иметь ту или иную полярность (фазу), в схеме предусмотрены 2- источника питания: с, положительным +12,6 В и отрицательным -12,6 В напряжениями относительно заземленной общей точки схемы. Транзисторная матрица DD1 использована для построения триггера Шмитта на транзисторах VT1, VT2 и выходного усилителя на транзисторе VT3, в цепь коллектора которого включено реле напряжения KV4.
Принцип действия канала основан на сравнении двух напряжений: входного Uвх, пропорционального активной мощности генератора, и опорного Uon, задающего уставку канала по активной мощности. Для получения указанных напряжений в схеме использованы делители напряжения R7, R14 и Rl, R15, R20 при уставке 0,9 РНОМ, а также R1, R16, R20 при уставке 1,0 РНОМ. Выбор уставки проводят путем установки переключателя SA3 в соответствующее положение. Напряжения Uвх и Uon имеют одинаковую - положительную - относительно корпуса полярность. Поэтому между входами 9 к 10 усилителя DA1 приложено так называемое дифференциальное напряжение: D U = Uвх - Uon.
|
|
|
При активной мощности генератора, меньшей 0,9Рном, напряжение Uвх< Uon. Поскольку из этих напряжений большее приложено к прямому входу 10, полярность напряжения на выходе усилителя DA1 повторяет полярность напряжения Uon, т. е. на выводе 5 имеется положительный потенциал относительно корпуса. Напряжение с выхода усилителя DA1 при помощи делителя напряжения R31, R35 и цепочек VD14-R45K VD22 (VD18)-R49 последовательно уменьшается до необходимого значения на входе усилителя DA2. Протекающий при этом через R31, VD14, VD22 и R49 ток создает на VD22 небольшое прямое падение напряжения, приложенное «плюсом» к инвертирующему 9 и «минусом» к прямому 10 входам. Таким образом, полярность напряжения на входе усилителя DA2 противоположна полярности напряжения на входе усилителя DA1. Поэтому на выходе 5 усилителя DA2 имеется отрицательный потенциал. Через R85, VD80 и R53 протекает ток, создающий на R85 и VD80 падение напряжения, запирающее транзистор VТ1. Триггер Шмитта находится в исходном состоянии, напряжение на выходе открытого VT2 невелико и недостаточно для пробоя стабилитрона VD26. Поэтому закрыт транзистор VT3, реле KV4 обесточено. Конденсатор С4 через R31 и VD14 заряжен до напряжения 12 В (полярность обозначена на схеме) с момента подачи напряжений питания на схему блока.
При увеличении мощности генератора более 0,9Рном напряжение Uвх > Uon, поэтому полярность напряжения DU на входе усилителя DA1 изменится на обратную, а на выходе устанавливается отрицательный потенциал. Ток, протекающий через R49, VD18, R41, R31, создает на диоде VD18 прямое падение напряжения, приложенное плюсом к входу 10 и минусом к входу 9 усилителя DA2. Вследствие этого на выходе усилителя DA2 устанавливается положительный потенциал, и через R53, переход база - эмиттер транзистора VT1, R89 потечет ток базы транзистора VT1. Последний откроется, закроется VT2, напряжение на выходе которого увеличится до 12 В. Поэтому пробивается стабилитрон VD26, через него и резисторы R73, R77 потечет ток. Возникающее при этом падение напряжения на R77 отпирает транзистор VT3. Включается реле KV4, выдающее сигнал в систему «Роса-М» на пуск резервного ГА. Одновременно загорается светодиод VD30 «90%».
Конденсатор С4 исключает ложное включение реле KV4 при кратковременном увеличении мощности более 0,9Рном. В этом случае «опрокидывание» усилителя DA1 происходит мгновенно, вследствие чего начинается разряд С4 через R41-R35 и одновременно через R22, R49, VD80, R53. Разрядный ток конденсатора С4 в течение 2,0-2,4 с удерживает на диоде VD22 напряжение, препятствующее «опрокидыванию» усилителя DA2. Необходимую уставку времени получают изменением номинального сопротивления резистора R41.
Для проверки исправности канала служит переключатель SA2 с двумя положениями – «Работа» и «Проверка». На схеме состояние контактов переключателя SA2 соответствует положению «Работа». В положении «Проверка» через контакты 1, 5 переключателя SA2 образуется цепь делителя напряжения R3, R14, при помощи которой на R14 получают напряжение Uвх > Uon. Тем самым имитируется увеличение активной нагрузки генератора до 0,9Рном. Размыкающие контакты 2, 4 переключателя SA2 отключают реле KV4. Если канал исправен, загорается светодиод VD30.
Схема канала контроля понижения мощности до 0,ЗРном построена на аналогичных элементах, но имеет обратный порядок срабатывания. При этом включается звуковой сигнал и загорается световое табло «Нагрузка 30 % номинальной».
|
|
|