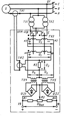
Предназначен для получения на его выходе напряжения, пропорционального активной мощности СГ. Датчик устанавливают на каждом генераторе и подключают при помощи трансформаторов напряжения TV1, TV2 и трансформатора тока ТА1. В состав датчика входят тороидальные трансформаторы напряжения ТVЗ, TV4, TV5, согласующий трансформатор тока ТА2, выпрямители UZ1, UZ2 и резисторы R1-R4.

Рисунок12 - Принципиальная схема датчика активного тока УРМ-35Д

Рисунок 13 - Векторные диаграммы напряжений:
а — синхронного генератора; б — на входе трансформатора TV3 датчика активного тока; в, г, д — на выходе датчика активного тока соответственно при активной, активно-индуктивной и индуктивной нагрузках
Трансформатор TV3 состоит из двух тороидальных магнитопроводов с первичными обмотками, включенными через понижающие трансформаторы TV1, TV2 на линейные напряжения
и
генератора. Магнитопроводы охвачены вторичными обмотками с выводами н1-к1 и н2-к2, соединенными последовательно-согласно для получения напряжения
, совпадающего по фазе с напряжением фазы А. При этом напряжения
и
на указанных вторичных обмотках одинаковы (
) и приложены к первичным обмоткам трансформаторов TV4 и TV5. Трансформатор тока ТА2 подключен к выводам вторичной обмотки трансформатора тока ТА1 фазы А. Поэтому напряжение U3 на резисторе R2 совпадает по фазе с током фазы А.
|
|
|
При холостом ходе
, поэтому к первичным обмоткам трансформаторов TV4 и TV5 приложены одинаковые напряжения:
и
. Вторичные напряжения этих трансформаторов одинаковы и после выпрямления компенсируют одно другое на выходе датчика, т.е. Uвых=0.
При активной нагрузке напряжения
,
и
в один полупериод переменного тока имеют полярность, обозначенную на схеме. При этом напряжения
и
совпадают по фазе, а напряжения
и
противоположны по фазе. В результате напряжение на первичной обмотке трансформатора TV4 увеличится до значения
, а на первичной обмотке трансформатора TV5 уменьшится до
. На выходе датчика появится напряжение Uвых=0.> 0.
По мере увеличения угла φ сдвига тока нагрузки относительно напряжения разница между напряжениями
и
уменьшается и при индуктивной нагрузке (φ = 90°) эти напряжения становятся одинаковыми. В последнем случае Uвых=0.
Таким образом, напряжение на выходе датчика имеет наибольшее значение при активной нагрузке и равно нулю при индуктивной нагрузке.
При параллельной работе СГ выходы датчиков соединяют посредством вспомогательных контактов генераторных АВ. Например, при включении на параллельную работу базового СГ1 и резервного СГ2 генераторов замыкаются вспомогательные контакты К1 и К2, образуя последовательную цепь, в которой выходные напряжения Uвых1 и Uвых2 датчиков направлены встречно и при одинаковой активной нагрузке генераторов взаимно компенсируются. Напряжение рассогласования DU = Uвых1 - Uвых2 = 0. При неодинаковых активных нагрузках на выходе цепи возникает напряжение DU определенной полярности, которое подается на вход блока УРМ-35Ф.
|
|
|