где y1 и у2— размеры объекта и изображения соответственно;
θ1 и θ2 — апертурные углы;
n1 и n2 — показатели преломления двух сред.
Для электронно-оптической системы границей раздела двух сред служит эквипотенциальная поверхность, приближающаяся в практических системах к сферической. В выражение (5.24) вместо оптических показателей преломления нужно подставить скорости электронов в двух средах или же эквивалентные им значения потенциалов:
(5.25)
Для уменьшения размера изображения следует увеличивать угловое увеличение M0=θ2/θ1, уменьшать размер объекта y1 и соотношение скоростей электронов до и после оптической системы. При использовании оптической системы с одной линзой выполнение этих условий встречает очень серьезные затруднения. Объектом в такой системе является эмиттирующая поверхность катода. Уменьшение ее величины неизбежно будет сопровождаться снижением плотности тока, и размер изображения — пятна па экране трубки — будет зависеть от потенциала модулятора. Угол θ1 выхода электронов с поверхности катода определяется тепловыми скоростями электронов и не может быть значительно уменьшен. Поэтому в электроннолучевых трубках применяют фокусирующие системы из двух линз, где объектом для второй линзы служит скрещение
электронного пучка.
|
|
|
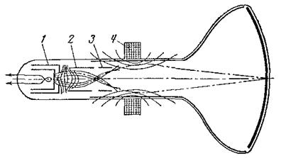
Электростатическая фокусирующая система. На рис.5.14 показаны электрическое поле, оптический эквивалент электронной фокусирующей системы и траектории движения электронов в электронной пушке простейшей конструкции. Система состоит из двух сложных линз, образованных неоднородными полями между модулятором и первым анодом, а также между первым и вторым анодами. Каждую из этих линз можно рассматривать как две простейшие линзы; двояковыпуклую собирающую линзу, образованную эквипотенциальными поверхностями, обращенными выпуклостью к катоду, и двояковогнутую линзу, образованную эквипотенциальными поверхностями, обращенными в другую сторону. Конфигурация полей выбрана такой, что преломляющее действие собирающей линзы больше преломляющего действия рассеивающей линзы. Кроме того, скорости движения электронов вследствие возрастания потенциала в поле рассеивающей линзы больше, чем в поле собирающей. Таким образом, каждая из сложных линз обладает собирательным действием и влияние рассеивающей
части линзы приводит лишь к увеличению фокусного расстояния всей системы. Фокусное расстояние второй системы линз с целью совмещения плоскости второго скрещения электронного луча с плоскостью экрана трубки можно регулировать, меняя преломляющую силу одной из линз системы. Это достигается изменением напряжений на первом или втором аноде трубки.
|
|
|

Рис.5.14. Траектории электронов (а), картина электрического поля (б) и оптический эквивалент электронных линз (в)
Обычно потенциал первого анода значительно ниже потенциала второго; в цепи последнего протекает больший ток, и поэтому регулировка напряжения на втором аноде более затруднительна. Однако при изменении напряжения на первом аноде меняются также преломляющая сила первой системы линз и поле у поверхности катода, что неизбежно приводит к изменению плотности тока луча. В свою очередь в процессе управления плотностью тока, т. е. при регулировании напряжения на модуляторе, нарушается фокусирование луча. Для устранения этого недостатка в электроннолучевых трубках применяются электронные пушки более сложных конструкций.
Типы электронных пушек. В пушке, изображенной на рис.5.15, а, между модулятором и первым анодом помещен ускоряющий электрод, находящийся под потенциалом второго анода. В этой пушке не только значительно уменьшается взаимное влияние регулировок плотности тока и фокусирования луча, но и улучшается фокусирование луча за счет уменьшения радиуса скрещения. На рис. 5.15, б изображена электронная пушка с нулевым током первого анода. Здесь, как и в пушке на рис. 5.15, а, первый анод, служащий для регулировки фокусирования луча, отделен от модулятора ускоряющим электродом. На первый анод с диафрагмой большого диаметра электроны почти не попадают, и ток в его цепи близок к нулю. Таким образом, при изменении потенциала первого анода не изменяется ток, потребляемый от выпрямителя, питающего все электроды трубки, и даже при использовании маломощного выпрямителя взаимное влияние потенциалов различных электродов отсутствует.

а — с ускоряющим электродом; б — с нулевым током первого анода.
Рис.5.15. Устройство электронных пушек.
Выбор той или иной конструкции электронной пушки, а также конструкции отдельных электродов определяется назначением электроннолучевой трубки, требованиями к качеству фокусирования луча, яркости свечения, допустимыми искажениями и т. п.
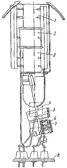
Магнитные фокусирующие системы. В электроннолучевых трубках с магнитной фокусировкой луча в качестве второй линзы используется неоднородное магнитное поле короткой катушки. Устройство пушки с магнитной линзой показано на рис.5.16.

1— модулятор; 2 — экранирующий электрод; 3 — первый анод; 4 — фокусирующая катушка.
Рис.5.16. Устройство пушки с магнитной линзой.
Для уменьшения влияния потенциала первого анода на потенциал запирания между модулятором и первым анодом включен экранирующий электрод, находящийся обычно под потенциалом в несколько сотен вольт. Первая линза образуется неоднородным электростатическим полем между модулятором и экранирующим электродом. Траектории электронов в этой части, электронной пушки такие же, как и в трубке с электростатической фокусировкой. Скрещение траекторий электронов служит объектом для второй — магнитной линзы, образованной неоднородным магнитным полем короткой катушки, надеваемой снаружи на горловину трубки. При прохождении параксиальных электронов через магнитное поле они подвергаются воздействию сил, отклоняющих электрон к оси и закручивающих его траекторию вокруг оси трубки. Регулируя ток, протекающий по фокусирующей катушке, и, меняя, таким образом, напряженность магнитного поля, можно добиться пересечения траекторий электронов с осью трубки в плоскости экрана. Согласно (5.21) главное фокусное расстояние обратно пропорционально квадрату напряженности магнитного поля:
(5.26)
Известно также, что величина магнитного поля пропорциональна току катушки:
, где k— коэффициент, зависящий от конструкции и формы катушки. Используя два последних выражения, легко определить требуемое число ампер-витков:
|
|
|
(5.27)
Для катушки в виде тонкого тороида без экрана можно пользоваться следующей приближенной формулой:
(5.28)
где d — диаметр катушки.
Ускоряющий потенциал U в этой формуле выражен в вольтах, а ток — в амперах.
Для увеличения преломляющей силы магнитной линзы, а также для локализации магнитного поля в ограниченном пространстве фокусирующие катушки заключаются в экраны. Такие катушки называются панцирными. Различные конструкции экранов показаны на рис.5.17, где, кроме того, приведены кривые распределения напряженности магнитного поля вдоль оси трубки.

Рис5.17. Различные типы фокусирующих катушек и их поля.
5.5.Отклоняющие системы
Электростатическая система. Простейшая электростатическая отклоняющая система состоит из двух пар плоских параллельных пластин, расположенных друг за другом (рис.5.18). Одна пара пластин служит для отклонения электронного луча в горизонтальной плоскости, другая пара отклоняет луч но вертикали. Если пренебречь краевым эффектом, то можно считать, что между пластинами существует однородное электрическое поле напряженностью ξ=Uпл/d.
Движение электрона происходит в однородном электростатическом поле, вектор напряженности которого перпендикулярен вектору начальной скорости электрона. Траектория электрона в этом случае описывается параболической кривой (5.5):
(5.28)

Рис.5.18. Система отклоняющих пластин.
Как видно из рис.5.19, электрон, двигаясь между пластинами по параболе, к моменту выхода из пластин отклоняется от оси на некоторую величину z1 и далее движется к экрану по касательной к его криволинейной траектории. Отклонение электрона за время движения от пластин до экрана равно z2. Суммарное отклонение электрона от оси трубки равно:z=z1+z2. Величина z1 легко определяется из уравнения параболической траектории электрона:
(5.29)

Рис.5.19. Траектория движения электрона в отклоняющей системе.
Скорость электрона υ0 зависит от напряжения на втором аноде:
|
|
|
(5.30)
Подставляя это выражение, а также выражение для ξ в (5.30) получаем:
(5.31)
Отклонение z2 равно: z2= l 2tgα. Но tgα=dz/dx характеризует наклон касательной к траектории электрона в точке его выхода из пластин:
(5.32)
Подставляя сюда выражения для ξ и υ0, получаем:
(5.33)
Таким образом,
(5.34)
Полное отклонение электрона от оси трубки равно:
(5.35)
Сумма в скобках — это расстояние L от середины пластин до экрана.
Таким образом,
(5.36)
Чувствительность к отклонению. Выражение (5.36) показывает, что отклонение луча прямо пропорционально разности потенциалов на отклоняющих пластинах. Коэффициент пропорциональности характеризует отклонение луча при разности потенциалов в 1 в и называется чувствительностью к отклонению:
(5.37)
Величина εэ зависит от размеров отклоняющих пластин, обратно пропорциональна квадрату скорости электрона и прямо пропорциональна расстоянию от пластин до экрана. Чувствительность трубки к отклонению в горизонтальной и вертикальной плоскостях, как правило, различна вследствие разных расстояний вертикальных и горизонтальных пластин до экрана. При анализе чувствительности краёвой эффект не учитывается и считается то поле между пластинами однородно. В действительности же у концов пластин поле искривлено, и электрон подвергается его воздействию на некотором расстоянии от пластин. Вследствие этого практическая величина чувствительности повышается примерно на 15% по сравнению с расчетной.
Кроме чувствительности к отклонению, являющейся одним из важнейших параметров электронно-лучевой трубки, отклоняющая система характеризуется максимальным углом отклонения луча αмакс.
Как видно из рис.5.19, величина αмакс ограничивается в случае параллельных отклоняющих пластин длиной пластин и расстоянием между ними. Для увеличения αмакс в электронно-лучевых трубках применяются косо расставленные, изломанные и изогнутые пластины (рис.5.19). Наибольшее значение αмакс получается в случае применения изогнутых пластин, где траектория электронного луча эквидистантна поверхности отклоняющей пластины.
При использовании пластин, показанных на рис.5.20, повышается также чувствительность к отклонению. Если принять чувствительность трубки с изогнутыми пластинами за единицу, то при прочих равных условиях для изломанных, косо расставленных и плоскопараллельных пластин значения чувствительности соответственно будут 0,95; 0,84 и 0,51.

а — косо расставленные; б — наломанные; в — изогнутые.
Рис.5.20. Различные формы отклоняющих пластин.
Магнитная отклоняющая система обычно содержит две пары катушек, надеваемых снаружи на горловину трубки и образующих магнитные поля во взаимно перпендикулярных направлениях. При отклонении электрона магнитным полем одной пары катушек предполагается, что поле ограничено диаметром катушки и в этом пространстве однородно. На рис.5.21. силовые линии магнитного поля изображены уходящими от зрителя перпендикулярно плоскости чертежа. Попадая в магнитное поле с начальной скоростью υ0, электрон движется по окружности с радиусом
(5.38)

Рис.5.21. Траектория электрона в магнитной отклоняющей системе.
По выходе из магнитного поля, электрон продолжает движение по касательной к его криволинейной траектории в точке выхода из поля. Он отклонится от оси трубки на некоторую величину: z=Ltgα. При малых величинах угла α≈tgα; z≈Lα.
Величина центрального угла
. При подстановке сюда значения r получается:
(5.39)
Таким образом, отклонение электрона равно:
(5.40)
Выражая скорость υ0 электрона через напряжение на аноде, можно получить:
(5.41)
Учитывая, что напряженность магнитного поля пропорциональна числу ампер-витков, можно записать:
(5.42)
Чувствительность к отклонению для магнитной системы. Коэффициент пропорциональности между отклонением луча и индукцией магнитного поля называется чувствительностью трубка к отклонению магнитным полем:
(5.43)
Чувствительность трубки, а главное, постоянство чувствительности для любых углов отклонения луча существенным образом зависят от конструкции отклоняющих катушек.
Достоинства и недостатки электростатической и магнитной систем отклонения. Из выражения (5.41) видно, что отклонение луча магнитным полем в меньшей степени зависит от скорости электрона, чем это имеет место для электростатической системы отклонения (5.36). Магнитная отклоняющая система находит широкое применение в трубках с высоким анодным потенциалом, когда требуется большая яркость свечения экрана. Кроме того, отклонение луча магнитным нолем зависит от отношения заряда движущейся частицы к ее массе. Поэтому отрицательные ионы, вылетающие с катода и движущиеся вместе с электронами в луче, почти не подвергаются отклоняющему воздействию магнитного поля, так как их заряд равен заряду электрона, а масса превышает массу электрона более чем в 1 000 раз. Таким образом, ноны бомбардируют центр экрана трубки, постепенно разрушая его и образуя со временем так называемое ионное пятно. Для устранения этого нежелательного явления в трубках применяются специальные ионные ловушки (рис. 5.22).

1 — второй анод; 2 — первый анод: 3 — второй ускоряющий электрод; 4 — поперечное магнитное поле; 5 — первый ускоряющий электрод; 6 — модулятор; 7 — катод; 8 — ножка.
Рис.5.22. Пушка с ионной ловушкой.
В этой пушке электроны, движущиеся от катода под углом к оси, отклоняются магнитным полем и далее движутся вдоль оси пушки. Тяжелые ионы магнитным полем не отклоняются и удаляются из луча.
К недостаткам магнитных отклоняющих систем следует отнести невозможность их использования при отклоняющих напряжениях с частотой более 10—20 кГц, в то время как обычные трубки с электростатическим отклонением имеют верхний частотный предел порядка десятков мегагерц. Кроме того, потребление магнитными отклоняющими катушками значительного тока требует применения мощных источников питания с большим внутренним сопротивлением.
Достоинством магнитной отклоняющей системы является ее внешнее относительно электронно-лучевой трубки расположение, что позволяет применять вращающиеся вокруг осп трубки отклоняющие системы.
5.6. Экраны электронно-лучевых трубок
Пройдя отклоняющую систему, электроны попадают на экран электронно-лучевой трубки — тонкий слой люминофора, нанесенного на внутреннюю поверхность торцовой части баллона трубки путем осаждения из раствора или же распылением.
Люминофоры — это вещества, способные интенсивно светиться под воздействием бомбардирующих их электронов. Люминофоры обычно содержат основной материал и активатор. В качестве основного материала используются окиси и сульфиды цинка, кремния, кадмия, магния и др. К основному материалу в качестве активаторов добавляются доли процентов серебра, марганца или хрома. Люминофор должен обладать высоким коэффициентом полезного действия, высокой световой отдачей, т. е. эффективно преобразовывать кинетическую энергию электронов в световое излучение. Люминофор также должен хорошо обезгаживаться, быть температуростойким, стабильно сохранять свои свойства и иметь достаточный срок службы. Важен цвет светового излучения и длительность послесвечения, т. е. время свечения люминофора по окончании возбуждения.
Яркость свечения В люминофора подчиняется закону Ленарда:
(5.44)
и зависит от плотности электронного луча j, разности потенциалов U между катодом и экраном и некоторого наименьшего потенциала U0 при котором начинается люминесценция экрана. Коэффициент А и показатель степени n, изменяющийся в пределах от 1 до 3, зависят от свойств люминофора. Величина U0 для различных люминофоров колеблется от 10 до нескольких сотен вольт. Отсутствие люминесценции при потенциалах, меньших U0, объясняется недостаточной энергией электронов, которые, задерживаясь в поверхностных слоях люминофора, не возбуждают его атомов и образуют отрицательный заряд.
Светоотдача. Электроны луча, ударяясь об экран, возбуждают атомы люминофора, вызывая их свечение. Однако не вся кинетическая энергия превращается в энергию видимого излучения. Значительная ее часть затрачивается на нагревание экрана, вторичную эмиссию электронов и излучение в невидимой части спектра. Коэффициент полезного действия люминофора, равный отношению энергии излучения в видимой части спектра к мощности, затраченной на возбуждение, называют световой отдачей люминофора. Энергию видимого излучения обычно определяют по величине светового потока или силе света, а светоотдачу измеряют св/вт. Для люминофоров электронно-лучевых трубок светоотдача колеблется от
0,1 до 10 cв/вт. Она возрастает с увеличением кинетической энергии электронов, и поэтому для сравнения различных люминофоров световую отдачу измеряют при определенном значении ускоряющего напряжения.
Практика показывает, что при длительной бомбардировке экрана интенсивным потоком электронов уменьшается его светоотдача. Уменьшение светоотдачи в некоторых пределах обратимо, поскольку через некоторое время после прекращения бомбардировки экрана он может полностью восстановить свои первоначальные свойства. Это явление называется «утомлением» экрана. Если время интенсивной бомбардировки было очень длительным, то процесс снижения светоотдачи может оказаться необратимым и произойдет «выгорание» экрана, т. е. его разрушение.
Длительность послесвечения. Кинетическая энергия возбуждающих экран электронов превращается в энергию видимого излучения не мгновенно, а в течение достаточно малого, но конечного отрезка времени, измеряемого долями микросекунд. Уменьшение яркости свечения люминофора по окончании возбуждения происходит по экспоненциальному закону, причем показатель степени экспоненты зависит от физико-химических свойств люминофора. Время, в течение которого яркость свечения уменьшается до 1—2% от максимального значения, называется временем послесвечения экрана. Все экраны разделяются на экраны с очень коротким (<10-5 сек), коротким (10-5–10-2 сек), средним (10-2–10-1 сек), длительным (10-1–16 сек) и очень длительным (>16 сек) послесвечением. Трубки с коротким послесвечением широко применяются для приема телевизионных сигналов и для осциллографирования. В радиолокационных индикаторах обычно используются трубки с длительным послесвечением.
Потенциал экрана. Люминофоры, — как правило, изоляторы, и отвести заряд с их поверхности можно только за счет отбора электронов вторичной эмиссии с экрана. Для этого стенки баллона трубки вблизи экрана покрываются токопроводящим слоем — аквадагом, который внутри баллона соединяется со вторым анодом.
От величины вторичной эмиссии с экрана зависит также потенциал экрана. Как видно из кривой зависимости коэффициента вторичной эмиссии от ускоряющего напряжения (рис.5.23,а), типичной для изоляторов, при небольших величинах ускоряющего потенциала (участок OA) σ < 1. На поверхности экрана скапливаются электроны, и его потенциал при любых ускоряющих напряжениях в интервале O – Ua2’ стремится к потенциалу анода. При дальнейшем увеличении ускоряющего напряжения (участок АБ) коэффициент вторичной эмиссии больше единицы, и потенциал экрана в любой точке кривой равен потенциалу второго анода.

Рис.5.23. Кривые изменения коэффициента вторичной эмиссии с экрана трубки (а) и потенциала экрана (б) в зависимости от напряжения на втором аноде.
В самом деле, если напряжение на втором аноде равно Ua2i, а потенциал экрана Uэ<Ua2i, то поле между экраном и анодом будет ускоряющим для вторичных электронов. Почти все они уйдут на второй анод, и Uэ увеличится. Если же Uэ>Ua2i, то поле между экраном и вторым анодом тормозит вторичные электроны; часть из них возвращается на экран, и потенциал Uэ уменьшается.
При Uэ=Ua2i наступает динамическое равновесие: на второй анод уходит лишь часть вторичных электронов, равная числу первичных электронов; остальные вторичные электроны возвращаются на экран.
Потенциал Uа2’’ (точка В на рис.5.23, б) — предельное значение потенциала экрана.
Если Ua2>Uа2’’, то коэффициент вторичной эмиссии становится меньше единицы, а потенциал экрана, снижаясь, стремится к величине Uа2’’.
Сложные экраны. Для получения длительного послесвечения применяются двухслойные экраны (рис.5.24, а). На стекло трубки наносится вначале слой люминофора с желтым цветом свечения и длительным послесвечением, который сверху покрывается слоем люминофора с коротким послесвечением синего цвета. Бомбардируя экран, электроны возбуждают атомы первого слоя люминофора и вызывают свечение синего цвета. Свечение первого слоя люминофора возбуждает свечение во втором слое, причем длительность послесвечения второго слоя люминофора при таком световом возбуждении зависит от толщины первого слоя и, как правило, значительно больше, чем при возбуждении непосредственно электронами луча.

а — с двойным слоем люминофора (с длительным послесвечением): б — с алюминиевой подложкой; 1 — стекло; 2 — люминофор с длительным послесвечением желтого цвета; 3 — люминофор с коротким послесвечением синего цвета; 4 — люминофор; 5 — алюминий.
Рис.5.24. Сложные экраны.
Широкое распространение получили алюминированные экраны. В экранах такого типа на слой люминофора наносится тонкая (примерно 1 мкм) пленка алюминия (рис.5.24, б), которая обычно соединяется со вторым анодом. Вследствие этого потенциал экрана всегда равен ускоряющему потенциалу и не зависит от величины вторично-электронной эмиссии. Наиболее целесообразно применение алюминированных экранов в высоковольтных трубках, так как с увеличением ускоряющего потенциала, а следовательно, и потенциала экрана увеличивается его световая отдача и уменьшается поглощение электронов луча в пленке алюминия. Алюминиевая пленка, кроме того, способствует повышению светоотдачи за счет отражения светового потока от пленки в сторону наблюдателя, а также возрастанию контрастности изображения вследствие уменьшения засветки экрана рассеянным светом.
Очень важное значение имеет цвет свечения люминофора. В осциллографической технике при визуальном наблюдении используются электронно-лучевые трубки с зеленым свечением, наименее утомительным для глаза. Таким цветом свечения обладает ортосиликат цинка, активированный марганцем, — виллемит. Спектральная характеристика 1 виллемита и кривая 2 восприятия различных частот излучения глазом показаны на рис.5.25, а. Для фотографирования предпочтительны экраны с синим цветом свечения, свойственным вольфрамату кальция. В приемных телевизионных трубках стараются получить белый цвет, для чего применяются люминофоры из двух компонент: синей и желтой. Спектральные характеристики телевизионного экрана и составляющих компонент представлены на рис.5.25,б.

1 — спектральная характеристика виллемита; 2 — кривая чувствительности глаза; 3 — спектральная характеристика синей компоненты; 4 — спектральная характеристика желтой компоненты; 5 — характеристика экрана с белым свечением.
Рис.5.25. Спектральные характеристики экрана с зеленым свечением (а) и экрана с белым свечением (б).
5.7.Осциллографические трубки
Осциллографическая трубка — приемная электронно-лучевая трубка, предназначенная для графического воспроизведения формы электрического сигнала, управляющего положением электронного пучка на люминесцентном экране. Осциллографические трубки используют для визуального наблюдения на экране или регистрации изменений быстро протекающих процессов. Аналогичные трубки используют также для получения изображения в радиолокационных установках.
Электронный прожектор строится на двухлинзовой системе: катод К, модулятор М и ускоряющий электрод УЭ образуют короткофокусный иммерсионный объектив, который формирует кроссовер, отображаемый на экран одиночной линзой, образованной ускоряющим электродом УЭ и анодами А1 и А2 (рис.5.26).

Рис.5.26. Внешний вид и электрическая схема осциллографической трубки.
Электронный луч перемещается в пространстве при помощи отклоняющей системы, смещающей его в двух взаимно перпендикулярных направлениях. Электростатическое отклонение луча осуществляется с помощью двух пар пластин, X и У, на которые полаются отклоняющие напряжения Uотк х и U отк у.
Основным параметром отклоняющей системы трубки является чувствительность к отклонению:
и
(5.45)






