Введение. В рамках Государственной системы приборов (ГСП) для измерения теплоэнергетических величин (температуры, давления, расхода жидкости или газа, уровня жидкости и др.) разработан комплект датчиков, состоящих из двух модулей. Один из них преобразует измеряемую физическую величину в силу или перемещение, другой — эту промежуточную величину в унифицированный электрический сигнал постоянного тока.
Модуль, преобразующий измеряемую величину, может быть агрегатное соединен с модулем, преобразующим силу или перемещение в унифицированный электрический сигнал. Первичный и вторичный модули образуют датчик.
Для преобразования промежуточной величины в унифицированный электрический сигнал наибольшее применение нашли электросиловой (с силовой компенсацией), дифференциально-трансфоркоторный и магнитомодуляционный датчики.
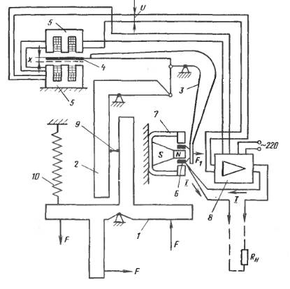
Датчики ГСП с электросиловым преобразователем (с силовой компенсацией). Схема датчика приведена на рис. 31. Сила F, разви-

Рис 31
ваемая первичным преобразователем (модулем), через рычажную систему, состоящую из рычагов I, 2, передается на рычаг 3. На этом рычаге смонтирован сердечник 4 дифференциально-трансформатор-ного преобразователя 5 и катушка б магнитоэлектрического обратного преобразователя 7. Рычажная система преобразует силу F в силу F, = kF, приведенную в катушке б. Коэффициент к равен передаточному отношению рычажного механизма. Сила F1 вызывает перемещение якоря дифференциально-трансформаторного преобразователя х. При этом на его выходе появляется напряжение V = кхх. Напряжение усиливается усилителем 8 и преобразуется в ток / = кхк2х = S1х, где S1, - чувствительность прямого преобразователя, к2- коэффициент усиления усилителя. Ток проходит через сопротивление нагрузки R„ и обмотку преобразователя обратной связи б. Под действием тока обратный преобразователь развивает силу, пропорциональную току / и стремящуюся уменьшить перемещение х:
|
|
|
Foc = S2I= S1S2x = Wx, (40)
где S2—чувствительность обратного преобразователя.
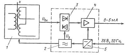
Дифференциально-трансформаторные датчики. В датчиках рассматриваемого типа модуль, образующий унифицированный электрический сигнал, состоит из дифференциально-трансформаторного преобразователя и электронного блока. Структурная схема модуля приведена на рис 32. Входной величиной модуля является перемещение ферромагнитного якоря.

Рис 32
Дифференциально-трансформаторный преобразователь 1 питается напряжением прямоугольной формы от электронного генератора 2. При достаточно большой индуктивности обмоток преобразователя 1 и достаточно большой частоте питающего напряжения токи в обмотках изменяются линейно, а выходное напряжение дифференциально-трансформаторного датчика имеет форму, близкую к прямоугольной. Амплитудное значение напряжения пропорционально смещению* якоря относительно нулевого положения. В зависимости от знака смещения это напряжение может быть в фазе или в противофазе с питающим напряжением.
|
|
|
Выходное напряжение преобразователя / подается на фазочувствительный выпрямитель 3. Это управляемый выпрямитель, причем полярность выпрямленного напряжения зависит от совпадения или несовпадения фаз входного напряжения Uвхи управляющего Uу.Управляющее напряжение подается от генератора 2 и имеет постоянную фазу Фаза входного напряжения изменяется на 180 ° при изменении знака смещения якоря. Напряжение на выходе фазочувствительного выпрямителя пропорционально смещению якоря и имеет полярность, зависящую от его направления. Это напряжение усиливается усилителем 4 и преобразуется в унифицированный токовый сигнал 0-5 мА. Для увеличения стабильности усилитель имеет отрицательную обратную связь. Изменением глубины обратной связи регулируется максимальное значение выходного тока. Все элементы схемы питаются от сети переменного тока через источник стабилизированного напряжения 5.
На основе описанного датчика выпускается семейство датчиков давления и перепада давления, аналогичное семейству датчиков давления и перепада давления с силовой компенсацией. Зависимость тока от измеряемой величины линейная. Класс точности может быть от 0^6 до 1,5. Сопротивление линии связи может быть любым в пределах 2,5 к Ом. Достоинством датчиков является большой срок службы, который составляет 10 лет.
Рис 33
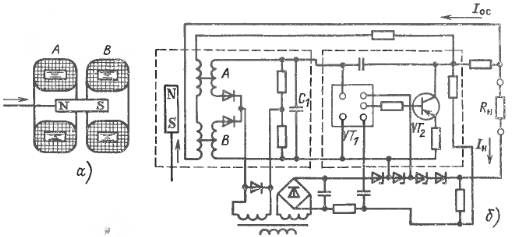
Магнит i(модуляционные датчики. Схема модуля с магнитомодуляционным преобразователем приведена на рис 33 Он состоит из магнитомодуляционного преобразователя (рис 33 ) и электронного блока (рис 33). Магнитомодуляционный преобразователь имеет две катушки, намотанные на кольцевые ферромагнитные сердечники. Сносно с катушками в соответствии со значением измеряемой величины перемещается постоянный магнит N - 5. Его перемещение вызывает изменение индукции в сердечниках катушек и, следовательно, индуктивности катушек. Например, при перемещении сердечника вправо индукция в катушке А уменьшается, а в катушке В возрастает. При этом в соответствии с кривой намагничивания магнитная проницаемость сердечника катушки А возрастает, а у сердечника В падает. Это вызывает увеличение индуктивности катушки А и уменьшение индуктивности катушки В. Катушки А и В включены в схему моста переменного тока с выпрямителем. Выпрямленное напряжение на конденсаторе С\ пропорционально перемещению магнита, а его полярность зависит от направления перемещения. Это напряжение усиливается усилителем постоянного тока, построенного на интегральном усилителе VT1 н транзисторе VT2, и преобразуется в ток, который через линию дистанционной передачи поступает в сопротивление нагрузки RH. Ток Iос, пропорциональный току нагрузки/н, поступает в обмотку обратной связи, размещенную на магнитопроводе магнитомодуляциоцного преобразователя. Созданный этим током магнитный поток компенсирует изменение магнитного потока, вызванное перемещением постоянного магнита, т. е. обеспечивает действие обратной связи. Благодаря этой связи уменьшается погрешность, вызванная нестабильностью усилителя, гистерезисом магнитомодуляциоцного преобразователя и другими причинами. Магнитомодуляционные преобразователи используются для построения датчиков давления и разности давлений, аналогичных датчикам с электросиловым преобразователем.