Классификация двигателей внутреннего сгорания
По типу машин, осуществляющих рабочие процессы, тепловые двигатели подразделяются на:
роторные двигатели;
По способу подвода теплоты для нагрева рабочего тела тепловые двигатели подразделяются на:
двигатели внутреннего сгорания, в которых процессы сгорания топлива и преобразования теплоты в механическую работу происходят в одних и тех же рабочих полостях (цилиндрах);
двигатели внешнего сгорания, в которых рабочее тело получается (или нагревается) вне самого теплового двигателя в специальных устройствах (паровая машина, Стирлинга двигатель и т.д.).
В авиации в зависимости от типа и назначения летательных аппаратов применяются следующие типы двигателей внутреннего сгорания:
карбюраторные двигатели, работающие на легком жидком топливе
(бензине);
газотурбинныедвигатели, работающие на керосинах.
В карбюраторных двигателях горючая смесь топлива с воздухом приготовляется вне цилиндра при помощи специального прибора — карбюратора. Смесь поступает в цилиндры в готовом виде и зажигается от постороннего источника тепла (электрической искры).
|
|
|
В дизельных двигателях (в авиации не применяются) горючая смесь приготовляется внутри цилиндра из воздуха и топлива, подаваемых в цилиндр раздельно. Зажигание горючей смеси происходит в результате повышения температуры воздуха при сильном его сжатии в цилиндре.
По способу осуществления рабочего цикла ( по числу тактов, за время которых осуществляется полный рабочий процесс двигателя, т. е. воспламенение и сгорание смеси и расширение газов, со всеми подготовительными операциями), двигатели делятся на:
двухтактные;
четырехтактные.
Двухтактным называется двигатель, в котором рабочий процесс совершается за два хода поршня, т. е. за один оборот коленчатого вала.
Четырехтактным называется двигатель, в котором рабочий процесс совершается за четыре хода поршня, т. е. за два оборота коленчатого вала. В устройстве двухтактных и четырехтактных двигателей имеются различия. Двухтактные двигатели имеют те же основные механизмы и системы, что и четырехтактные, но отличаются по устройству и действию механизма газораспределения.
По числу цилиндров двигателя делятся на:
одноцилиндровые;
двухцилиндровые;
многоцилиндровые.
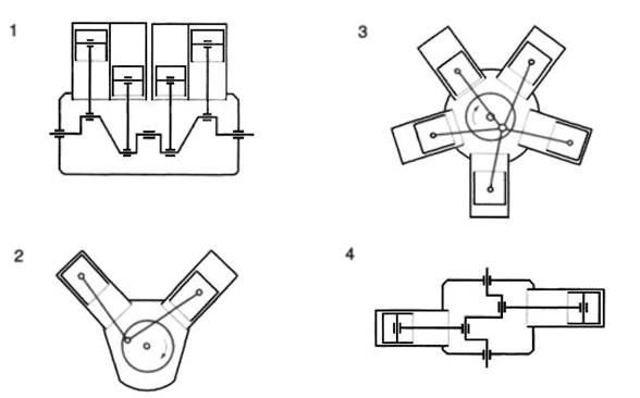
По расположению цилиндров (рис.1.1.):
с вертикальным или наклонным расположением в один ряд;
V-образные с расположением цилиндров под углом (при расположении цилиндров под углом 180 градусов двигатель называется с противолежащими цилиндрами или оппозитным).
Многорядное расположение цилиндров двигателя позволяет уменьшить габаритную длину двигателя при сохранении числа цилиндров. Оппозитное, т.е. противолежащее расположение цилиндров, уменьшает габаритную высоту двигателя и, тем самым улучшает устойчивость работы.
|
|
|

Рис. 1.1. Расположение цилиндров двигателя:
1 - рядное расположение цилиндров; 2 – V-образный двигатель; 3 – звездообразный двигатель; 4 – с противолежащими цилиндрами (оппозитный )
По способу охлаждения различают двигатели:
с воздушным охлаждением;
с жидкостным охлаждением;
с комбинированным охлаждением.
По способу смазки различают двигатели:
с принудительной смазкой деталей;
со смазкой разбрызгиванием;
с комбинированной смазкой.
Также имеются и иные конструктивные отличия двигателей.
Далее в учебной дисциплине будем рассматривать конструкцию силовой установки сверхлегкого самолета «Ultralight» ТL-2000 «Sting Carbon». На самолете ТL-2000 установлен двигатель ROTAX-912ULS.
Силовая установка самолета TL-2000 включает: двигатель ROTAX-912ULS, воздушный винт (регулируемого или нерегулируемого угла атаки), раму крепления двигателя к самолету, капоты для уменьшения лобового сопротивления, входные и выходные устройства двигателя, систему питания двигателя топливом, системы охлаждения и смазки, систему управления двигателем и систему зажигания.






