Схема замещения n-полюсников с управляемыми источниками.
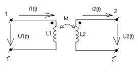
Индуктивно связанные ветви – две или более ветвей (катушек индуктивности) сцеплённых общим магнитным потоком.
L1-первичная, L2 вторичная индуктивная обмотка.
M – взаимная индуктивность первичной вторичной обмоток.
M>0 при согласном включении обмоток, токи входят в одноименные зажимы соноправленно.

или
M<0 при встречном включении, токи входят в разноименные зажимы.

Запишем II закон Кирхгофа для первичной и вторичной обмотки.
для 1-ой обмотки
для 2-ой обмотки
Будем считать что токи, магнитные потоки и напряжение изменяются по одному гармоническому закону, тогда запишем эти уравнения в комплексной плоскости:


Z21=Z12 получим, что индукции сведённых ветвей имеют взаимную матрицу.






