Сбор нагрузок на фундаменты производится согласно СНиП 2.01.07-85. Расчет основания по деформациям производится на основное сочетание нагрузок. При этом учитывается собственный вес конструкций фундаментов.
Расчет оснований по деформациям ведется с использованием расчетных нагрузок, полученных из нормативных путем умножения на коэффициент нагрузки.
Расчет основания на устойчивость, а так же определение количества свай в свайном фундаменте ведется с использованием расчетных нагрузок.
ВЫБОР ВАРИАНТОВ ФУНДАМЕНТОВ. ОПРЕДЕЛЕНИЕ ГЛУБИНЫ ЗАЛОЖЕНИЯ.
Глубина заложения фундаментов является одним из основных факторов, обеспечивающих необходимую несущую способность основания и величину деформации, не превышающую предельно допустимую. При проектировании фундаментов практически в любых грунтовых условиях можно предложить несколько технически правильных вариантов, которые будут различаться между собой по глубине заложения, типу фундамента, материалу, из которого устраивается фундамент. Задачей проектировщика является выбор из этого ряда технически осуществимых вариантов наиболее экономичный.
|
|
|
Глубина заложения фундаментов вычисляется от поверхности планировки или подвала до подошвы фундамента, т.е. нижней его поверхности, опирающейся на несущий слой грунта и передающей на него нагрузку.
Минимальную глубину d заложения фундаментов во всех грунтах, кроме скальных, рекомендуется принимать не менее 0,5 м, считая от поверхности наружной планировки.
Глубина заложения фундаментов определяется следующими факторами:
а) Назначением и конструкцией сооружения;
б) Величиной и характером нагрузок, действующих на основание;
в) Глубиной заложения фундаментов примыкающих зданий и сооружений, а так же оборудования;
г) Геологическими и гидрогеологическими условиями строительной площадки;
д) Глубиной сезонного промерзания и оттаивания грунта.
При курсовом проектировании глубина заложения по каждому из перечисленных факторов определяется в отдельности, затем устанавливается наибольшая, которая и принимается для дальнейшего расчета.
Рассмотрим, как производится учет каждого из перечисленных факторов:
А) Назначение и конструкция сооружения требует определенного заглубления в том случае, когда предусматривается наличие подвалов, подземных коммуникаций, а так же применение статически неопределимых конструкций, которые чувствительны к неравномерным осадкам опор. Кроме этого следует учитывать возможность дальнейшей их реконструкции с устройством новых коммуникаций, подвальных помещений и пр.
При наличии подвалов глубина заложения фундамента будет зависеть от высоты подвала (рисунок 4).
|
|
|
Минимальное заглубление фундамента ниже пола подвала обычно принимается равным 0,2 – 0,5 м.
Б) Величина и характер нагрузок влияют на глубину заложения при большом значении нагрузок по абсолютной величине, а так же при наличии горизонтальных и выдергивающих нагрузок. Следует учитывать, что такие фундаменты в целях уменьшения их размеров рационально основывать на малосжимаемых грунтах.
При однородных грунтах увеличение глубины заложения фундамента для уменьшения площади их подошвы должно быть технико-экономически обосновано.
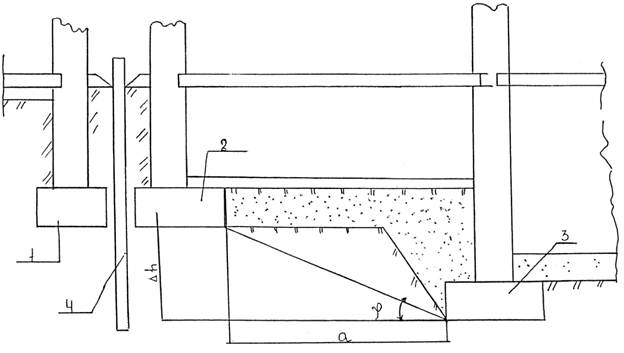
В) Фундаменты существующих зданий и фундаменты под оборудование, расположенные в непосредственной близости от проектируемого фундамента.
Разность отметок заложения рядом расположенных фундаментов не должна превышать величину Δh, определяемую по формуле:

Где: а – расстояние между фундаментами в свету;
Здесь:
·
– расчетное значение угла внутреннего трения;
·
- расчетное значение удельного сцепления грунта;
·
– среднее давление на грунты под подошвой вышерасположенного фундамента от нагрузок для расчета по несущей способности.
Фундаменты проектируемого здания непосредственно примыкающего к фундаментам существующего, рекомендуется принимать на одной отметке. Переход на большую глубину заложения следует выполнять лишь на расстоянии, определяемом по формуле 11 Если условие (11) не выполняется, следует предусматривать устройство шпунтовой стенки (см. рисунок 5)
Рисунок 4

Для гражданских зданий: 
Для промышленных зданий: 
Рисунок 5

1 – фундамент существующего здания
2 – фундамент нового здания
3 – фундамент с большей глубиной заложения
4 – шпунтовая стенка
Г) Геологические и гидрогеологические условия строительной площадки в значительной степени определяет глубину заложения.
При этом рекомендуется:
· Выбирать несущий слой грунта в зависимости от напластований грунтов, их физико-механических свойств, способа производства работ;
· Предусматривать заглубление фундамента в несущий слой грунта на 10 + 50 см.
· Не оставлять под подошвой фундамента слой грунта малой толщины, если строительные свойства грунта этого слоя значительно ниже свойств подстилающего слоя;
· Закладывать фундаменты выше уровня грунтовых вод для исключения необходимости применения водоотлива и сохранения естественной структуры грунта при производстве работ;
· При заложении фундаментов ниже уровня грунтовых вод предусматривать методы производства работ, сохраняющие структуру грунта;
· Если же глубина заложения по условиям несущей способности и деформируемости грунтов основания оказывается чрезмерно большой, а так же, если имеют место прослойки торфа, ила или просадочного грунта – необходимо предусматривать специальные мероприятия по подготовке оснований или переходить на свайные фундаменты.
Д) Одним из основных факторов, определяющих глубину заложения фундаментов, является глубина сезонного промерзания пучинистых грунтов. К пучинистым грунтам относятся пески мелкие и пылеватые, а так же глинистые и крупнообломочные с глинистым дополнителем, расположенные вблизи уровня грунтовых вод. Деформации грунта основания при морозном пучении и последующем оттаивании, как привило, неравномерные. При назначении глубины заложения пользуются указаниями п.п. 2.27 – 2.32 СНиП 2.02.01-83*, а при расчетах ВСН 29-85.