В связи с постоянно возрастающим числом морских установок возникает необходимость осуществления сварки для соединений трубопроводов, а также при проведении ремонтных работ опорных конструкций. Опыт осуществления подводной сварки пока невелик, но уже очевидно, что качество сварных соединений и технология сварочного процесса нуждается в совершенствовании [1 – 6, 8].
15.1. Разновидности подводной сварки
В настоящее время применяют 4 основных метода подводной сварки:
– сварка в сухой глубоководной камере;
– сварка в рабочей камере (водолазный колокол);
– сварка в сухом портативном боксе;
– мокрая сварка.
15.2. Сварка в сухой среде камеры
Сварку выполняют в сухой глубоководной камере, которая вмещает в себя как сварщика, так и сварной узел. Сварка в такой камере осуществляется в абсолютно сухой среде. Сварные швы, полученные в ней, не отличается по качеству от сварных швов, сделанных на суше. Однако сухая глубоководная камера очень громоздка, Ее сооружение длительный, дорогостоящий и сложный процесс, требующий использования вспомогательных судов и плавучих кранов. Для создания естественной среды камеру с открытым дном или подводную сварочно-монтажную камеру устанавливают на места будущих соединений труб. После того как между трубой и камерой помещены уплотнения, а внутри труб – пневматические заглушки, газ, находящийся в водолазном снаряжении, вытеснят морскую воду из камеры. Затем сварщик-водолаз входит в камеру и выполняет сварку в сухой среде. Термин "сварка в сухой среде" обозначает сваривание при высоком гидростатическом давлении сварщиком-водолазом, полностью находящимся в сухой среде, созданной под водой. На рис.15.2.1 представлен барометрический комплекс, состоящий из гидротанка, жилого и шлюзового модулей. Гидравлический танк барокомплекса имеет диаметр 3,7 м и состоит из двух отсеков: верхнего и нижнего, заполненного водой. Жилой модуль (внутренний диаметр 2,14м) одновременно является декомпрессионной камерой и соединяет верхнюю часть гидротанка со шлюзовым модулем. Шлюзовой модуль, в котором всегда поддерживается атмосферное давление, используется в случае необходимости принять людей или передать крупные предметы в жилой модуль, в то время когда он находится под давлением. Гидравлический танк и жилой модуль оборудованы индивидуальными системами жизнеобеспечения, которые поддерживают нужную температуру, влажность, парциальное давление кислорода; удаляют из камеры двуокись углерода и другие вредные примеси, обусловленные жизнедеятельностью организма. Сварщики вдыхают смесь гелия и кислорода, в которой в независимости от глубины поддерживается парциальное давление кислорода 29,4 кПа.
![]() |
Для сварки в барокамерах применяют то же сварочное оборудование, такой же электродержатель, шланг-кабель, токоподвод и т. д., что и в естественных условиях. Так же используют оборудование для удаления паров и продуктов сгорания, корректор речи в гелиево-кислородной среде, телевизионную установку с монитором внутри модуля, газоанализатор и пр. При погружении на небольшой период времени пользуются следующими режимами декомпрессии:
| Глубина, м | Время на глубине, мин | Время декомпрессии, ч |
| 3,3 | ||
Поскольку время пребывания на дне ограничено, а обычный промежуток между погружениями составляет 2 ч, представляется целесообразным для осуществления всех водолазных работ, за исключением кратковременных осмотров, использовать метод погружения, при котором ткани тела водолаза, работающего под водой, насыщается инертным газом. Скорость насыщения зависит в основном от глубины погружения и времени нахождения под водой. Время декомпрессии зависит от количества растворенного газа. С наступлением состояния насыщения время декомпрессии становится постоянным и зависит от дальнейшей экспозиции.
Это явление позволяет осуществлять подъем водолазов после погружения в колоколе, в котором сохраняется давление, равное глубине погружения, до тех пор, пока водолазы не перейдут в декомпрессионную камеру на палубе, в которой поддерживается такое же давление. Таким образом, удается избежать декомпрессии между отдельными погружениями и предоставить отдых водолазам.
Метод длительного пребывания позволяет водолазам проводить на глубине более длительный период, а время декомпрессии при этом не увеличивается. Недостаток этого метода – использование дополнительного оборудования и привлечение дополнительного обслуживающего персонала, что ведет к большим затратам материальных средств.
Кроме водолазного колокола может быть использован погружаемый аппарат с выходом водолаза через шлюзовое устройство.
На рис. 15.2.2 – представлен общий вид системы с использованием сварочно-монтажных камер с нормальным атмосферным давлением.
![]() |
Приведенная система позволяет решить проблемы связанные с декомпрессией сварщиков-водолазов. Очевидно, что оборудование такой камеры весит немало и центрирование труб занимает много времени, но гарантируемое качество сварных швов оправдывает затраты времени.
Доставка персонала осуществляется сухим способом в камере с атмосферным давлением.
Применение глубоководной водолазной техники уже оправдало себя на глубине до 200 м, в настоящее время возможно погружение на глубину до 300 м.
Пока ни одно приспособление не может заменить мастерство водолазов и их способность двигаться в ограниченных пространствах в районе свариваемого соединения. Однако на глубине 600 м возникает физиологический и медицинский барьер, не позволяющий дальнейшее погружение.
На глубинах от 300 до 600 м погружение водолазов следует рассматривать лишь как крайнюю необходимость, а работы на глубинах свыше 600 м должны осуществляться посредством дистанционно управляемых рабочих комплексов, а также подводных аппаратов с нормальным давлением.
15.3. Сварка в гидравлическом боксе
Для осуществления сварки в гидравлическом боксе необходимо обеспечить локализованную стабильную сухую газовую среду вокруг свариваемого соединения и сварочной головки при помощи изготовленных по особому заказу камер или при помощи легких портативных боксов. В обоих случаях непрерывная полуавтоматическая сварка электродной проволокой осуществляется в сухой среде.
Закрепляемое на месте сварки заграждение, называемое гидравлическим боксом, изготавливают частично или полностью из прозрачного материала. Бокс должен плотно прилегать к свариваемому соединению и обеспечивать герметичность. Основание бокса делается открытым для возможности ввода в нее водолазом-сварщиком сварочной головки.
Для вытеснения из бокса воды и создания сухой среды в него подается смесь инертных газов под соответствующим давлением. Через прозрачные стенки бокса сварщик может наблюдать за дугой и сварочной ванной. Гидравлический бокс обычно изготовляют по специальному заказу, при необходимости его можно быстро и просто изготовить на месте.
На рис. 15.3.1 изображен гидравлический бокс для ремонта вертикального трубопровода.
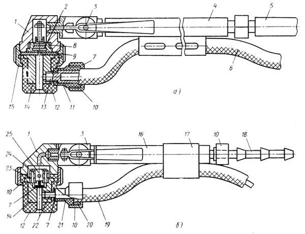
Оборудование для полуавтоматической подводной сварки с непрерывной подачей проволоки схематически изображено на рис. 15.3.2 [3, 8].
Плавящаяся электродная проволока подается с определенной скоростью через гибкий шланг к водонепроницаемой сварочной головке, находящейся в руках водолаза-сварщика. Инертный газ может подаваться к головке для того, чтобы выпускаться вместе со сварочной проволокой и защищать сварочную дугу, возникающую между концом электрода и свариваемого участка.
![]() |
Установка подачи проволоки, которая включает механизм подачи проволоки, тяговый привод и катушку проволоки в водонепроницаемом кожухе, располагают под водой недалеко от места сварки. В кожухе при помощи системы подачи газа постоянно поддерживается давление газа больше, чем давление окружающей воды.
Напряжение подается на дугу от источника постоянного тока, находящегося на поверхности и подсоединенного к электродной проволоке и свариваемому участку. Защитный газ, силовой кабель и кабель для контрольно-измерительных приборов подаются к установке подачи проволоки, а значит, и к головке при помощи одного шланг-кабеля.
Контроль за проведением сварки, подача проволоки и прочее осуществляются с находящегося на поверхности пульта управления, где расположены контрольно-измерительные приборы, позволяющие регулировать процесс сварки, освобождая от этой обязанности водолаза.
Связь водолаза с пультом управления непрерывно поддерживается по радио, хотя контрольно-измерительные приборы позволяют достаточно точно регулировать процесс сварки.
![]() |
15.4. Мокрая сварка
15.4.1. Сущность процесса
Способ дуговой сварки под водой основан на способности дуги устойчиво гореть в парогазовом пузыре при интенсивном охлаждении окружающей водой (рис 15.4.1). Газовый пузырь образуется за счёт испарения и разложения воды, паров и газов расплавленного металла и обмазки электрода [1 – 3].
Вокруг горящей дуги выделяется большое количество газов, что приводит к повышению в газовом пузыре и частичному выделению газов в виде пузырьков на поверхности воды. Вода разлагается в дуге на свободный водород и кислород. Кислород, соединяется с металлом, образует окислы. Взвешенные в воде продукты сгорания металла и обмазки, состоящие преимущественно из окислов железа, образуют облако взвесей, которое затрудняет наблюдение за дугой.
![]() |
Устойчивое горение дуги под водой можно объяснить принципом минимума энергии Штеенбека, т.е. условное охлаждение какого-либо участка дуги компенсируется увеличением количества выделяемой энергии на нем.
Для компенсации тепловых потерь из-за охлаждающего действия воды и наличия большого количества водорода напряжение на дуге под водой требуется более высокое (30-35В). Сварку под водой выполняют на постоянном и переменном токе.
На постоянном токе дуга горит более устойчиво, чем на переменном, т.к. постоянный ток разлагает воду еще до возбуждения дуги, а переменный ток разлагает воду и образует газовый пузырь в момент короткого замыкания под действием высокой температуры.
С увеличением глубины и давления окружающей среды устойчивость дуги не нарушается; возрастает только напряжение и увеличивается ток.
Подводная сварка возможна в пресной речной и соленой морской воде. В качестве источников питания используют однопостовые и многопостовые сварочные агрегаты, сварочные преобразователи и трансформаторы, имеющие напряжение холостого хода 70-110 В.
15.4.1. Особенности процесса
Продукты разложения воды – водород и кислород, находящийся в зоне дуги, оказывает заметное влияние на качество сварных швов. Водород интенсивно растворяется в жидком металле, вызывая охрупчивание швов, а кислород окисляет сталь и в первую очередь содержащиеся в ней легирующие элементы. Окислы частично всплывают, переходя в шлак, и частично остаются в металле шва в виде неметаллических включений, уменьшающие вязкость и пластические свойства металла шва.
Из-за непосредственного контакта с водой основного металла и металла шва теплоотдача низкоуглеродистой стали значительно выше, чем при сварке на воздухе, что может привести к появлению закалочных структур в металле шва и в зоне термического влияния.
Наличие повышенного давления и охлаждающее действие среды приводят к сжатию столба дуги и повышение температуры последнего. Это может увеличить температурный градиент металла шва и вызвать перегрев электродного металла.
Водолаз-сварщик заключен в водонепроницаемый костюм и находится в плотной среде, стесняющей его движение, кроме того, на него действует дополнительное гидростатическое давление, снижающее его подвижность. Водолаз находится в весьма неустойчивом положении с небольшой отрицательной плавучестью.
Ухудшенная видимость и наличие подводных течений создают неблагоприятные условия как для существования дугового разряда, так и для работы водолаза-сварщика, отрицательно сказываясь на качестве швов и производительности процесса.
Мокрая сварка имеет множество практических преимуществ: сварщик может осуществлять сварку в местах недоступных другими способами; ремонтные работы можно проводить быстрее и с меньшими затратами.
15.4.3. Ручная дуговая сварка
При сварке под водой выполняют соединения внахлестку, тавровые, угловые, реже стыковые, причем чаще всего способом опирающегося электрода. Горение дуги отличается в этом случае высокой стабильностью. Сварщик перемещает дугу без колебаний поперек шва с сохранением угла наклона электрода. Способом опирающегося электрода можно сварить швы во всех пространственных положениях. Сварку в вертикальном положении производят сверху вниз, при этом электрод наклонен в сторону ведения сварки. Силу тока при подводной сварке опирающимся электродом в нижнем положении устанавливают выше, чем при сварке в обычных условиях (табл. 15.4.3.1) [3, 4].
Таблица 15.4.3.1 – Режимы ручной подводной сварки
| Марка электрода | Диаметр электрода, мм | Сила тока, А | Род тока, полярность | Коэффициент наплавки, г/А·ч |
| ЭП-35 | 4-5 | 220-240 | Постоянный, прямая | 6,0-6,5 |
| УОНИ-13/45П ЭПС-5 | 200-220 160-220 250-270 | Постоянный, прямая и обратная | 6,3-7,0 9,2-9,8 | |
| ЭПО-55 | 240-260 200-275 | Постоянный, прямая и обратная; переменный | 6,7-9,7 | |
| ЭПС-52 | 160-200 200-250 | Постоянный прямая; переменный | 5,3-7,9 |
15.4.4. Полуавтоматическая сварка
Перспективной является полуавтоматическая сварка, сочетающая механическую подачу проволоки в зону дуги с маневренностью и универсальностью ручной сварки (рис.15.4.4.1). Кроме того, механическая подача проволоки позволяет длительное время вести процесс сварки без перерывов. Так как проволока имеет меньший диаметр, чем электрод, и не имеет покрытия, создаются благоприятные условия для наблюдения процесса управления формированием шва.
Создание мокрого способа полуавтоматической сварки было связано с большими трудностями. Проведенные предварительные опыты показали, что швы получаются узкими, высокими, с неудовлетворительным качеством поверхности. Кроме того, в швах было обнаружено значительное количество пор и неметаллических включений. Механические свойства этих швов оказались недопустимо низкими.
Использование для защиты дуги аргона и особенно углекислого газа позволяет не значительно понизить содержание водорода в металле шва.
Более эффективным способом защиты дуги от вредного воздействия окружающей среды является использование порошковой проволоки. Разработанная в институте электросварки им. Е.О. Патона порошковая проволока марки ППС-АН1 (диаметр 1,2 – 2,0 мм) позволяет обеспечить стабильное горение дуги и получение (на низкоуглеродистых и низколегированных конструкционных сталях) сварных соединений, равнопрочных основному металлу [4].
![]() |
Для механизированной подводной сварки и резки разработаны и применяются полуавтоматы типа ППСР–300–2, "НЕПТУН". Полуавтоматом ППСР – 300 – 2 (рис. 15.4.4.1) можно сваривать сталь толщиной 4 мм и более, резать сталь толщиной до 25 мм на глубине до 60 м. В качестве защиты используют углекислый газ.
Полуавтомат рассчитан на номинальную силу тока 300 А. Скорость подачи сварочной проволоки диаметром 1,2 или 1,6 мм регулируется в пределах 6,6 – 21,6 см/с. При зарядке кассеты проволокой в количестве 4 – 5 кг сварщик может непрерывно работать 2 – 2,5 ч.
14.4.5. Сварочные материалы
Для ручной дуговой сварки под водой используют электроды диаметром 4-6 мм (рис.15.4.5.1) из сварочной проволоки марок Св-08, Св-08А, Св-08ГА, Св-08Г2, а для полуавтоматической сварки – проволоки марок Св-08Г2С, ППС-АН1. Наибольшее применение получили электроды марок ЭПС-5 и ЭПС-52, имеющие в составе покрытия ферросплавы, что улучшает химический состав и механические свойства металла шва. Водонепроницаемость покрытия достигается пропиткой такими составами, как парафин, раствор целлулоида в ацетоне, раствор синтетических смол в дихлорэтане, нитролаке и др.
Для подводной сварки применяют специальные электрододержатели, которые имеют надежную электроизоляцию по всей поверхности. Смена электрода производится только после отключения сварочного тока.
14.5. Электродуговая резка
При подводной резке используется тепло концентрированных источников дуги или плазмы и тепло, выделяющееся в результате химического взаимодействия кислорода с металлом. Поскольку разрезаемый металл находится в воде и интенсивно охлаждается, то источник тепла должен иметь высокую концентрацию его в месте реза.
Подводная электродуговая резка отличается от дуговой подводной сварки повышенными значениями сварочного тока и приемами выполнения работ. Поэтому дуговую резку под водой можно выполнять на том же оборудовании, что и подводную сварку. Целесообразно использование постоянного тока прямой полярности, так как это приводит к выделению большого количества тепла в полости реза [3, 4, 8].
Электроды для резки отличаются от электродов для сварки размерами, толщиной и составом обмазки. Электроды изготовляются из проволоки диаметром 5 – 7 мм, длинной 500 – 700 мм.
При выборе режимов тока для резки следует применять коэффициент K равным 60 – 80 А/мм. Практикой установлено, что электродами диаметром 5 мм можно успешно резать металл толщиной больше 50 мм при силе тока 350 – 500А.
Режимы резки, обеспечивающие максимальную производительность процесса, находят опытным путем.
Резка осуществляется непрерывным перемещением электрода. Она начинается с кромки или отверстия и производится пилообразными движениями конца электрода. Металл не большой толщины (до 10 –15 мм) разрезается непрерывным перемещением конца электрода вдоль линии реза (рис. 15.5.1). При резке металла большой толщины движение электрода от верхней поверхности к нижней осуществляется медленно, а подъем его к верху – быстро.
![]() |
Из табл. 15.5.1. видно, что с увеличением толщины металла производительность дуговой резко падает, а расход электродов на один погонный метр реза растет.
Таблица 15.5.1 – Производительность и расход электродов при резке
| Толщина изделия, мм | Производительность, м/ч | Расход электродов при резке, шт/м | Толщина изделия, мм | Производительность, м/ч | Расход электродов при резке, шт/м |
| 1,3 0,8 0,6 0,4 | 0,3 0,22 0,17 0,14 |
14.6. Электрокислородная резка
Электрокислородная резка впервые применена в 1915 г. и в настоящее время является самой распространенной. Способ электрокислородной резки удачно объединил преимущество дугового разряда и струи режущего кислорода. За счет тепла дуги происходит нагрев и плавление металла, а за счет струи кислорода – сгорание и выдувание металла из полости реза. В основном применяют трубчатые электроды с осевым каналом для режущего кислорода и специальные электроды из карборунда [5, 6, 8].
Стержни электродов изготовляют из толстостенной цельнотянутой трубки из малоуглеродистой стали наружным диаметром 5 – 7 мм и внутренним 1,5 – 2 мм (см. рис. 14.6.1). Длина электродов 350 – 400 мм. Трубчатый электрод покрывают обмазкой толщиной 1 – 1,2 мм. Время сгорания такого электрода 1 мин. Электроды из карборунда получили название керамических. Керамический электрод из карборунда длиной 250 мм сгорает через 15 мин. Однако из-за больших размеров (диаметр 15 – 20 мм) керамические электроды могут быть рекомендованы для резки сплошного металла толщиной до 30 мм.

Таблица 15.6.1 – Показатели электрокислородной резки [8]
| Толщина металла, мм | Сила тока, мм | Давление кислорода, кгс/см2 | Время резки 1 погон. м, мин | Расход электродов, шт/м |
| 4,5 5,5 6,5 |
Электрокислородная резка на полуавтомате типа ППСР-300-2 осуществляется путем непрерывной подачи проволоки и концентрического обдувания ее струей кислорода, поступающего в режущую приставку головки полуавтомата (рис. 15.4.4.1).
Большая концентрация тепла и узкая струя кислорода обеспечивают резку металла толщиной 25 мм при силе тока 300А и давлении кислорода 6 кгс/см2 со скоростью до 4 м/ч.
Разработан способ дуговой резки углеродистой и нержавеющей стали и алюминия толщиной до 45 мм, который основан на выплавлении металла дугой, горящей между порошковой проволокой и разрезаемым металлом, с одновременной подачей в полость реза интенсивной струи воды. Резка при этом способе приводится постоянным током обратной полярности на режимах: сила тока 500-1000 А; напряжение 20-30 В; давление воды 5-10 кгс/см2; расход воды 6-12 л/мин; скорость резки до 14 м/ч.
На рис. 15.6.2 представлены электродержатели для электрокислородной резки: а – ЭКД-4; ЭКД-4-60 [8].
![]() |
|
15.7. Газокислородная резка
Газокислородная резка основана на сгорании металла в струе кислорода и выдувании окислов и металла из полости реза. Она возможна только при постоянном существовании газового пузыря вокруг подогревающего пламени (рис. 15.7.1.).
Создание газового пузыря возможно за счет продуктов сгорания подогревающего пламени, для которого используют ацетилен, водород, другие углеводороды и бензин. Устойчивость пузыря обеспечивается специальной конструкцией наконечника подводного резака и подачей защитного газа – воздуха или кислорода. В воде металл интенсивно охлаждается и поэтому для его подогрева требуется пламя в 10-15 раз больше, чем для аналогичных работ на воздухе.
Наибольшее распространение получили водородно-кислородная и бензокислородная резка. Подогревающее пламя образуется за счет водородно-кислородной смеси, подаваемой по кольцевому каналу между мундштуками 1 и 2 (см. рис. 15.7.1). Между наружным колпачком 3 и мундштуком 2 подается сжатый воздух для создания пузыря и предохранения пламени от соприкосновения с водой. Режущий кислород поступает по центральному каналу мундштука 4.
Водород и кислород поступают по шлангам из баллонов, а воздух по отдельному шлангу от компрессора или баллона. На глубине 30-40 м водородно-кислородным резаком можно резать сталь толщиной до 70 мм; рабочее давление газов составляет, кгс/см2: 6,6 – кислород, 5,5 – водород, 5 – воздух. Средний часовой расход водорода и кислорода 4-10 м3, воздуха 20 м3.
Использование бензина для подводных работ стало возможным благодаря разработке новых конструктивных принципов построения бензорезов, сущность которых состоит в том, что бензин предварительно не испаряется, а распыляется кислородом и в зону подогревательного пламени подается в виде тончайшей бензиновой пыли. Продукты сгорания пламени содержат много неконденсирующихся газов, образующих устойчивый газовый пузырь, что исключает подведения дополнительного воздуха или кислорода, упрощает и удешевляет установку и ее эксплуатацию [3, 6, 8].
Схема установки для питания резака бензином и кислородом показана на рис. 15.7.2. В комплект установки входит батарея из 6-12 баллонов кислорода, баллоны с бензином и азотом, батарея аккумуляторов, резак и электрозажигалка. На пульте управления для понижения давления установлены два кислородных редуктора и азотный редуктор. Бензин подается под давлением азота. Бензорез за 1 час расходует 30-50 м3 кислорода, 10-20 кг бензина; расход азота незначителен. Скорость резки бензино-кислородным пламенем выше, чем водородно-кислородным, на 20-30%.
![]() |
Ацетилен в качестве горючего газа применяется редко, т.к. ацетилен под давлением является сильно выраженным эндотермическим продуктом и на глубине 5-15 м, разлагается на составляющие – углерод и водород.
Газокислородную резку чаще всего применяют для разрезания сталей и материалов, которые легко окисляются. Применять газокислородную резку в чистом виде для цветных металлов и сталей, устойчивых к действию коррозии, невозможно.
Для газокислородной резки требуется более высокая квалификация резчиков, чем для электрокислородной резки, но оборудование проще и компактнее
14.8. Плазменная резка
Для плазменно-дуговой резки разработана специализированная установка типа ОППР-1, обеспечивающая резку в пресной и морской воде.
Плазменную резку металла толщиной 8-40 мм на глубинах до 10 м производят при силе тока 200-600 А и напряжении на дуге 120-140 В со скоростью 5-24 м/ч.
Применение плазмотронов с циркониевым катодом позволяет использовать сжатый воздух, который повышает тепловую мощность плазменной дуги и улучшает ее режущие способности. Присутствие кислорода в воздухе повышает эффективность резки стали Ст.-3С (табл. 15.8.1).
Таблица 15.8.1 – Эффективность воздушно-плазменной резки
| Толщина металла, мм | С к о р о с т ь р е з к и, м/ч | ||
| Электрокислородная | Плазменно-дуговая | Воздушно-плазменная | |
| 7,8 4,1 2,1 | 25,5 19,8 |
Обеспечение безопасности. Сдерживающим фактором внедрения плазменной резки является обеспечение безопасной эксплуатацией электрооборудования. При использовании ОППР-1 в соленной воде измерялось напряжение между различными частями макета водолазного снаряжения и оборудования, когда напряжение разомкнутой цепи составляло 180 В и токи утечки 70 А. Максимальная разница потенциала (14 В) наблюдалась между правой рукой и правой галошей макета водолаза. Следовательно, процесс плазменной резки может быть безопасным, если резак достаточно изолирован.















