
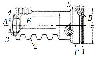
Рис. 6.4. Основные дефекты рейки-поршня рулевого механизма автомобиля
Ослабление посадки заглушки определяют проверкой на герметичность под давлением 7 Мпа. При подводе топлива со стороны стрелки А и утечке его через соединения в количестве более 15 г/мин места посадки заглушки ремонтируют закатыванием.
Наличие остальных дефектов и износы элементов более допустимых значений приводят к выбраковке деталей и замене их новой.
Рейка-поршень рулевого механизма должна отвечать следующим основным техническим требованиям:
– радиальное биение поверхности Б относительно поверхности Г должно быть не более 0,05 мм, поверхности В относительно поверхности Г не более 0,08 мм, а взаимное биение поверхностей Б и В не более 0,06 мм;
– шероховатость поверхности Г должна быть не более Ra = 1,0 мкм.
Корпус насоса гидроусилителя изготавливают у автомобилей ЗИЛ-130 из серого чугуна, НВ 201… 241.
Основными дефектами корпуса насоса гидроусилителя (рис. 6.5) являются:
1 – задиры и риски на торцевой поверхности;
2 – износ отверстия под игольчатый подшипник;
3 – износ отверстия под сальник;






