В отличие от биполярных полевые транзисторы, обладая управляющими свойствами, являются униполярными полупроводниковыми приборами, т.е. протекание токов через них обусловлено дрейфом носителей заряда только одного типа в продольном электрическом поле через управляемые каналы р- или n -типа, обладающие соответственно дырочной или электронной проводимостью. Управление током через канал осуществляется поперечным электрическим полем (а не током, как в биполярных транзисторах), изменение напряженности которого изменяет проводимость канала, по которому протекает ток выходной цепи транзистора. В электронных устройствах применяют две разновидности полевых транзисторов: с управляющим р—n -переходом (затвором в виде р—n -перехода) и с изолированным затвором.
Рассмотрим принцип действия полевого транзистора с затвором в виде р — n -перехода и с каналом n -типа, структура и схема включения которого приведены на рис. 7.1.

Рис. 7.1. Структура (а) и схема (б) включения с общим истоком полевого транзистора с затвором в виде р — n -перехода и каналом n -типа
Прибор состоит из пластины монокристаллического кремния n -типа, представляющей собой канал полевого транзистора, к двум противоположным граням которой припаяны два металлических контакта, называемые истоком (И) и стоком (С). К этим электродам подключен внешний источник энергии с напряжением Ес, соединенный последовательно с нагрузкой RH (рис. 7.1, б). Источник подключен таким образом, чтобы поток основных носителей заряда (электронов) перемещался от истока к стеку. В две другие противоположные грани пластины внесены акцепторные примеси, превращающие поверхностные слои пластины в области р-типа. Общий внешний вывод этих слоев называют затвором (3).При этом между каналом и затвором образуются два р—n -перехода.
Проводимость канала определяется его сечением, изменение площади которого можно осуществлять посредством напряжения на затворе
, смещающего переходы в обратном направлении. При этом можно расширять или сужать обедненные слои переходов и тем самым регулировать сопротивление канала и величину протекающего через него тока. Поскольку концентрация примесей в затворе намного больше, чем в канале, расширение обедненных слоев происходит в основном за счет канала. При
протекающий через канал ток стока
имеет максимальное значение
(ток стока насыщения
), так как при этом площадь сечения канала максимальна. При увеличении
обедненные слои р — n -переходов расширяются, уменьшая площадь сечения каналов и тем самым значение тока
. При определенном напряжении
(напряжение отсечки) площадь сечения канала уменьшается практически до нуля и 
Входные (стокозатворные) и выходные (стоковые) характеристики полевого транзистора представлены на рис. 7.2.

Рис. 7.2. Характеристики полевого транзистора: а — входные; б — выходные
Входная характеристика
полевого транзистора определяет управляющие свойства затвора и описывается соотношением

При этом управление осуществляется приложением к затвору обратного напряжения, под действием которого протекает лишь незначительный, обратный ток.
Рассмотрим семейство выходных характеристик
полевого транзистора (рис. 7.2, б). При
и увеличении приложенного к стоку положительного относительно истока напряжения ток
возрастает по нелинейному закону. Это объясняется тем, что с увеличением напряжения
, смещающего p-n -переходы в обратном направлении, площадь сечения канала уменьшается тем больше, чем ближе к стоку, поскольку падение напряжения в канале за счет тока стока растет от
до
на стоке. При этом сопротивление канала увеличивается, а рост тока замедляется. При достижении напряжения на стоке величины напряжения насыщения
нас происходит полное перекрытие обедненными слоями канала на стоке, а площадь сечения канала у истока остается первоначальной, так как
. Дальнейшее увеличение напряжения
вызывает незначительный рост тока стока, так как одновременно уменьшается проводимость канала (полное перекрытие канала расширяется вглубь к истоку), и ток стока достигает значения тока насыщения
. Режим, соответствующий пологому участку вольт-амперной характеристики, называют режимом насыщения.
При уменьшении
расширение обедненных слоев и уменьшение площади сечения канала происходит под совместным воздействием напряжений
и
В этом случае напряжение насыщения уменьшается и его величина при любом напряжении на затворе может быть найдена из соотношения

Соответствующая этому соотношению штриховая линия на рис. 7.2, б показывает изменение стокового напряжения. С уменьшением напряжения Uси насуменьшается и ток стока насыщения IСнас. Рабочая область выходных характеристик располагается на их пологих участках. При значительных напряжениях на стоке происходит пробой структуры, что обусловливает ограничение выходных характеристик по напряжению величиной
.
Полевые транзисторы характеризуются допустимой мощностью рассеяния
, допустимыми значениями постоянного тока стока
и напряжений между электродами
,
и
.
В последнее время стали широко использоваться полевые транзисторы с изолированным затвором, имеющие лучшие электрические свойства. У таких транзисторов между полупроводниковым каналом и металлическим затвором расположен изолирующий слой из диэлектрика, поэтому такая структуpa получила название МДП-транзистор (металл-диэлектрик-полупроводник). Так как в качестве диэлектрика обычно используют двуокись кремния, то транзисторы со структурой металл-окисел-полупроводник получили название МОП-транзисторов.
Полевые МДП-транзисторы используют в преобразователях электроэнергии с коммутируемыми токами до 100 А при напряжениях до 500 В. Эти транзисторы управляются напряжением, прикладываемым к изолированному затвору, причем в диапазоне относительно невысоких частот коммутаций мощность управления очень мала из-за высокого входного сопротивления транзистора. МДП-транзистор имеет высокое быстродействие, его время выключения составляет несколько наносекунд.
Новый полупроводниковый JGBT -транзистор — это биполярный транзистор с изолированным затвором, сочетающий в себе достоинства биполярных и МДП-транзисторов и способный коммутировать токи до 2500 А при высоком быстродействии (доли микросекунды), малой мощности управления и напряжениях до 4500 В. Его структура похожа на тиристорную(их мы рассмотрим позже), но имеет свойства транзистора. Ток управления задается МДП-транзистором, управляемым напряжением, а вся полупроводниковая структура выполнена в одном монокристалле.
71. Тиристоры. Основные свойства и характеристики.
Тиристором в общем случае называют полупроводниковый прибор с двумя устойчивыми состояниями, имеющий три p-n -перехода и более, который может быть переключен из непроводящего состояния в проводящее, и наоборот. Линия ВАХ тиристора, соответствующая проводящему состоянию (прямая ветвь), характеризуется отрицательным дифференциальным сопротивлением.
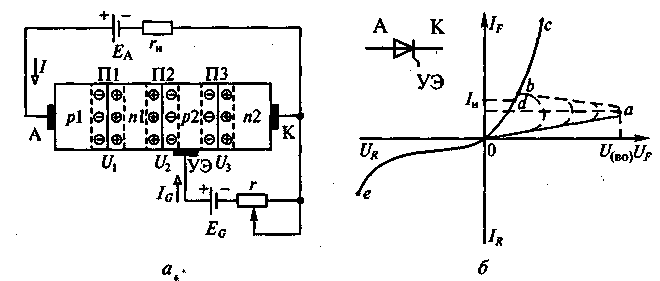
По количеству внешних выводов различают двухэлектродные (динисторы) и трехэлектродные (тринисторы) тиристоры, но в любом случае они имеют четырехслойную структуру полупроводника с тремя p-n -переходами (рис. 7.14, а).

Рис. 7.3. Структура (а), графическое обозначение и вольт-амперная характеристика тиристора (б)
Внешние выводы, связанные с крайними р1 и п2 слоями, называют соответственно анодом (А) и катодом (К), а третий внешний вывод от слоя р2 — управляющим электродом (УЭ). Крайние слои и переходы П1 и ПЗ называют также эмиттерными, а средние п1- и р 2-слои — базовыми. Четырехслойная структура тиристора может быть условно представлена в виде комбинации в одном приборе двух транзисторов: р1-п1-р2 и п1-р2-п2, причем переход П2 является коллекторным для обоих транзисторов.
Если ток
в цепи управляющего электрода равен нулю, а приложенное между анодом и катодом напряжение с указанной на рис. 7.3, а полярностью меньше напряжения
(рис. 7.14, б), то переходы Ш и ПЗ смещены в прямом направлении, а переход П2 — в обратном (при отсутствии внешнего напряжения в этих переходах возникают потенциальные барьеры, как у диодов). При положительном смещении переходов П1 и ПЗ их потенциальные барьеры уменьшаются и дырки могут инжектировать из эмиттера р1 в базу п1, а электроны — из эмиттера п2 в базу р2. Падения напряжения на смещенных в прямом направлении переходах от действия внешнего источника невелики, а практически все напряжение внешнего источника приложено к смещенному в обратном направлении переходу П2. Протекающий через тиристор ток определяется токами инжекции эмитттерных переходов, токами рекомбинации неосновных носителей заряда в базах, а также эффектом лавинного размножения носителей заряда в смещенном в обратном направлении переходе П2. Значение этого тока несколько возрастает с увеличением напряжения внешнего источника.
При дальнейшем увеличении напряжения внешнего источника увеличивается смещение переходов П1 и ПЗ в прямом направлении, и ток через тиристор продолжает расти. Уменьшение потенциального барьера перехода ПЗ приводит к инжекции электронов из эмиттера п2 в базу р2. Часть этих электронов, не рекомбинируя, достигает смещенного в обратном направлении перехода П2 и перебрасывается его полем в базу п1, увеличивая в ней концентрацию электронов. Это снижает потенциальный барьер перехода П1, вследствие чего увеличивается инжекция дырок из эмиттера р 1 в базу п 1. Продиффузировав через базу п 1, основная часть дырок достигает перехода П2 и перебрасывается его полем в базу р2. При этом концентрация дырок в базе р2, где они являются основными носителями заряда, увеличивается. Это приводит к уменьшению потенциального барьера перехода ПЗ и увеличению инжекции электронов из эмиттера п2 в базу р2 и т. д. В структуре развивается лавинообразный процесс увеличения тока (участок Оа на рис. 7.3, б), что аналогично наличию положительной обратной связи по току в системах автоматического управления.
При
эта связь вызывает лавинообразный процесс инжекции основных носителей из эмиттеров в базы. Резкое увеличение концентраций электронов в базе п1 и дырок в базе р2 приводит к быстрому уменьшению (практически до нуля) потенциального барьера смещенного в обратном направлении перехода П2 и к уменьшению падения напряжения на всей структуре
(см. рис. 7.3, а) и структура переходит в проводящее состояние.
Таким образом, линия ВАХ тиристора, соответствующая проводящему состоянию, имеет участок отрицательного сопротивления
— участок ab на рис. 7.3, б. На этом участке рост тока происходит при уменьшении падения напряжения на приборе. В результате проходящий через прибор ток установится
. Рабочим участком прямой ветви ВАХ является участок be, на котором все переходы смещены в прямом направлении, а падение напряжения на проводящем тиристоре лишь несколько больше падения напряжения на проводящем диоде.
Для выключения тиристора необходимо уменьшить значение прямого тока
до величины, меньшей или равной значению тока удержания
(точка d на рис. 7.3, б) или приложить к тиристору напряжение обратной полярности.
При изменении полярности напряжения внешнего источника переходы П1 и ПЗ смещаются в обратном направлении, а переход П2 остается смещенным в прямом направлении. Линия ВАХ тиристора, соответствующая непроводящему состоянию (обратная ветвь), имеет такой же вид, как ВАХ диода, смещенного в обратном направлении (участок Qe на рис. 7.3, б).
Рассмотренный режим работы является динисторным, поскольку в нем не используется управляющий электрод, а прибор при положительном анодном напряжении работает как неуправляемый переключатель.
Напряжение переключения
можно регулировать, если, например, в базу р2 ввести от внешнего источника
дополнительное количество носителей заряда за счет тока управления
(тринисторный режим).
Регулируя величину
, можно изменять уровень
, при котором возникает лавинообразный процесс размножения носителей заряда.
Наличие участка с отрицательным сопротивлением на ВАХ тиристора придает ему ряд важных достоинств. Чтобы переключить тиристор из закрытого состояния в открытое, достаточно пропустить через управляющий электрод относительно короткий (менее 100 мкс) импульс тока управления, после чего открытое состояние прибора поддерживается за счет действия внутренней положительной обратной связи. Поэтому тиристоры обладают очень высоким коэффициентом усиления мощности (до сотен тысяч).
В настоящее время отечественная промышленность серийно выпускает тиристоры на токи от 1...3 кА и напряжения до 5 кВ. При этом токи управления составляют в импульсе от одного до нескольких ампер.
Особенностью рассмотренного тиристора является то обстоятельство, что для его перевода из проводящего состояния в непроводящее необходимо каким-то образом уменьшить ток тиристора до значения тока удержания или приложить к прибору напряжение обратной полярности. Таким образом, тиристор является не полностью управляемым ключевым элементом, т.е. его можно включить по цепи управляющего электрода, а для выключения (и в первую очередь, в цепях постоянного тока) необходимо использовать дополнительные устройства, так называемые узлы принудительной коммутации.
В то же время в последнее десятилетие разработаны тиристоры, которые можно и включать и выключать по цепи управляющего электрода,— запираемые (GТО) тиристоры.
В отличие от обычного тиристора структура запираемого тиристора имеет высокую проводимость зоны управляющего электрода, что позволяет более эффективно блокировать протекание прямого тока через прибор по подаче на его управляющий электрод отрицательного относительно катода управляющего импульса. Кроме того, применение более совершенных технологий дало возможность обеспечить однородность электрических устройств отдельных слоев структуры и управлять временем жизни носителей заряда в процессе изготовления прибора.
Для включения и выключения запираемого тиристора используют два отдельных источника, при этом устройство управления тиристором должно обеспечивать мощные импульсы включающих и выключающих токов управления, значительную продолжительность включающего тока управления при малых анодных токах и необходимую продолжительность отрицательного импульса выключающего напряжения.
Для обеспечения допустимых режимов при включении запираемого тиристора в преобразователях электроэнергии его дополняют специальными устройствами (снабберами). Современные запираемые тиристоры рассчитаны на напряжение до 6 кВ и ток до 3 кА. Запирающий ток управления находится, как правило, на уровне 0,2...0,3 от выключаемого анодного тока.