Механическая система состоит из грузов 1 и 2, ступенчатого шкива 3 с радиусами ступеней R3 =0,3 м, r3 =0,1 м и радиусом инерции относительно оси вращения ρ3 =0,2 м, блока 4 радиуса R4 =0,2 м и катка (или подвижного блока) 5 (рис. Д4.0–Д4.9, табл. Д4); тело 5 считать сплошным однородным цилиндром, а массу блока 4 –равномерно распределенной по ободу. Коэффициент трения грузов о плоскость f =0,1. Тела системы соединены друг с другом нитями, перекинутыми через блоки и намотанными на шкив 3 (или на шкив и каток); участки нитей параллельны соответствующим плоскостям. К одному из тел прикреплена пружина с коэффициентом жесткости с.
Под действием силы
,зависящей от перемещения s точки ее приложения, система приходит в движение из состояния покоя; деформация пружины в момент начала движения равна нулю. При движении на шкив 3 действует постоянный момент М сил сопротивления (от трения в подшипниках).
Определить значение искомой величины в тот момент времени, когда перемещение s станет равным s1 =0,2 м. Искомая величина указана в столбце «Найти» таблицы, где обозначено:
,
,
– скорости грузов 1, 2 и центра масс тела 5 соответственно,
и
– угловые скорости тел 3 и 4.
|
|
|
Все катки, включая и катки, обмотанные нитями (как, например, каток 5 на рис. 1), катятся по плоскостям без скольжения.
На всех рисунках не изображать груз 2, если
; остальные тела должны изображаться и тогда, когда их масса равна нулю.
Указания. Задача Д4 – на применение теоремы об изменении кинетической энергии системы. При решении задачи учесть, что кинетическая энергия Т системы равна сумме кинетических энергий всех входящих в систему тел; эту энергию нужно выразить через ту скорость (линейную или угловую), которую в задаче надо определить. При вычислении T для установления зависимости между скоростями точек тела, движущегося плоскопараллельно, или между его угловой скоростью и скоростью центра масс воспользоваться мгновенным центром скоростей (кинематика). При вычислении работы надо все перемещения выразить через заданное перемещение s1,учтя, что зависимость между перемещениями здесь будет такой же, как между соответствующими скоростями.
Таблица Д4
| Номер условия | m1, кг | m2, кг | m3, кг | m4, кг | m5, кг | с, Н/м | М, Н·м | , H
| Найти |
| 1,2 |
| ω3 | |||||||
| С | 0,8 |
| v1 | ||||||
| 1,4 |
| v2 | |||||||
| 1,8 |
| ω4 | |||||||
| 1,2 |
| v1 | |||||||
| 200- | 1,6 |
| vC6 | ||||||
| 0,8 |
| ω3 | |||||||
| 1,5 |
| v2 | |||||||
| 1,4 |
| ω4 | |||||||
| 1,6 |
| vС5 |
Рис. Д4.0
|
Рис. Д4.1
|
Рис. Д4.2
|
Рис. Д4.3
|
Рис. Д4.4
|
Рис. Д4.5
|
Рис. Д4.6
|
Рис. Д4.7
|
Рис. Д4.8
|
Рис. Д4.9
|
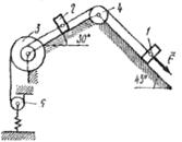
Пример Д4. Механическая система (рис. Д4, а) состоит из сплошного однородного цилиндрического катка 1, подвижного блока 2,ступенчатого шкива 3 с радиусами ступеней R3 и r3 и радиусом инерции относительно оси вращения ρ3, блока 4 и груза 5
|
|
|

Рис. Д4, а, б
(коэффициент трения груза о плоскость равен f). Тела системы соединены нитями, намотанными на шкив 3. К центру Е блока 2 прикреплена пружина с коэффициентом жесткости с;ее начальная деформация равна нулю.
Система приходит в движение из состояния покоя под действием силы F=f(s), зависящей от перемещения s точки ее приложения. На шкив 3 при движении действует постоянный момент Л1 сил сопротивления.
Дано: т1= 8кг, m2 =0, m3 =4 кг, m4 =0, m3 =10 кг, R3 =0,3 м, r3 =0,1 м, ρ3 =0,2 м, f =0,1, с =240 Н/м, М =0,6 Н·м,
, s1 =0,2 м.
Определить: ω3 в тот момент времени, когда s=s1.
Решение. 1. Рассмотрим движение неизменяемой механической системы, состоящей из весомых тел 1, 3, 5 и невесомых тел 2, 4, соединенных нитями. Изобразим действующие на систему внешние силы: активные
,
,
,
,
, реакции
,
,
,
, натяжение нити
, силы трения
,
и момент М.
Для определения ш3 воспользуемся теоремой об изменении кинетической энергии
. (1)
2. Определяем T0 и Т. Так как в начальный момент система находилась в покое, то T0 =0. Величина T равна сумме энергий веек тел системы:
(2)
Учитывая, что тело 1 движется плоскопараллельно, тело 5 – поступательно, а тело 3 вращается вокруг неподвижной оси, получим
;
,
(3)
Все входящие сюда скорости надо выразить через искомую ω3. Дли этого предварительно заметим, что
, где А – любая точка обода радиуса r3 шкива 3 и что точка К1 – мгновенный центр скоростей катка 1, радиус которого обозначим r1. Тогда
;
(4)
Кроме того, входящие в (3) моменты инерции имеют значения
;
. (5)
Подставив все величины (4) и (5) в равенства (3), а затем, используя равенство (2), получим окончательно
. (6)
3. Теперь найдем сумму работ всех действующих внешних сил при том перемещении, которое будет иметь система, когда точка С1 пройдет путь s1. Введя обозначения: s5 – перемещение груза 5
, φ3 – угол поворота шкива 3, λ0 и λ1 – начальное и конечное удлинения пружины, получим


;
;
.
Работы остальных сил равны нулю, так как точки K1 и К2, где приложены силы
,
и
–мгновенные центры скоростей; точки, где приложены
,
и
неподвижны; а реакция
перпендикулярна перемещению груза.
По условиям задачи λ0 =0. Тогда λ1= sE, где sE – перемещение точки E (конца пружины). Величины sE и φ3 надо выразить через заданное перемещение s1; для этого учтем, что зависимость между перемещениями здесь такая же, как и между соответствующими скоростями. Тогда, поскольку
(равенство
уже отмечалось), то и
.
Далее, из рис. Д4, б видно, что
, а так как точка K2 является мгновенным центром скоростей для блока 2 (он как бы «катится» по участку нити K2L), то
; следовательно, и
. При найденных значениях φ3 и λ1 для суммы всех вычисленных работ получим
. (7)
Подставляя выражения (6) и (7) в уравнение (1) и учитывая, что T0 =0, придем к равенству
. (8)
Из равенства (8), подставив в него числовые значения заданных величин, найдем искомую угловую скорость ω3. Ответ: ω3 =8,1 с-1.
Рис. Д4.0
Рис. Д4.1
Рис. Д4.2
Рис. Д4.3
Рис. Д4.4
Рис. Д4.5
Рис. Д4.6
Рис. Д4.7
Рис. Д4.8
Рис. Д4.9






