1. Оптимизация системы электроснабжения.
Совокупность электроустановок, которые предназначены для обеспечения электрической энергией различных потребителей, называется системой электроснабжения.
Система электроснабжения это комплекс инженерного оборудования и сооружений, которыми являются распределительные сети, трансформаторные подстанции, электрооборудование (системы наружного освещения, станки, насосы и др.).
Потребителями электрической энергии обычно являются электроприемник (агрегат, аппарат, или механизм, который предназначен для преобразования электрической энергии в другой вид энергии), либо группа электроприемников.
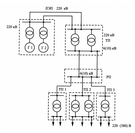
Вырабатываемая электростанциями электрическая энергия поступает к потребителям через систему взаимосвязанных передающих, распределяющих и преобразующих электроустановок. При этом передача электроэнергии происходит по воздушным сетям (линиям электропередачи) с напряжением 35, 110, 150, 220 кВ и до 1150 кВ по шкале номинальных напряжений, которая утверждена ГОСТом. Пример принципиальной схемы передачи и распределения электроэнергии в электрических сетях показан на рис. 1.

Рис. 1. Пример принципиальной схемы передачи и распределения
электроэнергии в электрических сетях
ТП -трансформаторные подстанции; Г1,Г2 -генераторы;
РП -распределительный пункт
Необходимо отметить, что электрическая энергия, которая вырабатывается генераторами электростанции, обычно имеющими номинальное напряжение 10-15 кВ, далее поступает в трансформаторы, где ее напряжение повышается обычно до 220 кВ. После этого эта электрическая энергия поступает на сборные шины открытой подстанции этой электростанции. Затем, при помощи ЛЭП, обычно напряжением 220 кВ, электрическая энергия поступает на шины 220 кВ понижающей подстанции, которая может быть связана с помощью ЛЭП также и с другими электростанциями.
На понижающей подстанции с помощью трансформаторов напряжение электрической энергии обычно понижается с 220 кВ до 6 или 10 кВ, причем с этим напряжением электрическая энергия поступает к распределительному пункту.
От распределительного пункта электрическая энергия поступает к подстанциям с силовыми трансформаторами, которые понижают напряжение обычно до 380 или 220 В, а далее эта электроэнергия поступает к потребителям.
Полная электрическая мощность, активная электрическая мощность и реактивная электрическая мощность. Полная электрическая мощность представляет собой максимальную мощность электрического тока, которая может быть использована потребителем электроэнергии. Активная электрическая мощность это мощность, отдаваемая при подключении к источнику тока (источнику электроэнергии) нагрузки, имеющей активное (омическое) сопротивление.
Электрическое сопротивление, например, электрической цепи равно отношению напряжения (U), приложенного к этой цепи, к току (I), протекающему по этой цепи. При большом сопротивлении электрической цепи, прилагаемое к ней напряжение будет большим, а ток маленьким, а при малом сопротивлении электрической цепи, прилагаемое к ней напряжение будет маленьким, а ток большим.
Если нагрузка имеет только активное сопротивление (лампы накаливания, нагревательные приборы), то активная мощность будет равна полной мощности. Полная мощность непосредственно связана с активной и реактивной мощностями. Полная электрическая мощность равна:
S=U х I х cоs f.
Коэффициент активной мощности (cоs f) представляет собою отношение активной мощности к полной мощности.
Чем больше индуктивность или емкость включенного в электрическую сеть потребителя, тем большая доля полной мощности приходится на ее реактивную составляющую. С увеличением индуктивности или емкости нагрузки коэффициент активной мощности уменьшается и величина фактически используемой активной мощности снижается.
Приведем пример расчета коэффициента активной мощности (cоs f).
cоs f = Р (активная мощность в Вт) / S (полная мощность в В . А).
Например, cоs f= 16000 Вт/ 20000 В . А = 0,8.
Обычно значение cоs f указано в технических характеристиках конкретного потребителя электрической энергии.
Непроизводительные потери электроэнергии и мероприятия по сокращению этих потерь. Работа системы электроснабжения связана с наличием непроизводительных потерь электроэнергии, причем в ряде случаев эти потери составляют 10-20 %. В связи с постоянным ростом тарифов на электроэнергию целесообразен для потребителей выбор технологий, устройств или оборудования, которые позволят снизить эти потери.
Следует отметить, что поставщику электроэнергии не важно, что часть активной мощности преобразуется у потребителя в реактивную мощность и поэтому процент эффективного использования потребителем электроэнергии этой электроэнергии существенно уменьшается. Реактивная мощность (потери электроэнергии) наряду с активной мощностью учитывается поставщиками электроэнергии и следовательно подлежит оплате по действующим тарифам, причем составляет значительную часть счета за электроэнергию (в ряде случаев эти потери составляют 10-20 %).
При эксплуатации электрооборудования обычно возникают у потребителей существенные потери активной мощности. Это происходит в результате использования потребителями электроэнергии в промышленности и сельском хозяйстве неэффективного по своей конструкции электрического оборудования, причем даже у лучших образцов этого оборудования, а именно электродвигателей насосов, вентиляторов и компрессоров, различных станков, сварочного оборудования и другого оборудования, имеющего высокую индуктивную или емкостную составляющию мощности (индуктивную или емкостную нагрузку) с низким соs f. Кроме того, например, при прямом пуске асинхронного электродвигателя, большой пусковой ток вызывает резкое снижение напряжения в электрической сети, что приводит к увеличению скольжения остальных работающих электродвигателей.
Следует отметить, что имеются и потребители электроэнергии (например, лампы накаливания, нагревательные приборы), которые не имеют потерь активной мощности, а имеют только активную нагрузку с соs f=1.
Примеры соs f у различного электрооборудования.
Асинхронные электродвигатели - соs f=0,8.
Асинхронные электродвигатели при неполной загрузке (частом холостом ходе) - соs f=0,5.
Сварочные трансформаторы - соs f=0,4.
Мероприятия по сокращению непроизводительных потерь электроэнергии необходимы следующие:
1. Выявление мест наибольшего значения потерь электроэнергии у потребителей.
2. Анализ причин повышенных потерь электроэнергии в этих местах.
3. Определение путей уменьшения этих потерь.
4. Выполнение необходимых мероприятий для сокращения непроизводительных потерь электроэнергии.
Компенсация реактивной мощности. Необходима компенсация, причем выполняемая самими заинтересованными в этом потребителями, реактивной мощности ими у себя, что гарантированно позволит им повысить процент использования активной мощности, а значит снижать свои потери и соответственно снижать потребление энергоносителей.
Для улучшения качества работы электрической сети применяются, как нерегулируемые устройства компенсации реактивной мощности, так и регулируемые устройства компенсации реактивной мощности, причем у каждого устройства (УКРМ) имеются свои сферы применения.
Нерегулируемые устройства компенсации реактивной мощности.
К нерегулируемым устройствам компенсации реактивной мощности относятся следующие устройства:
- БСК (батареи статических конденсаторов);
- реакторы;
- ФКУ (фильтрокомпенсирующие устройства);
- УПК (устройства продольной компенсации).
Регулируемые устройства компенсации реактивной мощности.
К регулируемым устройствам компенсации реактивной мощности относятся следующие устройства:
- УБСК (УФКУ) – управляемые батареи статических конденсаторов или управляемые фильтрокомпенсирующие устройства;
- ТУР (тиристорные управляемые регуляторы);
- СТК (статические тиристорные компенсаторы);
- активные фильтры (статические компенсаторы реактивной мощности с возможностью фильтрации высших гармонических составляющих тока.
Необходимо отметить, что основным нормативным показателем поддержания в электросети, причем как в целом в электросети, так и в ее отдельных узлах нагрузки, баланса активной мощности, является частота переменного тока и уровень напряжения, симметрия фаз. Поэтому необходимо применение дополнительного источника (устройства компенсации реактивной мощности), который будет осуществлять периодические накопления электроэнергии с последующим возвратом ее в сеть.
БСК (батареи статических конденсаторов). Следует отметить, что их применение приводит к появлению в электрической сети высших гармонических составляющих (ВГС), в результате чего могут возникать резонансные явления на одной из частот ВГС, что сокращает срок службы батареи статических конденсаторов. Поэтому их применение в электрических сетях, где имеются электрические приемники с нелинейными характеристиками неэффективно. Их целесообразно применять для индивидуальной компенсации реактивной мощности электроприемников, которые значительно удалены от электропитания. Подключаются параллельно нагрузке.
Реакторы. Эти устройства обычно применяются для компенсации емкостной (зарядовой) реактивной мощности в высоковольтной линии при передаче электроэнергии на большие расстояния и представляют интерес только для МРСК и. т. д.
ФКУ (фильтрокомпенсирующие устройства). Эти устройства представляют собой усовершенствованные БСК (батареи статических конденсаторов), благодаря дополнительному включению в схему реактора, который включен последовательно батарее статических конденсаторов. При этом реактор выполняет функцию настройки колебательного контура «БСК – реактор – внешняя сеть» на заданную частоту и функцию ограничения токов включения. Эти функции позволяет использовать ФКУ в электрических сетях с высоким содержанием ВГС (высших гармонических составляющих), причем осуществлять фильтрацию ВГС в электросети. Подключаются параллельно нагрузке.
УПК (устройства продольной компенсации). Эти устройства отличаются схемой установки, а именно тем, что конденсаторные батареи подключаются последовательно нагрузке, а не параллельно, как во всех остальных устройствах. Эти устройства используются в основном на ЛЭП, причем использование их экономически эффективно только на вновь сооружаемых объектах. Подключаются последовательно нагрузке.
УБСК (УФКУ) – управляемые батареи статических конденсаторов или управляемые фильтрокомпенсирующие устройства имеющие несколько ступеней регулирования. Эти устройства перспективны для использования в паре с автономными генерирующими установками (ДГУ и т. д.). Необходимо отметить, что их отличие состоит в том, что управляемые конденсаторные установки более эффективны при наличии переменной нагрузки. Если нагрузка, например, изменяется в течение суток, то оптимальный режим может поддерживаться с помощью этих устройств. Подключаются параллельно нагрузке.
ТУР (тиристорные управляемые регуляторы) и СТК (статические тиристорные компенсаторы). Эти устройства обычно используются там, где имеются жесткие требования к стабильности напряжения и его качеству, например, на городских и тяговых подстанциях. При этом тиристорные управляемые регуляторы генерируют индуктивную составляющую, а статические тиристорные компенсаторы индуктивную и емкостную составляющие. Недостатком этих устройств является их высокая стоимость. Подключаются параллельно нагрузке.
Активные фильтры (статические компенсаторы реактивной мощности с возможностью фильтрации высших гармонических составляющих тока). Они обладают свойствами такими же, как и у всех ранее описанных устройств. Эти устройства перспективны для использования. Подключаются параллельно нагрузке.
Технические средства компенсации реактивной мощности у электрооборудования потребителей обычно включают в себя соответствующее электрооборудование, в том числе позволяющее и снизить несимметрию фаз. В качестве основных способов коммутации в устройствах компенсации реактивной мощности обычно применяются устройства управляемые реле (управляемые конденсаторные установки) и управляемые тиристорами (управляемые конденсаторные установки).
Применение тиристорного управления обеспечивает высокое быстродействие работы КУ, отсутствие бросков тока в момент коммутации, и уменьшает старение конденсаторов.
Коммутация конденсаторов в управляемых конденсаторных установках обычно происходит в момент нулевого напряжения.
Пример дефектов трехфазного напряжения, связанных с высокой реактивной мощностью у электрооборудования потребителя электроэнергии показан на рис. 2.

Рис. 2. Пример дефектов трехфазного напряжения, связанных с высокой реактивной мощностью у электрооборудования потребителя электроэнергии
Необходимо отметить, что при выборе мест установки конденсаторных установок необходимо стремиться к подключению их под общий коммутационный аппарат с электроприемником потребителя электрической энергии, чтобы избежать дополнительных затрат на дополнительный аппарат.
В конденсаторных установках необходимо наличие фильтров высших гармоник (снижающих помехи и защищающих конденсаторы).
Реактивная мощность, которая может быть скомпенсирована, соответствует той мощности, которая указана в паспорте установки, а также должен быть указан шаг компенсации (минимальная величина приращения, на которую изменяется емкость включенных конденсаторов).
Следует отметить, что конденсаторные установки необходимо ставить при эксплуатации на обслуживание, например, силами местных электриков предприятия (это электрооборудование обычно находится в их зоне ответственности), что несколько снизит их экономическую эффективность.
Необходимо также отметить, что конкретные технические решения по внедрению конденсаторных установок для компенсации реактивной мощности можно разрабатывать и реализовывать исходя из анализа конкретных технических заданий.
Частотно-регулируемый электропривод. Как уже отмечалось, значительной эффективности при организации энергоснабжения на современном инновационном уровне можно достичь при использовании энергосберегающего регулируемого электропривода с преобразователями частоты. При этом на асинхронных низковольтных либо синхронных высоковольтных двигателях расход энергии сокращается до 50 %. Возможно регулирование скорости двигателя как в диапазоне от близкой к нулю до номинальной, так и выше номинальной. Увеличивается срок службы двигателя и приводного механизма, достигается мягкий, программируемый пуск двигателя. Улучшается технологический процесс и качество продукции, появляется возможность автоматизации и управления от АСУ ТП, сокращаются трудозатраты при эксплуатации привода и др.
К областям применения подобных приводов относятся:
насосы (от подкачек до магистральных);
компрессоры, воздуходувки, вентиляторы систем охлаждения, тягодутьевые вентиляторы котлов;
рольганги, конвейеры, транспортеры и другие транспортировочные устройства;
дробильное оборудование, мешалки, экструдеры;
центрифуги различных типов;
линии производства металлического листа, пленки, картона, бумаги и др.;
буровое оборудование (от насосного до спускоподъемного); устройства откачки нефти из скважин (станки-качалки, погружные насосы и др.);
краны (от тельферов до мостовых);
металлообрабатывающие станки, пилы, прессы и другое технологическое оборудование.
В качестве примера приведем использование преобразователя частоты на приводе водозаборной станции. В этом случае до 50 % сокращается расход электроэнергии за счет автоматического поддержания необходимого давления воды при изменении объема потребления, в 2 — 3 раза увеличивается срок службы двигателя, приводного механизма и электрокоммутационных устройств благодаря исключению пусковых перегрузок по току, гидравлических ударов при пуске электродвигателя. Увеличивается срок службы трубопроводов, сокращается расход воды из-за уменьшения потерь при избыточном давлении, сокращаются трудозатраты при эксплуатации в связи с увеличением межремонтных периодов электропривода.
Повышение эффективности и надежности энергоснабжения при использовании тиристорных преобразователей частоты для синхронных высоковольтных электродвигателей объясняется следующими причинами:
один преобразователь может быть использован для поочередного или группового пуска нескольких электроприводных агрегатов с синхронными двигателями;
пуск двигателя осуществляется плавно с токами меньше номинального значения, что не приводит к перегреву поверхности ротора, ударным механическим воздействиям на обмотки статора. Вследствие этого обеспечивается значительное увеличение ресурса двигателя;
отсутствие ограничений по числу частотных пусков электроприводного агрегата с синхронным двигателем от тиристорного преобразователя частоты. Экспериментально подтверждена возможность 15 пусков в течение одного часа серийных двигателей и более 2 000 пусков в течение одного года без какого-либо ремонта ротора или статора;
остановка электроприводного агрегата за счет рекуперативного электрического торможения обеспечивает возврат электроэнергии в питающую сеть;
реализация режима стационарной точной синхронизации электроприводного агрегата с питающей сетью гарантирует надежное переключение двигателя в сеть без бросков тока и механических ударов;
снижение требований к высоковольтной линии, питающей предприятие, поскольку при пуске очередного электроприводного агрегата не происходит посадки напряжения в линии (пусковой ток в 5 —10 раз меньше по сравнению с реакторным);
мощность тиристорного преобразователя частоты, используемого для пуска разгруженного двигателя, составляет 20... 30 % номинальной мощности электроприводного агрегата, что предопределяет высокие технико-экономические показатели.
Эффективность использования тиристорных преобразователей частоты в составе частотно-регулируемого электропривода с синхронными двигателями определяется не только перечисленными выше факторами, но и значительной экономией электроэнергии и расширением технологических возможностей, особенно в тех случаях, когда требуется большой диапазон регулирования частоты вращения электроприводного агрегата.
Целесообразен для потребителей выбор этих устройств, которые позволят снизить потери электроэнергии, которые в ряде случаев составляют до 20 %.
2. Выбор электрооборудования по экономическим критериям
Одним из способов повышения надежности работы электрооборудования является его правильный выбор. При выборе электрооборудования электроприводов необходимо учитывать: мощность необходимую для привода рабочей машины; исполнение электродвигателя; модификацию электродвигателя; устройство защиты электродвигателя.
В связи с массовостью применения электроприводов даже незначительные погрешности выбора, в конечном счете, приводят к огромному суммарному ущербу.
В настоящее время предлагаемые методики выбора электрооборудования предписывают строго рассчитывать их энергетические параметры. При этом особенности рабочих машин и условий эксплуатации учитываются приближенно. Это было оправдано на первом этапе развития электрификации, но сейчас, при возросших требованиях к электроприводу, требуется учитывать большое число факторов и связей.
Предлагаемая методика оптимального комплектования электроприводов может быть использована для выбора не регулируемых по частоте вращения асинхронных электродвигателей серии "4А" и аппаратуры управления ими. Кроме этого электродвигатели не должны иметь особых требований к пуску и торможению. Эта методика не заменяет рекомендации по выбору электрооборудования, предложенные в книгах:
- Мартыненко И. Н., Тищенко Л. Н. Курсовое и дипломное проектирование по комплексной электрификации и автоматизации.-М.:Колос, 1978.
- Проектирование комплексной электрификации/Под ред. Л. Г.Прищеп.-М:Колос 1983.
- Система ППРЭсх.-М.:Агропромиздат, 1987.
А дополняет их за счет учета более широкого круга факторов.