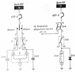
Электросхема управления выпуском-уборкой закрылков показана на рис. 14. Управление выпуском-уборкой закрылков от основной гидросистемы производится электрогидравлическим краном 8 (ГА163/16) при помощи нажимного переключателя 5, установленного на центральном пульте. Управление выпуском закрылков от аварийной гидросистемы производится электрогидравлическнм краном 248 (ГА192) при помощи сдвоенного выключателя 244.
Электрические цепи управления краном 8 автоматически разрываются концевыми выключателями 6, 7 при крайних положениях закрылков. Электроцепь управления краном 248 при крайнем выпущенном положении закрылков разрывается концевым выключателем 246. Концевые выключатели установлены в механизме МКВ-2А на заднем лонжероне центроплана справа.
Конденсаторы 2493 предупреждают подгар контактов переключателя 5, а диод 3118 – подгар контактов выключателя 244.
При включении аварийной системы выпуска закрылков выключателем 244 электропитание одновременно подается на включение аварийного элетроприводного насоса НС-14.

Рис. 14. Электросхема управления закрылками






