· Расход жидкости в трубке тока:
а) объемный расход
;
б) массовый расход
, где S – площадь поперечного сечения трубки тока; υ – скорость жидкости;
– ее плотность.
· Уравнение неразрывности струи:
,
где S 1 и S 2 – площади поперечного сечения трубки тока в двух местах; υ 1 и υ 2 –соответствующие скорости течений.
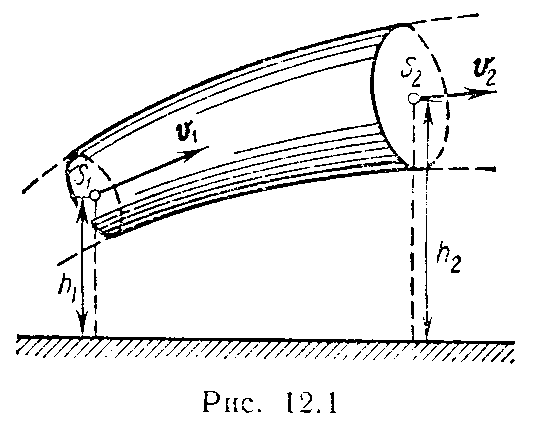
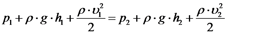
· Уравнение Бернулли для идеальной несжимаемой жидкости в общем случае
,
где p 1 и p 2 – статические давления жидкости в двух сечениях трубки тока; υ 1 и υ 2 –скорости жидкости в этих сечениях;
и
– динамические давления жидкости в этих же сечениях; h 1и h 2 – высоты их над некоторым уровнем;
и
– гидростатические давления.
· Скорость течения жидкости из малого отверстия в открытом широком сосуде:
,
где h— глубина, на которой находится отверстие относительно уровня жидкости в сосуде.
· Формула Пуазейля. Объем жидкости (газа), протекающей за время t через длинную трубку:
,
где r — радиус трубки; l – ее длина; Δ p – разность давлений на концах трубки; η – динамическая вязкость (коэффициент внутреннего трения) жидкости.
|
|
|
· Число Рейнольдса для потока жидкости в длинных трубках:
,
где < υ > – средняя по сечению скорость течения жидкости; d – диаметр трубки,и для движения шарика в жидкости:
,
где υ – скорость шарика; d— его диаметр.
Число Рейнольдса Re есть функция скорости v тела, линейной величины l, определяющей размеры тела, плотности
и динамической вязкости η жидкости, т. е.
.
При малых значениях чисел Рейнольдса, меньших некоторого критического значения
, движение жидкости является ламинарным. При значениях
движение жидкости переходит в турбулентное.
Критическое число Рейнольдса для движения шарика в жидкости
; для потока жидкости в длинных трубках
.
· Формула Стокса. Сила сопротивления F, действующаясо стороны потока жидкости на медленно движущийся в ней шарик:
,
где r – радиус шарика; υ – его скорость.
Формула справедлива для скоростей, при которых число Рейнольдса много меньше единицы (
.






